2. 中国气象科学研究院雷电物理与防护工程实验室,北京 100081
2. Laboratory of Lightning Physics and Protection Engineering, Chinese Academy of
雷击风力发电机的物理过程和防护是一个受到学术界和工程部门关注的新课题。由于风力发电机多处于开阔地区或者位置相对较高处,在风力发电机及其扇叶上易激发上行先导,因此其遭受雷击的事故较多,造成的经济损失严重。近年来,风力发电机功率逐渐增大,其高度不断增高,甚至高达150 m左右,遭受雷击的概率亦明显增加。随着风力发电机在世界各地的广泛应用,对于风力发电机遭受雷击时的危害以及所应采取防护措施的研究逐渐成为雷电研究的一项重要内容[1-5]。国内外对此已经进行了一些研究,通过实际观测资料总结归纳了风力发电机易遭受雷击的部位及其原因,并提出了针对性的防护措施,以解决雷击风力发电机时地电位抬升、电流过大、瞬态过电压等原因所引起的故障和损失[6-17]。但由于风力发电机遭受雷击的特殊性,认识风力发电机遭受雷击的规律特点十分重要。2006年Sakurano等[18]对日本海海岸上的Uchinada风电厂2003-2005年风力发电机及其避雷塔遭受雷击情况进行统计,得出顺风向时避雷针保护效率较高,并发现在观测到的叶片遭受雷击的12次事件中,有11次的雷击角 (指处于第1象限叶片偏离垂直轴的角度) 介于15°~47.6°范围,雷击位于±15°之间的叶片的可能性很小,但作者没有给出产生这种现象的原因。Nakamura等[19]在文献[18]基础上利用2003-2008年统计资料讨论了风力发电机遭受雷击时闪电峰值电流、陡度以及电荷与能量等问题。实验室试验因其具有可重复性,是研究风力发电机雷击规律的重要方法,但只能通过按比例缩小的模型进行试验。2009年洪华芳等[20]在实验室内对风力发电机叶片遭受雷击进行模拟试验,得出置于叶片尖部的接闪器能有效拦截雷电的直接闪击。Radicevic等[21]则将一个功率为2 MV的大型风力发电机以33.3:1的比例缩小成试验模型,在高电压实验室进行模拟试验以分析扇叶转动的情况下空中放电特点。这些野外观测与试验数据的分析,为风力发电机的防护提供了基础。由于观测和试验数据存在一定局限性,数值模拟方法则可以进行大量的模拟并对结果进行统计,从而研究其特点及其所基于的物理基础。在数值模拟研究中,Romero等[22]建立一个考虑了接地系统以及闪电多次回击因素的风力发电机电气模型,探讨了接地阻抗大小以及地电流特点。Rodrigues等[23]、Paolone等[24]、王晓辉等[25]通过数值模拟研究了雷击情况下风力发电机塔体雷击暂态响应及接地阻抗系统的变化[22-23, 25]。Peesapati等[26]采用有限元法对雷暴云下的风力发电机进行整体三维数值模拟,得出随着雷暴云高度降低,风力发电机遭受雷击概率增大,解释了冬季风力发电机雷灾事故较多的原因。由于风力发电机高度较高,在雷暴云产生的强电场中不仅可以自身激发产生向上的先导而导致闪电的发生,也常常被下行先导击中,因此研究闪电先导与风力发电机的相互作用对加深认识风力发电机雷击规律和特点具有重要意义。
本文在任晓毓等[27-28]二维随机模式的基础上,对风力发电机遭受雷击的情况进行模拟分析。着重通过统计下行梯级先导水平偏移不同位置以及风力发电机扇叶转动不同角度时,闪电击中各个扇叶、地面以及架彀的概率分布,研究在下行先导作用下,上行先导产生情况以及其背景电场变化情况,对风力发电机遭受雷击的特点进行初步探讨。
1 先导的二维随机模式及模拟试验设计 1.1 二维先导随机模式数值模拟过程包括对下行梯级先导的初始设定,并使其不断向下发展接近地面,导致地面或者风力发电机表面电场畸变并达到击穿场强,产生1个或者多个上行先导。最后当两者不断发展接近并发生连接时,则认为发生1次闪击,模拟结束。
考虑到研究对象自身的特性 (风力发电机的高度,先导通道随机发展现象),此处选取闪电先导二维随机模式进行模拟。任晓毓等[27]在2011年对闪电先导二维随机模式进行验证,模拟发现下行梯级通道发展过程中具有明显的分叉现象,且距离地面越近分叉现象越明显,与实际观测研究[29]相符,且通道内电荷量及感应电荷线密度分布情况亦与余晔等[30]、郑栋等[31]的研究结果一致。由此可见,采用先导随机模式进行模拟工作具有一定的可行性。
本研究选取模拟区域为1600 m×1600 m,采用分辨率为10 m×10 m的格点,对背景电场即离散的161×161个网格格点进行计算 (图 1a)。由于观测表明雷暴云下电场强度随高度增加,因此,假定地面上方1600 m范围内的空间背景电场随着高度的增加而呈线性增加,电场由地面向上以0.1 kV/m的增长系数增加,取地面及地面导体构筑物的电势为0 V,地面的背景电场为10 kV/m,下行梯级负先导初始电势恒定,为常数值-40 MV。下行先导、风力发电机以及地面之间满足Dirichlet边界条件,空气的边界条件则满足第二类边界条件,模拟区域内的空间电位均满足泊松方程。
|
|
| 图 1. 风力发电机遭受雷击模拟模型 (a) 二维随机模式的空间结构示意,(b) 风力发电机简化模型 Fig 1. The simulation model of lightning striking the wind turbine (a) schematic frame diagram of the 2-D random lightning leader model, (b) simplified model of the turbine | |
地面上风力发电机架彀高度设定为110 m,扇叶长度为45 m (图 1b)。由于风力发电机额定功率工作状态下转速为26 r/min,而下行梯级先导的速度为105 m/s量级[32-34],因此在闪电梯级先导向下发展过程中风力发电机可近似看作静止。
在此基础上,由超松弛迭代法计算出模拟区域内各个格点上的电场值,即下行梯级先导不断向下发展时的背景电场。如图 2所示,实心圆点代表下行梯级先导已发展点,空心圆则代表下一步的待发展点。下行梯级先导下一步的发展点以及上行正先导的始发与发展均采用概率随机方法来选取。
|
|
| 图 2. 先导随机发展示意图 Fig 2. Schematic of leader random propagation | |
先导通道判断下一步发展点的概率为
|
(1) |
式 (1) 中,Ei为每一个待发展点电场值,Eth为正负先导传播开始的电场值。
1.2 模拟试验设计工作中的风力发电机处于不断随机转动状态,此处假定风力发电机扇叶顺时针旋转,将处在第1象限内的叶片称为1号扇叶,姿态角i定义为1号扇叶相对于垂直轴的偏转角,则一个偏转角对应一种叶片姿态, 即一种风力发电机静止状态。当对风力发电机静止模拟时,可根据空间对称性将其大致分为如下5种基本状态 (图 3):基本状态1,i=0°;基本状态2,i=15°;基本状态3,i=30°;基本状态4,i=45°;基本状态5,i=60°。当扇叶姿态角i=75°时,与基本状态4对称,不列为基本状态。
|
|
| 图 3. 风力发电机模型基本状态划分 Fig 3. Basic conditions divided according to the turbine model | |
2 模拟试验结果 2.1 下行先导的初始位置与雷击概率关系
在1600 m×1600 m空间内,对下行初始先导由不同位置始发击中风力发电机的情况进行模拟分析。假定风力发电机处于基本状态1,且其水平位置处于x=400处,此时下行先导相对初始位置偏左或偏右时的模拟具有对称性,因此可仅选取偏右状态,对下行梯级负先导水平偏移风力发电机距离分别为0(正上方), 200 m, 300 m, 400 m以及500 m时5种情况分别进行模拟100次并进行统计,结果见表 1。
|
|
表 1 不同先导初始位置时雷击概率 (P) 变化 Table 1 Different values of P varying with horizontal distance between the initial downward leader and the turbine |
当下行先导初始位置水平偏移风力发电机距离不断增大,雷击风力发电机的概率随之减小。偏移距离为0时,模拟得到雷击风力发电机概率最高,约100%,且均击中1号扇叶。偏右200 m击中概率仍较高,但依次偏右300, 400, 500 m时,雷击风力发电机概率则迅速减小,且下行先导向地面发展过程中易激发产生多个上行先导,2号扇叶以及地面成为雷击点的概率增大。在偏右500 m的情况下,雷击地面的概率趋近于96%。考虑到模拟时对空间电场的依赖性,此处可以推测随着水平位置相距增大,风力发电机作为地面上一个显著突起物,对空间电场的影响逐渐减小。
2.2 风力发电机叶片姿态与雷击概率的关系与其他高大建筑物相比较而言,风力发电机还有一个不容忽视的自身特点,即3片长达几十米的扇叶并不断转动,对空间电场分布有一定影响。下面对风力发电机扇叶与下行梯级先导之间的相互影响进行分析。在分析过程中,考虑到下行先导平均下行速度是叶片转动线速度的4000倍以上,将转动的扇叶视为静止,对风力发电机所处的5种基本姿态分别进行探讨。
2.2.1 不同叶片姿态下风机的雷击特点假定下行梯级负先导相对风力发电机水平偏移距离为0(即处于风力发电机正上方时),对风力发电机处于5种基本状态时分别进行100次模拟,统计可得到模拟空间内各点雷击概率 (图 4)。
|
|
| 图 4. 模拟空间内各点雷击概率 Fig 4. P of different possible striking points in the modeling space | |
由图 4可见,当下行梯级先导由风力发电机正上方不断向下发展时,97.6%击中风力发电机,其中90%的概率击中1号扇叶,7.6%的概率击中3号扇叶。击中地面的概率较低,仅为0.8%。与Peesapati等[26]利用有限元法对风力发电机三维数值模拟结果一致,表明扇叶是风力发电机最易遭受雷击的构件之一。这是由于尖端突起周围的电场强度远远大于平板周围的电场强度,相对于空间其他区域甚至要高出1个量级以上[35],更有利于满足上行先导始发条件。
2.2.2 不同姿态下雷击风机特性的差异性当下行梯级先导不断向下发展时,将会引起风力发电机或者地面其他位置产生一个或者多个上行正先导,且风力发电机处于不同基本状态时上行正先导的各自发展特点不同。
假定下行梯级负先导处于风力发电机正上方,对风力发电机处于各种不同基本状态时分别进行100次模拟,得到各个扇叶上所产生的上行先导长度。
如图 5所示,每个状态的数据都由1个盒须图表示,共由3条横线和2条竖线组成,第1条横线表示数组中的3/4截取处,第2条横线表示数组中的中间值,第3条横线表示数组中的1/4截取处。符号▽表示99%截取处,视为最大值;△表示1%截取处,视为最小值;●表示平均值;×则表示奇异值,即与数值的整体分布有异,但为了作为参考,更好地分析数组,亦在此表示出来。
|
|
| 图 5. 风力发电机不同状态时上行先导长度变化情况 Fig 5. The length of the upward leader initiated from the turbine in different condition | |
结合风力发电机不同状态时上行先导长度变化情况图 (图 5) 以及扇叶不同角度时相应上行先导长度平均值表 (表 2),分析可知,当风力发电机扇叶转动角度处于30°~60°时,在下行梯级先导作用下,扇叶上产生的上行先导长度较长,且当转动角度为45°时,上行先导长度最长,高出平均值10.3%。
|
|
表 2 扇叶不同角度时产生上行先导长度平均值 Table 2 Average value of the upward leader in different conditions |
相应地,可以取风力发电机处于基本状态1(i=0°) 和基本状态4(i=45°) 两种状态时,分析随着下行先导不断接近地面时上行正先导始发与发展过程。
图 6中散点是分别以x, y为对应坐标表示的50次模拟结果,表示的是上行先导发展长度随下行梯级先导不断向下发展时 (由下行先导距离地面高度来表示) 的变化情况。
|
|
| 图 6. 上行先导长度随下行先导距离地面高度的变化情况 Fig 6. The length of upward leader as the downward leader propagates toward the ground | |
分析表明,当风力发电机转动45°时,上行先导发生较早,且发展过程中长度增大较快 (斜率变化)。
2.2.3 扇叶之间的竞争关系由于下行梯级先导不断向下发展接近地面过程中,风力发电机各个扇叶附近均可导致局部电场畸变,影响雷击点的选取,表现出一定的竞争性。此处选取风力发电机基本状态1与基本状态4两种状态,并分析其相应的下行梯级先导发展状况及背景电场变化情况。
当风力发电机扇叶处于姿态1时 (对应风力发电机基本状态1),模拟结果发现最后一跳连接点为1号扇叶,且2号与3号扇叶上均未产生上行连接先导。当风力发电机处于基本状态4,下行先导达到一定高度时,1号与3号扇叶尖端均产生上行正先导,并随着下行先导逐渐接近而不断发展,导致先导头部及扇叶附近明显的电场畸变。最终,闪电击中3号扇叶。由此可见,基本状态1时1号扇叶产生上行先导具有独特的优势条件,在基本状态4时1号扇叶和3号扇叶的竞争关系可以从先导的发展路径、扇叶附近电场分布以及最后一跳的连接表现出来。
在此基础上,对下行先导水平偏移风力发电机左侧200 m且风力发电机扇叶分别处于姿态1与姿态2时的两个状态进行模拟,各统计50次,结果表明:当风力发电机处于基本状态1时,雷击点100%落在1号扇叶上;当风力发电机处于基本状态4时,雷击点86%落在1号扇叶上,其余14%落在3号扇叶上。且随着下行梯级先导空间起始位置水平偏移距离的增大,这种竞争越来越明显。
2.3 不同叶片姿态下风机的自然雷击概率的估计 2.3.1 自然雷击概率的估计风力发电机遭受自然雷击的事件具有随机性,主要表现在3个方面:① 梯级先导通道自身的发展具有随机性;② 下行先导出现的空间初始位置具有随机性,即每次雷击时下行梯级先导相对于风力发电机轴向的水平偏移距离随机改变;③ 风力发电机姿态随机,即风力发电机处于不断转动的状态,当雷击发生时,1号扇叶顺时针转动时可能处于0°~120°任何一种状态。
人们在实际雷暴天气条件下观测得到的某种叶片姿态下雷击风机事件对应的闪电下行先导初始位置均随机变化,为了分析不同叶片姿态下雷击概率 (称之为自然雷击概率),对先导距离风力发电机水平距离不同且风力发电机处于不同状态时的雷击概率进行模拟统计。
假定下行梯级负先导相对风力发电机分别水平偏右0 m、偏右300 m、偏右500 m、偏左300 m以及偏左500 m情况下,对风力发电机分别处于5种基本状态共25种情况分别进行100次模拟,统计结果见表 3。
|
|
表 3 状态不同、偏移距离不同时雷击概率分布 Table 3 Distribution of P and Ps considering different condition |
分析表明,当下行梯级先导相对于风力发电机水平偏右300 m及偏左300 m以内时,扇叶处于15°~45°之间所遭受的雷击概率差别不大,当偏右500 m时可发现其雷击概率明显增大。综合以上各种情况 (偏左、偏右不同距离时扇叶转动不同角度) 可知,当风力发电机转动不同角度时遭受雷击概率如图 7所示。
|
|
| 图 7. 风力发电机扇叶不同角度时叶片雷击概率 Fig 7. P of the turbine blade with different condition | |
其中,当风力发电机处于基本状态4时,雷击概率较大,为25.8%,其次分别为基本状态3时, 为23.5%;基本状态2时, 为23.0%;基本状态1时, 为22.5%;基本状态5时最低, 为20%。此结果与2006年Sakurano等[18]对日本海岸风力发电机场的雷击事件的统计相吻合。
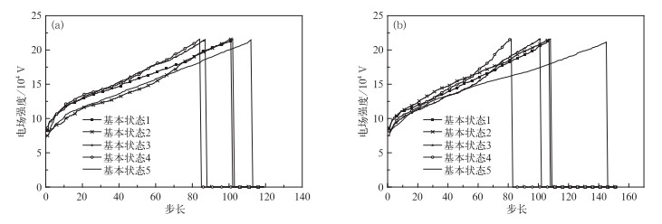
2.3.2 扇叶尖端处电场随时间变化根据统计可知,风力发电机扇叶处于姿态3与姿态4时,自然雷击概率偏高。为了进一步研究在同一背景条件下,风力发电机处于不同状态时雷击概率变化的物理原因,假定下行先导初始位置相对于风力发电机水平位置偏右300 m与500 m两种情况,分别对每种情况下风力发电机处于各基本状态时1号扇叶尖端处电场强度的变化情况进行分析。
由图 8可知, 当下行梯级先导偏右300 m时,各状态初始场强相差不大,但随着下行梯级先导不断接近,基本状态3、基本状态4情况下扇叶头部场强整体相对于基本状态1偏大,电场值大小较为相近且增长较快,基本状态1与基本状态2电场值初始相差较大,最终大小相近。当下行梯级先导偏右500 m时,基本状态4时的电场变化明显较快,值较大。且基本状态1、基本状态2、基本状态3之间相差并不大,区别并不明显。与2.3.1节中的概率分析具有一致性。由此可见,当风力发电机处于15°~45°时,遭受雷击危害的概率较大。
|
|
| 图 8. 下行先导偏移不同位置时,各基本状态时对应1号扇叶尖端处电场变化曲线 (a) 偏右300 m, (b) 偏右500 m Fig 8. Changing curves of the electric field intensity near the tip of the No.1 blade under different condition when the downward leader is 300 meters (a) or 500 meters (b) horizontal from the turbine | |
3 结论与讨论
本文以大型风力发电机为研究对象,对当其处于1600 m×1600 m的空间内时遭受雷击的情况进行了数值模拟分析,初步得到以下结论:
1) 随下行梯级先导距离风力发电机水平距离的增大,风力发电机遭受雷击的概率逐渐由偏移0 m时的100%减少至偏移500 m时的4%,趋近于0。
2) 当下行梯级先导初始位置位于风力发电机正上方时,空间各点 (扇叶、地面、塔架等) 遭受雷击概率各不相同,其中,风力发电机扇叶遭受雷击概率最高,为97.6%。
3) 当风力发电机处于基本状态3与基本状态4时,上行先导长度整体较其他状态偏长,分别比各个状态的平均值高出5.8%,10.3%。当风力发电机处于基本状态4时,向上正先导初始形成较早,且发展过程中增长较快。
4) 下行梯级先导不断向下发展时,各个扇叶间具有竞争关系,风力发电机处于基本状态4时竞争比较明显。当下行梯级先导相对于风力发电机水平偏右300 m以及偏左300 m以内时,扇叶处于15°~45°之间所遭受的雷击概率差别不大,当偏右500 m时雷击概率明显增大。
5) 当风力发电机扇叶处于15°~45°时,遭受雷击危害的概率较大。
本文采用二维数值模式进行模拟,分辨率为10 m×10 m,空间网格相对较粗,对于三维空间内下行先导相对始发位置的选取以及叶片几何形态对附件电场畸变影响的考虑还存在一定的局限性。今后的工作将进一步建立闪电先导三维自持数值模式,结合实际情况细化格点,研究影响闪电先导发展的因素以及发展过程中上行、下行先导间的相互作用。
| [1] | Rodrigues R B, Mendes V M F, Catalao J P S, et al. An investigation over the lightning location system in Portugal for wind turbine protection development. IEEE Transactions on Power Delivery, 2010, 25, (2): 870–875. DOI:10.1109/TPWRD.2009.2037325 |
| [2] | Rodrigues R B, Mendes V M F, Catalao J P S, et al. Analysis of the thunderstorm activity in Portugal for its application in the lightning protection of wind turbines. IEEE Latin America Transactions, 2009, 7, (5): 519–526. DOI:10.1109/TLA.2009.5361188 |
| [3] | Sarajcev P. Assessment of Lightning Stroke Incidence to Modern Wind Turbines. 2010 International Conference on Telecommunications and Computer Networks (SoftCOM), 2010: 97–101. |
| [4] | Wang D, Takagi N, Watanabe T, et al.Observed Characteristics of the Lightning Striking on a Windmill and Its Lightning-Protection Tower.Proceedings of 29th International Conference on Lightning Protection (ICLP), 2008. |
| [5] | Rachidi F, Rubinstein M, Smorgonskiy A. Lightning protection of large wind-turbine blades. Green Energy and Technology, 2012: 227–241. |
| [6] | Yamamoto K, Yanagawa S, Yamabuki K, et al. Analytical surveys of transient and frequency-dependent grounding characteristics of a wind turbine generator system on the basis of field tests. IEEE Transactions on Power Delivery, 2010, 25, (4): 3035–3043. DOI:10.1109/TPWRD.2010.2043748 |
| [7] | Madsen S F, Larsen F M, Hansen L B, et al. Breakdown Tests of Glass Fibre Reinforced Polymers (GFRP) as Part of Improved Lightning Protection of Wind Turbine Blades. Conference Record of 2004 IEEE International Symposium on Electrical Insulation, 2004: 484–491. |
| [8] | Manikandan P, Rajamani M P E, Subburaj D P, et al. Design and Analysis of Grounding Systems for Wind Turbines Using Finite Element Method. 2011 International Conference on Emerging Trends in Electrical and Computer Technology (ICETECT), 2011: 148–153. |
| [9] | Rodrigues R B, Mendes V M F, Catalao J P S. Direct Lightning Surge Analysis in Wind Turbines Using Electromagnetic Transients Computer Program. International Conference on Computer as a tool (EUROCON), 2011: 1–4. |
| [10] | Glushakow B. Effective lightning protection for wind turbine generators. IEEE Transactions on Energy Conversion, 2007, 22, (1): 214–222. DOI:10.1109/TEC.2006.889622 |
| [11] | Rachidi F, Rubinstein M, Montanya J, et al. A review of current issues in lightning protection of new-generation wind-turbine blades. IEEE Transactions on Industrial Electronics, 2008, 55, (6): 2489–2496. DOI:10.1109/TIE.2007.896443 |
| [12] | Ametani A, Yamamato K. A Study of Transient Magnetic Fields in a Wind turbine Nacelle. Asia-Pacific International Symposium on Electromagnetic Compatibility (APEMC), 2010: 1201–1204. |
| [13] | Yanagawa S, Natsuno D, Yamamoto K. A Measurement of Transient Grounding Characteristics of a Wind Turbine Generator System and Its Considerations. 7th Asia-Pacific International Conference on Lightning (APL), 2011: 401–404. |
| [14] | Elmghairbi A, Ahmeda M, Harid N. A Technique to Increase the Effective Length of Horizontal Earth Electrodes and Its Application to a Practical Earth Electrode System. 7th Asia-Pacific International Conference on Lightning (APL), 2011: 690–693. |
| [15] | Peesapati V, Cotton I, Sorensen T, et al. Lightning protection of wind turbines-a comparison of measured data with required protection levels. Renewable Power Generation, IET, 2011, 5, (1): 48–57. DOI:10.1049/iet-rpg.2008.0107 |
| [16] | Ahmed M R, Ishii M. Electromagnetic Analysis of Lightning Surge Response of Interconnected Wind Turbine Grounding System. International Symposium on Lightning Protection (XI SIPDA), 2011: 226–231. |
| [17] | Zoro R, Purwadi A. The Use of Wind Turbine Structure for Lightning Protection System. International Conference on Electrical Engineering and Information (ICEEI), 2011: 1–6. |
| [18] | Sakurano H, Hashimoto M, Nakamura K. Observation of Winter Lightning Striking a Wind Power Generation Tower and a Lightning Tower. 28th International Conference on Lightning Protection, 2006: 1522–1526. |
| [19] | Nakamura K, Sakurano H. Observation of Winter Lightning Striking a Wind Power Generation Tower (a Lightning Tower) and Its Statistical Analysis. 29th International Conference on Lightning Protection, 2008: 1–4. |
| [20] | 洪华芳, 周歧斌, 边晓燕. 风力发电机叶片的雷击损伤与雷电保护. 华东电力, 2009, 37, (10): 1778–1781. |
| [21] | Radicevic B M, Savic M S. Experimental research on the influence of wind turbine blade rotation on the characteristics of atmospheric discharges. IEEE Transactions on Energy Conversion, 2011, 26, (4): 1181–1190. DOI:10.1109/TEC.2011.2162240 |
| [22] | Romero D, Montany J, Candela A.Behaviour of the Wind-Turbines under Lightning Strikes Including Nonlinear Grounding System.Proceedings of the International Conference on Renewable Energies and Power Quality (ICREPQ), 2004. |
| [23] | Rodrigues R B, Mendes V M F, Catalao J P S. Electromagnetic Transients Due to Lightning Strikes on Wind Turbines:A Case Study. MELECON 2010—2010 15th IEEE Mediterranean Electrotechnical Conference, 2010: 1417–1422. |
| [24] | Paolone M, Napolitano F, Borghetti A, et al. Models of Wind-Turbine Main Shaft Bearings for the Development of Specific Lightning Protection Systems. 2007 IEEE Lausanne Power Tech, 2007: 783–789. |
| [25] | 王晓辉, 张小青. 风电机组塔体的雷电暂态计算模型. 系统仿真学报, 2009, 21, (16): 4998–5001. |
| [26] | Peesapati V, Cotton I. Lightning Protection of Wind Turbines-a Comparison of Real Lightning Strike Data and Finite Element Lightning Attachment Analysis. International Conference on Sustainable Power Generation and Supply, 2009: 1–8. |
| [27] | 任晓毓, 张义军, 吕伟涛, 等. 闪电先导随机模式的建立与应用. 应用气象学报, 2011, 22, (2): 194–202. DOI:10.11898/1001-7313.20110208 |
| [28] | 任晓毓, 张义军, 吕伟涛, 等. 雷击建筑物的先导连接过程模拟. 应用气象学报, 2010, 21, (4): 450–457. DOI:10.11898/1001-7313.20100408 |
| [29] | 张义军, 吕伟涛, 郑栋, 等. 负地闪先导-回击过程的光学观测和分析. 高电压技术, 2008, 34, (10): 2022–2029. |
| [30] | 余晔, 郄秀书, 袁铁. 雷暴云下地闪先导通道中的电荷分布. 高原气象, 2002, 21, (4): 375–380. |
| [31] | 郑栋, 张义军, 吕伟涛, 等. 先导-回击模型与人工触发闪电特征参数计算. 中国电机工程学报, 2006, 26, (23): 151–157. DOI:10.3321/j.issn:0258-8013.2006.23.027 |
| [32] | 李俊, 张义军, 吕伟涛, 等. 一次多回击自然闪电的高速摄像观测. 应用气象学报, 2008, 19, (4): 401–411. DOI:10.11898/1001-7313.20080403 |
| [33] | 李俊, 吕伟涛, 张义军, 等. 一次多分叉多接地的空中触发闪电过程. 应用气象学报, 2010, 21, (1): 95–100. DOI:10.11898/1001-7313.20100113 |
| [34] | 张义军, 周秀骥. 雷电研究的回顾和进展. 应用气象学报, 2006, 17, (6): 829–834. DOI:10.11898/1001-7313.20060619 |
| [35] | 杨耀, 孙杰, 陈徐, 等. 利用Matlab研究尖端导体附近的电场特征及其应用. 信息通信, 2011, (5): 7–8. |
2013, 24 (5): 585-594



