2. 中国石油和化学工业联合会非常规油气钻完井技术重点实验室;
3. 胜利油田分公司石油工程技术研究院
2. China Petroleum Chemical Industry Federation Key Laboratory of Drilling & Completion Technologies on Unconventional Oil & Gas;
3. Petroleum Engineering Technology Research Institute, Shengli Oilfield Company, SINOPEC
0 引言
水平井广泛用于开发胜利油田薄油层的剩余油,这些油层已经进入注水开发中后期,边底水十分活跃。受水平井“跟趾效应”和油藏非均质性的影响,油藏无法向水平井均衡供液,地层水极易从投产段单点率先突破,导致产液含水率迅速上升,严重影响采收率和开发经济效益。为解决上述问题,熊友明等[1]首次将变孔密筛管作为一种水平井控流完井方法。
变孔密筛管的基管孔密小于标准值(180孔/m),它可在泄流强度过大的井段引入适当的控流压降,起到均衡泄流剖面的作用,孔密越小则控流能力越强。不同井深筛管的基管孔密沿整个水平井投产段呈梯度分布,因此称为变孔密筛管。变孔密筛管属于一种流入控制器(ICD),与其他类型ICD[2]相比,如贝克休斯Spiral ICD、哈里伯顿EquiFlow ICD和斯伦贝谢ResFlow ICD,变孔密筛管不易堵塞,更适合井下恶劣生产环境。到目前为止,变孔密筛管已成功应用于流花油田[3]、红河油田[4]和番禺气田[5]。
合理的变孔密筛管完井设计方案可有效均衡泄流剖面,延缓底水突破时间,降低产液含水率。但人们普遍认为控流压降仅由基管孔眼引起[6-8],而忽略了管外储层砂堆积层和挡砂材料这2个因素。如果以此为基础进行方案设计,为达到要求的控流压降,孔密通常被设计得过小,导致在实际使用时控流能力过大。
为获得合理方案设计,采用室内评价试验[9-11]方法,模拟胜利油田LXA102断块目标井的井下生产环境,全面考虑变孔密筛管产生控流压降的3个因素,测试控流压降随孔密和流体流量的变化规律,记录试验结果并绘制成图版,以便指导LXA102断块目标井的变孔密筛管完井方案设计。
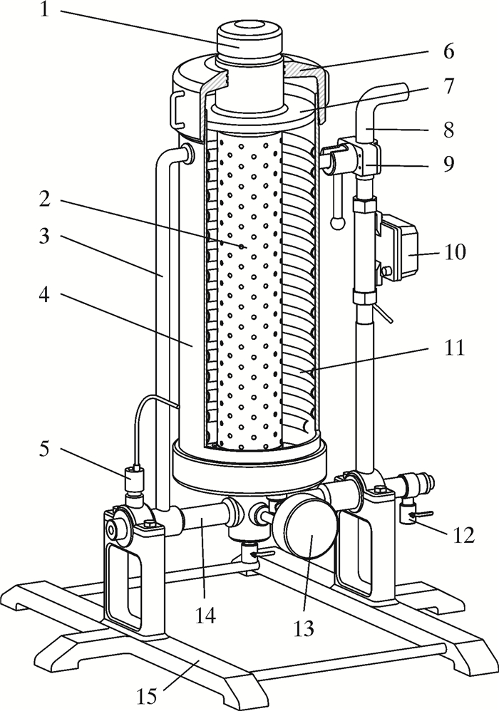
1 室内评价试验 1.1 试验装置用试验装置模拟水平井严重出砂的井下生产环境,试验装置如图 1所示。
|
| 图 1 试验装置 Fig.1 Test device 1—测试样件堵头;2—测试样件;3—进液管;4—测试装置主体;5—压力计;6—密封盖;7—挡砂盘;8—出液管;9—锁止装置;10—流量计;11—径向流导向器;12—液样采集球阀;13—压差计;14—旋转轴;15—支撑架。 |
测试样件被安装于试验装置主体中心位置;径向流导向器引导试验流体径向流向测试样件;流体流量由流量计自动测量,并可调整为规定值;装置主体可沿旋转轴放倒为水平状态,以便模拟水平井井筒内的流场。
压差计测量样件外表面和内部的压差;压力计测量进液管内部流压,如果忽略试验流体在进液管和径向流导向器内的沿程摩阻,则可认为压力计读数为装置主体内壁处的压力;出液管出口处的压力为大气压,如果忽略试验流体在出液管内的沿程摩阻,则可认为压力计读数为筛管内部与装置主体内壁之间的压差,即由筛管样件产生的控流压降。
1.2 测试样件测试样件如图 2所示。筛管样件在装置主体中安装之后,在样件外部环空松散填充人工配置的试验砂;基管样件(即打孔基管),管外未包覆挡砂材料,在装置主体中安装之后,无需填充试验砂。
|
| 图 2 测试样件 Fig.2 Test sample 1—基管;2—支撑网;3—挡砂材料;4—外保护套;5—A型螺钉;6—B型螺钉。 |
筛管样件的基管和基管样件有相同的外径和打孔长度,孔密180孔/m。在所有孔眼上加工螺纹,可配合图 3所示螺钉,其中A型螺钉有10 mm的通孔,B型螺钉则没有通孔,通过配合使用A型和B型螺钉,可方便地调整样件的孔密。样件内径足够大,可徒手或借助简单工具快速拆装螺钉。
|
| 图 3 用于调整孔密的螺钉 Fig.3 Screws for adjusting the hole density |
1.3 基础数据
选定LXA102-P7井为应用变孔密筛管完井的目标井,所在油层为LXA102断块沙二下55小层,其地质平面图如图 4所示。目标油层北倾,倾角7°~10°,四面被断层切割,剩余油富集区位于被南界断层封闭的油藏构造高部位,其基础数据为:地层原油黏度135.0 mPa·s、密度1.05 g/cm3,地层水黏度0.55 mPa·s、密度0.91 g/cm3,综合含水质量分数85.5%。
|
| 图 4 LXA102断块沙二下55小层井网部署和水淹状况 Fig.4 Well pattern and water out conditions of the 55 layer of the Sha2 formation of Block LXA102 |
基于原油黏度、地层水黏度和平均含水率,将目标油层产液平均黏度定为20 mPa·s。使用粒度分析法分析LXA102断块典型井位岩心,获得储层砂粒度分布,如图 5所示。
|
| 图 5 LXA102断块储层砂粒度分布 Fig.5 The reservoir sand size distribution of the Block LXA102 |
LXA102-P7井开发剩余油如图 4所示,其投产段长度205 m,使用变孔密筛管完井,筛管基管外径139.7 mm(5 
根据上述基础数据确定试验参数,如表 1所示,以便模拟井下真实工况,从而指导LXA102断块目标井的变孔密筛管完井方案设计。将基管孔密和试验流体流量作为试验变量,划分出多个等级,研究样件控流压降如何受试验变量影响。
| 试验参数 | 数值 |
| 筛管样件的基管外径/mm | 139.7 |
| 基管样件外径/mm | 139.7 |
| 筛管样件挡砂精度/μm | 85 |
| 试验流体流量等级/(L·h-1) | 9、12、15、18 |
| 筛管样件打孔长度/m | 0.7 |
| 基管样件打孔长度/m | 0.7 |
| 试验流体黏度/(mPa·s) | 20.0 |
| 基管模拟孔密等级/(孔·m-1) | 15、20、25、30、35、40、45、50 |
1.4 测试流程 1.4.1 筛管样件
(1) 根据图 5储层砂粒度分布配置试验砂。
(2) 配置黏度为20 mPa·s的羧甲基纤维素钠溶液作为试验流体。
(3) 在筛管样件所有基管孔眼上安装A型螺钉,将样件安装于装置主体中央,样件外部环空填充试验砂。
(4) 使用大排量泵以1 200 L/h的流量循环试验流体,使得试验砂颗粒在最短时间内运移至稳定状态:部分试验砂堆积在样件外部,另一部分镶嵌进入样件挡砂材料,剩下的部分随试验流体进入样件内部。当压力计读数稳定后,关泵停止循环。
(5) 将基管上部分A型螺钉替换为B型螺钉,将孔密调整为50孔/m,使用小排量泵以9 L/h的流量循环,当压力计读数稳定5 min以上时,读取并记录压力计读数。
(6) 将试验流体流量提升至表 1中规定的更高等级,不改变基管孔密,重复步骤(5)。当完成所有流体流量等级的测试后,即完成1组试验。
(7) 将更多的A型螺钉替换为B型螺钉,模拟表 1中规定的更小孔密等级,重复步骤(5)和(6),完成下一组试验,直至完成所有组的试验为止。
1.4.2 基管样件(1) 将装置主体清洗干净,安装基管样件,不充填试验砂;
(2) 参照筛管样件试验步骤,完成所有孔密等级和所有试验流体流量等级的测试。
1.5 试验结果不同流体流量下,样件控流压降随孔密变化曲线如图 6所示。将该图作为制定合理孔密的设计图版。图中的控流压降即为压力计的读数,其中,筛管样件控流压降来自管外储层砂堆积层、挡砂材料和基管孔眼,而基管样件控流压降仅来自于基管孔眼。在孔密和流量相同条件下,基管样件控流压降等于由筛管样件的基管孔眼引起的压降。
|
| 图 6 试验结果 Fig.6 Test results |
试验结果表明:筛管样件控流压降大于基管样件,即由基管孔眼引起的压降只占筛管样件控流压降的小部分;筛管样件控流压降受孔密影响。孔密影响控流压降的本质可由图 7和图 8解释说明。
|
| 图 7 筛管样件控流压降组成分析 Fig.7 The pressure drop composition analysis on the screen sample flow control |
|
| 图 8 筛管样件控流原理 Fig.8 The flow control principle of the screen sample |
以15 L/h流量为例,进一步定量描述筛管样件各部分控流压降组成,如图 7所示。其中,测压点1代表筛管样件的总压降,测压点2代表由挡砂材料和基管孔眼引起的压降,测压点3代表由基管孔眼引起的压降,测压点3的数据等于且来自于基管样件控流压降。压降主要产生在测压点1与测压点2之间,其次在测压点2与测压点3之间。测压点1与测压点2之间的流动介质为储层砂堆积层,测压点2与测压点3之间的流动介质为被细砂粒部分堵塞的挡砂材料,流体在这2种介质中的流动形式为渗流,其流动阻力较大。基管孔眼本身产生的压降(测压点3和x轴之间)很小,除非孔密很小(如仅为0.2孔/m),否则可忽略不计。
从图 8可知,筛管样件的基管孔眼本身并不产生明显压降,但起到有效调节渗流流场的作用,即如果孔密较大,油层产液基本沿径向通过渗流介质,经孔眼直接流入筛管内部;而小孔密迫使油层产液在渗流介质内沿轴向和周向多流动一段距离,直到找到附近孔眼才能进入筛管内部,渗流距离加长则显著提高压降。
2 控流参数设计根据基础数据,预估LXA102-P7井在投产后1 a内的平均产液量为69.2 m3/d。根据分段控流完井方案设计方法[12-14],使用管外封隔器分隔LXA102-P7井投产段为3个小投产井段,如图 9所示。并设计了各小投产井段的合理配产液量和合理控流压降,如表 2所示。表中L表示筛管基管打孔段总长度,Q表示合理配产液量,Δp表示合理控流压降,ρ孔表示设计孔密。
|
| 图 9 水平井变孔密筛管完井 Fig.9 Horizontal well varied perforated premium screen completion |
| 井深/m | 投产井段 | L/m | Q/(m3·d-1) | Δp/MPa | ρ孔/(孔·m-1) |
| 2 430~2 473 | 控流井段1 | 30.7 | 17.2 | 0.49 | 23 |
| 2 489~2 541 | 控流井段2 | 38.4 | 21.1 | 0.37 | 26 |
| 2 557-2 635 | 常规投产井段 | 53.8 | 30.9 | 0.00 | 180 |
根据表 2中筛管基管打孔段总长度和合理配产液量换算出对应的试验流体流量,并结合合理控流压降,在图 6中绘制数据点,读出对应的孔密,即设计出各个投产井段的合理孔密,如表 2中第6列所示。
3 现场应用情况根据生产测井资料解释得到LXA102-P7井投产后1 a的产油和产液剖面,并将其与邻井LXA102-P2井(常规精密滤砂管完井)进行对比,如图 10所示。从图可见,LXA102-P2井跟端部位产水量过大,导致跟端部位产油量和趾端部位产液量被明显抑制,LXA102-P7井泄流剖面比LXA102-P2井更加均衡,表明变孔密筛管完井有效改善了泄流剖面,充分发挥了各部位油藏的泄油潜力。以开井1 a为期限,LXA102-P7井与LXA102断块5口邻井生产情况对比如表 3所示。
|
| 图 10 LXA102-P7井和LXA102-P2井泄流剖面对比 Fig.10 Drainage profile comparison of Well LXA102-P7 and LXA102-P2 |
| 井号 | 开发油层 | 累计产油量/m3 | 平均产液含水质量分数/% | 备注 |
| LXA102-P7 | 沙二下55小层 | 4 089.0 | 77.3 | 目标井 |
| LXA102-P9 | 沙二下52小层 | 2 998.1 | 84.6 | 邻井 |
| LXA102-P8 | 沙二下51小层 | 3 011.6 | 88.0 | 邻井 |
| LXA102-P6 | 沙二下52小层 | 3 480.1 | 84.5 | 邻井 |
| LXA102-P5 | 沙二下51小层 | 3 218.8 | 83.9 | 邻井 |
| LXA102-P2 | 沙二下55小层 | 3 581.3 | 85.2 | 邻井 |
由表 3可见,LXA102-P7井累积产油量高于邻井500 m3以上,产液含水质量分数低于邻井5%以上,表明变孔密筛管完井有效改善了目标井的生产动态。到目前为止,变孔密筛管已在东辛油田、垦西油田、王家岗油田和临盘油田成功应用25井次,单井年产油量相比邻井平均提升838.2 m3,年产液含水质量分数平均降低7.2%。
4 结论(1) 应用试验装置评价了筛管样件和基管样件的控流特性,修正了控流压降仅由基管孔眼本身产生的错误观点,揭示了孔眼影响控流压降的本质:孔密和流量相同条件下,筛管样件控流压降明显大于基管样件,且对孔密和流量更加敏感;筛管样件控流压降主要产生于管外储层砂堆积层和挡砂材料,油层产液在这2种介质中的流动形式为渗流;孔眼本身并未产生明显压降,而是起调节渗流流场的作用,小孔密迫使油层产液在进入筛管内部之前,在渗流介质内流动更长距离,从而明显提高压降。
(2) 根据试验结果,设计了LXA102断块LXA102-P7井的合理变孔密筛管完井方案。以开井1 a为期对比邻井,应用该方案后,LXA102-P7井累积产油量提升500 m3以上,产液含水质量分数降低5%以上,其生产动态和开发经济效益明显提高。
(3) 试验测试结果仅适于目标区块应用井位的方案设计,如果计划将变孔密筛管完井应用于其他区块,则需要针对新区块重新试验,试验的设计、准备和运行环节,建议以笔者的研究内容为模板。要求试验参数尽量贴合目标区块的物性参数和目标井位的施工参数,以便获得合理的孔密设计图版,保证变孔密筛管的应用效果。
| [1] | 熊友明, 罗东红, 唐海雄, 等. 延缓和控制底水锥进的水平井完井新方法[J]. 西南石油大学学报(自然科学版), 2009, 31(1): 103–106. |
| [2] | BIRCHENKO V M, MURADOV K M, DAVIES D R, et al. Reduction of the horizontal well's heel-toe effect with inflow control devices[J]. Journal of Petroleum Science and Engineering, 2010, 75(½): 244–250. |
| [3] | 熊友明, 刘理明, 唐海雄, 等. 延缓和控制水平井底水脊进的均衡排液完井技术[J]. 石油钻探技术, 2011, 39(4): 66–71. |
| [4] | 王德安, 何青, 李国锋, 等. 红河油田水平井梯级筛管完井优化设计研究[J]. 重庆科技学院学报(自然科学版), 2013, 15(2): 85–88. |
| [5] | 李林, 陶彬, 冯缙, 等. 番禺油田多管齐下的稳油控水措施[J]. 化工设计通讯, 2016, 42(3): 31. |
| [6] | 王金忠, 肖国华, 陈雷, 等. 水平井管内分段调流控水技术研究与应用[J]. 石油机械, 2011, 39(1): 60–61, 84. |
| [7] | 许兰兵, 杨景辉, 马宁, 等. 应用梯级筛管抑制水平井底水锥进研究[J]. 科学技术与工程, 2011, 11(26): 6298–6302. DOI: 10.3969/j.issn.1671-1815.2011.26.012 |
| [8] | SHAN W Y, ZHANG X. The research for delaying the bottom water coning in horizontal wells application balance screen pipe[J]. Advanced Materials Research, 2013, 734: 1480–1483. |
| [9] | CHANPURA R A, FIDAN S, MONDAL S, et al. Advancements in screen testing, interpretation and modeling for standalone screen applications[R]. 143731, 2011. |
| [10] | LEE J, AHN T, LEE J Y, et al. Laboratory test to evaluate the performance of sand control screens during hydrate dissociation process by depressurization[C]//Tenth ISOPE Ocean Mining and Gas Hydrates Symposium. International Society of Offshore and Polar Engineers, 2013. |
| [11] | CHEN Y, WANG S, DENG G, et al. A new test apparatus for evaluating premium screen performance[J]. Advances in Petroleum Exploration and Development, 2016, 11(1): 30–34. |
| [12] | MINULINA P, AL-SHARIF S, ZEITO G A, et al. The design, implementation and use of inflow control devices for improving the production performance of horizontal wells[C]//SPE International Production and Operations Conference & Exhibition. Society of Petroleum Engineers, 2012. |
| [13] | 陈阳, 彭志刚, 郭立强, 等. 水平井均衡供液完井静态控流参数设计[J]. 石油钻采工艺, 2014(6): 45–49. |
| [14] | BOL L V D, MCCARTY A, PRITCHETT J, et al. ICD design optimisation with single-well dynamic 3D modelling and real-time operation support[C]. International Petroleum Technology Conference, 2016. |

