0 引 言
随着油田开发时间的延长,地下亏空不断增大,地层压力系数变小,洗井过程中地层出现漏失不返液现象,产量恢复期长,地质状况差。冀东油田油层埋藏深,井斜大,皮碗封隔器胶皮与井筒摩擦严重,容易损坏,难以有效封隔油套环空。Y221型封隔器旋转坐封对油管连接螺纹有损伤,Y441型封隔器的双向卡瓦长期锚定,打捞解卡比较困难。
为了解决防污染封隔器存在的“瓶颈”问题,提升封隔器的安全性和可操作性,提高低压油井检泵和洗井等措施后的采油时率,研制了大斜度井悬挂防污染采油配套管柱及工具。该管柱通过JDY445液压丢手封隔器与侧进液阀的配合,可使井筒内流体无法进入地层,地层流体可通过侧进液阀的侧进液孔,流经封隔器的中心管到达井筒,原油通过生产管柱举升采出进入地面系统,从而达到油层保护的目的。
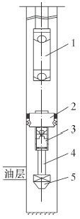
1 大斜度井悬挂防污染管柱 1.1 结构大斜度井悬挂防污染管柱主要由JDY445液压丢手封隔器、侧进液阀、尾管和丝堵等组成[1, 2],其结构示意图如图1所示。
|
| 图1 大斜度井悬挂防污染管柱示意图 Fig.1 Schematic diagram for hanging anti-pollution string in high angle deviated wells 1—抽油泵;2—JDY445液压丢手封隔器;3—侧进液阀;4—尾管;5—丝堵。 |
将丝堵、尾管、侧进液阀、JDY445液压丢手封隔器及液压双级坐封工具自下而上用油管连接送至设计深度,油管正加压坐封封隔器并实现丢手,验封合格后起出液压双级坐封工具及以上丢手管柱,再下入抽油泵及配套生产管柱即可投产。
正常生产时,井筒内的流体无法进入地层,油层内流体通过侧进液阀的侧进液孔,流经封隔器的中心管到达井筒,原油再通过生产管柱举升采出进入地面系统。如地层有少量地层砂或垢,则液体携带的砂及垢可经过侧进液阀的沉砂通道落到尾管内,尾管起到了一定沉砂和沉垢的作用。
当需要洗井时,由于受到封隔器和侧进液阀中单流阀的密封作用,洗井液无法进入地层,只能进入泵筒内返出地面,防止了入井液污染地层,实现了油层保护。
1.3 主要技术指标适用于ø139.7 mm套管井,主要工具外径114 mm,坐封压力15 MPa,丢手压力20~25 MPa,工作压差35 MPa,工作温度135 ℃。
2 主要配套工具 2.1 JDY445液压丢手封隔器 2.1.1 结构
|
| 图2 JDY445液压丢手封隔器结构示意图 Fig.2 Structure diagram of JDY445 hydraulic releasing packer 1—坐封球座;2—打捞头;3—锁套;4—中心管;5—O形密封圈;6—销钉;7—上锥体;8—锁块;9—锁环;10—卡瓦套;11—卡瓦;12—箍环;13—下锥体;14—端胶筒;15—中胶筒;16—隔环;17—下接头。 |
JDY445液压丢手封隔器带坐封工具下井,坐封时,油管内液体在坐封球座的作用下,液压力推动坐封工具的坐封活塞下行,随着液压力上升,坐封销钉被剪断,锁套下行带动上锥体锥开卡瓦,同时向下压缩胶筒,实现封隔器的坐封和锚定,锁环与锁套相互啮合并锁紧;液压力继续上升,丢手销钉被剪断,坐封工具与封隔器脱开,压力突降,套管返水;当封隔器需要解封时,上提管柱剪断打捞头与中心管之间的解封销钉,锁块失去约束脱开,继续上提一定距离后打捞头带动锁套及上锥体上行,锚定机构双向脱开解卡,同时胶筒失去支撑上行,实现解封。
2.1.3 主要技术特点(1)JDY445液压丢手封隔器是一种双向锚定、液压工具坐封、上提油管解封的压缩式封隔器,其结构简单,坐封稳定,解卡力小,操作安全,适用于ø139.7 mm套管井。
(2)封隔器下接头外径大,可扶正并在管柱下井时保护封隔器,以免胶筒受损,防止中途坐封。
(3)打捞头设计有内捞和外捞的螺纹,采用常规的打捞矛和打捞筒上提管柱解卡后均可实现打捞,解卡方便可靠。
2.1.4 主要技术参数外径114 mm,内通径62 mm,坐封压力15 MPa,丢手压力20~25 MPa,解封载荷55 kN,工作压差35 MPa,工作温度135 ℃。
2.2 液压双级坐封工具 2.2.1 结构液压双级坐封工具主要由上中心管、上接头、上活塞套、O形密封圈、连接帽、坐封活塞、下中心管、下活塞套、下接头和坐封外套等组成,其结构如图3所示。
|
| 图3 液压双级坐封工具结构示意图 Fig.3 Structure diagram of hydraulic two-stage setting tool 1—上中心管;2—上接头;3—上活塞套;4—O形密封圈;5—连接帽;6—坐封活塞;7—下中心管;8—下活塞套;9—下接头;10—坐封外套。 |
液压双级坐封工具与JDY445液压丢手封隔器一起下井,在油管内高压液体的推动下,中心管上行,双级坐封活塞下行,继而带动活塞套和上接头下行,活塞套下行一定距离后,封隔器完成坐封及锚定;继续加压,坐封工具与封隔器脱开实现丢手。
2.2.3 主要技术特点(1)该工具结构设计独特,中心管与上接头脱节式设计,在高压液体作用下,中心管及活塞套可分别向上、向下移动,继而带动上、下胶筒座双向压缩胶筒,使封隔器实现双向坐封,不仅提高了封隔器的双向承压能力,而且坐封更可靠,工作时间更长。
(2)该工具采用双级活塞坐封,占用空间小、行程长,坐封力大,施工简单可靠,并能重复使用,增强了封隔器密封的可靠性。
(3)封隔器完成坐封后,继续加压坐封工具油套连通,压力突降或套管返水,可以此判断封隔器丢手是否成功。
2.2.4 主要技术参数外径114 mm,内通径40 mm,工作压差35 MPa,工作温度135 ℃。
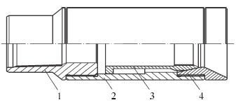
2.3 侧进液阀侧进液阀主要由上接头、扶正阀罩、分流体球座和下接头等组成,其结构如图4所示。侧进液阀具有2个特点:一是侧向进液,阀球不易砂卡;二是球及球座受阀罩保护,避免阀球被砂埋。分流体球座上有侧向进液孔,地层流体通过侧进液阀的侧进液孔进入分流体球座内孔,推动球座内的钢球向上移动,流经阀罩的径向出液孔,穿过扶正阀罩到达油管,再途经封隔器内中心管,继而到达井筒内,地层流体通过抽油泵返出地面。
|
| 图4 侧进液阀结构示意图 Fig.4 Structure diagram of side liquid inlet valve 1—上接头;2—扶正阀罩;3—钢球;4—分流体球座;5—O形密封圈;6—下接头。 |
专用打捞筒主要由上接头、打捞套、打捞爪和导向头组成,其结构如图5所示。
|
| 图5 专用打捞筒结构示意图 Fig.5 Structure diagram of dedicated fishing socket 1—上接头;2—打捞套;3—打捞爪;4—导向头。 |
当专用打捞筒下至封隔器鱼顶位置,落鱼被引入捞筒内,只要施加一定的轴向压力,卡瓦被胀大,落鱼进入卡瓦,上提钻具,卡瓦沿筒体内锥面相对下行,卡瓦直径缩小,使卡瓦抓紧落鱼;释放落鱼时,只要下压钻具,将卡瓦放松,解封打捞筒即可;如果打捞后无法起出,可通过正转油管实现二次丢手,避免了大修作业风险,施工安全可靠。
3 现场应用2015年初,大斜度井悬挂防污染管柱已经在冀东油田现场应用5口井。防污染管柱下入安全可靠,封隔器坐封、丢手、验封一次性合格,应用情况如表1所示。现场应用结果表明,封隔器密封性能良好,锚定安全可靠,封隔器坐封位置最大井斜52°,最大井深2 926.36 m,解决了低压油井检泵、洗井和清蜡等措施作业后产量恢复周期长、封隔器密封不严以及解卡打捞困难等问题,提高了作业过程的安全性,有效保护了油层[6, 7, 8]。
| 井 号 | 最大井斜/(°) | 人工井底/m | 封隔器下深/m | 坐封位置井斜/(°) | 作业前/后含水恢复期/d |
| L90-64 | 23.19 | 2 782.61 | 2 453.17 | 1.06 | 14/3 |
| M160X6 | 45.43 | 2 935.50 | 1 748.81 | 41.96 | 8/3 |
| M38-22 | 38.18 | 2 369.63 | 2 012.00 | 24.68 | 8/4 |
| NP12-X806 | 79.92 | 3 308.28 | 2 196.00 | 52.00 | 7/2 |
| G24-26 | 17.04 | 3 106.50 | 2 926.36 | 1.35 | 9/4 |
现场跟踪效果显示,作业后含水恢复期缩短了4~11 d,有效提高了低压油井的采油时率;热洗清蜡后1 d即恢复正常生产,效果显著。大斜度井悬挂防污染管柱的应用,避免了洗井液的漏失,保护了油层,缩短了含水恢复期,提高了生产效率,具有广阔的应用前景。
4 结 论(1)JDY445液压丢手封隔器采用坐封工具坐封,双向卡瓦锚定,上提油管解封,解卡力小,提高了作业过程的安全性。
(2)大斜度井悬挂防污染管柱入井安全,施工操作简单,打捞方便、可靠。
(3)大斜度井悬挂防污染管柱的应用,解决了防污染封隔器存在的问题,降低了成本,杜绝了入井液对地层的伤害,有效保护了油层,具有广阔的应用前景。
| [1] | 徐正国,王斌,陈先,等.新型洗井防污染管柱研制和应用[J].石油矿场机械,2011,40(1):84-87. |
| [2] | 肖国华,王霄,王金忠,等.南堡油田人工岛大斜度井气举配套管柱研究[J].石油机械,2011,39(12):52-54. |
| [3] | 肖国华,马宝忠,王金忠,等.JDY441可取式卡瓦封隔器的研制与应用[J].石油机械,2013,41(12):118-120. |
| [4] | 王磊,吴捷,郑伟,等.Y445-114插管封隔器的研制与应用[J].石油机械,2013,41(7):82-84. |
| [5] | 朱晓荣.封隔器设计基础[M].北京:中国石化出版社,2012. |
| [6] | 吴奇.井下作业工程师手册[M].北京:石油工业出版社,2002. |
| [7] | 贺亚维,宋显民.分流沉积的井下进液器及其在措施管柱中的应用[J].石油钻采工艺,2013,35(4):114-116. |
| [8] | 宋涛,刘遵权.抽油机井防污染洗井技术研究与应用[J].机械工程师,2008(11):138-139. |


