0 引 言
我国海洋石油开发时间约为50 a,其中部分平台已达到使用寿命。按照我国海洋石油开发的相关条例,需要将它们拆除[1]。对于永久弃井作业,切割套管是最为关键的环节。目前,机械水力切割因其经济、快速和安全等优点而被普遍采纳[2, 3]。由于套管切割装置工作于井下,不能直接观察套管的切割状态,导致现场无法判断套管是否被割断。国内外对如何判断套管被割断做了大量研究,其中以井口驱动扭矩骤降来判断套管被切断的方法在现场被广泛应用[4]。而在深水套管切割资料研究中发现,即使套管被切断,扭矩也不会骤降,从而产生了对工具改进的需求。在深水套管切割作业中,割刀与套管间的切削力决定了套管的切割效率及切割质量,割刀与套管间的切削力主要取决于流体作用于活塞上的压力,计算流体作用于活塞上的压力对弃井作业参数选择具有重要意义[5, 6]。
基于上述原因,设计了一种深水套管切割装置,该切割装置在切断套管后井口压力会升高,因此根据压力信号即可判断套管是否被割断。笔者通过数值计算和水力循环试验对深水套管切割装置进行了模拟,得出深水套管切割装置在刚开始切割套管和完全割断套管时,不同流量下进出口压降,最后将数值模拟结果与循环试验数据进行对比,以验证数值模拟及工具设计的正确性。
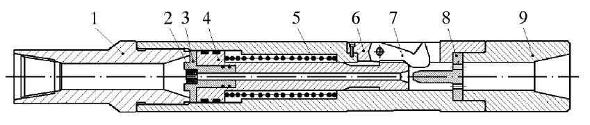
1 计算及仿真分析 1.1 深水套管切割装置结构及原理深水套管切割装置结构如图1所示。在套管切割过程中,流体由上部接头流入,流经喷嘴、活塞和限位阀口,从下部接头流出。喷嘴的节流效应使活塞两端产生压差,推动活塞下移,活塞推动割刀张开,最后旋转钻柱,开始切割套管作业。当割刀刀体刚开始切割套管时,限位阀杆与活塞底部形成的阀口过流面积较大,形成的压降较小。随着切割作业的进行,活塞不断下移,限位阀杆与活塞底部形成的阀口过流面积逐渐减小,当完全切断套管时,阀口过流面积达到最小。此时,阀口处产生较大的压降,从而根据井口的压力变化即可判断套管是否被切断。
|
| 图 1 深水套管切割装置结构示意图 Fig.1 Structural schematic of deepwater casing cutting device 1-上部接头; 2-喷嘴; 3-心板; 4-活塞; 5-弹簧; 6-刀座;7-割刀刀体;8-限位阀杆;9-下部接头。 |
以Ø298.0 mm深水套管切割装置切割Ø339.7 mm套管为分析对象,利用Ansys Workbench软件建立三维流场模型。该模型考虑了试验时进、出口管线对工具压降测量的影响,模型如图2所示。当完全切断套管时,限位阀口处流道要小于刚开始切割套管时的流道。采用Ansys Workbench Mesh模块进行网格划分,由于喷嘴及阀口处的压力波动较大,故对其进行网格细化。考虑到边界层影响,对壁面进行加密处理,网格数为683 592,网格划分如图3所示。
|
| 图 2 深水套管切割装置流场模型 Fig.2 Flow field model of deepwater casing cutting device 1-进口管线; 2-上部接头; 3-喷嘴; 4-活 塞;5-限位阀口;6-下接头;7-出口管线。 |
|
| 图 3 深水套管切割装置网格划分 Fig.3 Mesh generation of deepwater casing cutting device |
模拟介质为清水,密度为1 000 kg/m3,设定入口流量为2.6~19.0 L/s,换算成入口速度,施加速度入口边界条件;假设出口处流动已经局部单向化,施加压力出口边界条件。基于切割工具的实际工况,引入恒温及不可压缩流动假设。为充分考虑流道突缩和突扩引起的局部涡旋流动,研究采用RNG κ-ε湍流模型。在计算过程中,采用控制容积积分法以及二阶迎风差分格式实现对控制方程组的离散,压力速度的耦合采用Simple算法。
1.4 数值模拟结果与分析图4为通过数值模拟得到的深水套管切割装置在刚开始切割套管和完全割断套管时,不同流量下的进、出口压降曲线。
|
| 图 4 不同状态下的流量-压降关系曲线 Fig.4 The effects of flow rate on pressure drop at different states |
从图4可以看出,在同一切割状态下,随着入口流量的增大,活塞前、后的压差增大;在同一流量下,完全割断套管时的压降大于刚开始切割套管时的压降,数值相差1倍左右,原因是完全割断套管后限位阀口处的流道小于刚开始切割套管时限位阀口处的流道,起到节流作用,导致压降增大,与工具设计原理一致。
2 水力循环试验 2.1 试验原理及过程将深水套管切割装置用支架固定于试验装置的铸铁平台上,连接进、出口管线。关闭节流阀,启动多级离心泵,待离心泵稳定后,缓慢调节节流阀,使流量达到试验所需值,然后根据切割套管尺寸,缓慢调节控制机构,使割刀刀体处于刚开始切割套管状态,待流量及压力稳定后,记录深水套管切割装置入口流量和进、出口压力;继而调节节流阀的开度,改变入口流量,依照前面所述操作,测出不同流量下的进、出口压力;然后缓慢调节控制机构,使割刀刀体处于完全割断套管时的状态。同样,调节节流阀使流量达到试验所需值,待流量和压力稳定后,记录深水套管切割装置入口流量、入口压力和出口压力等数据。最后调节节流阀,改变入口流量,测出不同流量下的进、出口压力。
2.2 试验结果图5为通过水力循环试验得到的深水套管切割装置在刚开始切割套管和完全割断套管时,不同流量下的进、出口压降关系曲线。
|
| 图 5 不同状态下的流量-压降关系曲线 Fig.5 The effects of flow rate on pressure drop at different states |
由于理论分析为理想状态下的数值模拟,而水力循环试验受设备和试验人员等不确定因素的影响,所以CFD软件分析数据与试验数据有一定差异,但均在试验允许误差范围内,两者获得的不同状态下的流量-压差关系曲线非常接近。从数值模拟和水力循环试验结果可以看出,在同一切割状态下,随着入口流量的增大,工具的压降增大;在相同流量下,完全割断套管时的压降大于刚开始切割套管时的压降,数值相差1倍左右,与理论分析一致,从而验证了工具结构设计的合理性。
4 结 论(1)通过RNG κ-ε湍流模型计算得出了深水套管切割装置在刚开始切割套管和完全割断套管时,不同流量下的进、出口压降,与试验数据较接近,验证了湍流模型的准确性。
(2)通过数值模拟和水力循环试验得出的深水套管切割装置割刀刀体在刚开始切割套管和完全割断套管时的流量-压差关系曲线,为计算流体作用于活塞上的压力提供了准确数据。
(3)通过对比深水套管切割装置割刀刀体在刚开始切割套管和完全割断套管时的流量-压差关系曲线得出,在相同流量下,工具在刚开始切割套管时的压降约为完全割断套管时压降的 1/2 ,该结论验证了工具结构设计的合理性,对现场判断套管是否被割断具有参考和指导作用。
| [1] | Folorunso A,Rodger L,Robert A.Rigless installation of safety valves to implement a well-integrity campaign and return wells to production[R].SPE106533,2007. |
| [2] | 田晓洁,刘永红,林荣桔,等.深海套管切割工具的研究和发展现状[J].石油机械,2011,39(11):67-71. |
| [3] | 季鹏,李亚方,马魁魁,等.浅谈机械水力割刀套管切割技术[J].中国石油和化工标准与质量,2013(9):67. |
| [4] | 冯定,王永平,赵志超,等.套管固井质量问题及对策分析[J].江汉石油学院学报,1998,20(3):74-77. |
| [5] | 张国强.流体力学[M].北京:机械工业出版社,2006. |
| [6] | 薛亮,汪志明,李帮民.射流式井下增压器数值试验研究[J].石油机械,2010(6):79-83. |


