-
项目名称
- 国家科技支撑项目"困难立地植被恢复技术研究与示范"(2015BAD07B02)
-
第一作者简介
- 马晓慧(1993-), 女, 硕士研究生。主要研究方向:水土保持与荒漠化防治。E-mail:292227511@qq.com
-
通信作者简介
- 张岩(1970-), 女, 教授, 博士生导师。主要研究方向:土壤侵蚀和水土保持。E-mail:zhangyan9@bjfu.edu.cn
-
文章历史
-
收稿日期:2017-07-31
修回日期:2018-01-15
黄土高原半干旱丘陵沟壑区受自然地理条件的限制以及人为活动的影响,植被稀疏,水土流失严重[1-2]。植被是影响黄土高原产流产沙的重要因素之一,植被恢复能够提高土壤养分水平,改善土壤物理性质,增加土壤抗蚀能力,是该区域重要的水土保持措施之一[3]。退耕还林政策实施以来,该区的植被在一定程度上得到恢复[4],封山育林以及人工造林种草是该区植被恢复的主要方式。有研究认为,人工促进可以缩短演替进程,是半干旱黄土区最有效的生态修复模式[5];也有研究认为在黄土高原半干旱地区,植被恢复应以自然恢复为主[1, 6]。
自然恢复的植被群落相较于人工植被群落稳定性更高,但是在黄土高原植被自然恢复速率缓慢,通常需要几十年,甚至更长的时间[7]。了解自然恢复过程中植被群落的生态结构及空间分布变化特征,对于合理构建人工植被群落具有重要意义,这一问题引起许多学者的关注[8-10]。许多研究应用时空互替的方法,对撂荒地的物种组成、物种出现的频率和盖度进行统计分析,将群落类型分类,并划分群落演替阶段[11-13]。一些研究将短期封禁的草地作为研究对象,进行群落物种丰富度和物种多样性的研究,结果表明,封禁时间越长,群落物种多样性越大[14]。有研究认为,恢复初期群落的物种多样性呈增大的趋势,当植被恢复到稳定状态时,群落的物种多样性减小[15-16],或者物种多样性指数在群落过渡阶段达到最大而后减小[17]。有关群落空间分布特征的研究,主要集中在对单个种群空间分布的研究[18]。关于长时间封禁条件下,自然恢复草地群落的植被物种组成、生态结构特征和空间分布特征变化的研究报道还很少。
笔者以陕西省吴起县封禁治理区为研究对象,应用样方法对封禁25~32年的梁峁坡植被进行调查,采用地统计方法,分析自然恢复条件下该区域植被物种组成、物种多样性以及空间分布的动态变化特征,力求为该区域植被修复提供科学依据。
1 研究区概况研究区陕西省吴起县合沟流域属黄土高原丘陵沟壑区(E107°38′57″~108°32′49″, N 36°33′33″~37°24′27″),海拔1350~1525m,年平均气温7.8℃,无霜期96~146d。多年平均降水量462.1mm(1961—2016年),降水大多集中在5—10月。2009和2016年的降水量分别是449.8和455.1mm。自然植被属于暖温带森林草原,土壤为黄绵土[17]。研究区位于合沟流域东部沟缘线以上的梁峁坡,海拔范围为1370~1525m,坡向范围为N163°~352°,坡度范围为14°~46°,总面积8.89hm2(图 1)。坡面植被盖度约为40%,1985年封禁以前为农地,截止2016年,一直处于自然恢复的状态,无人工整地等措施。经过32年的自然恢复,研究区的植被以草本为主,主要有白莲蒿(Artemisia sacrorum)、苔草(Carex tristachya)、茭蒿(Artemisia leucophylla)、针茅(Stipa capillata)、胡枝子(Lespedeza bicolor)、冷蒿(Artemisia frigida)和委陵菜(Potentilla chinensis)等。
|
图 1 研究区采样分布点 Figure 1 Distribution of sampling points in study area |
于2009年7月24—25日和2016年7月17—20日,分别调查31个草本样方,每个样方1m×0.5m,样方间距为30m左右。样地调查统计每个样方内草本植物的物种数和各物种株数(表 1),用盒尺测定各物种的高度,目测估计每个样方的盖度,并用镰刀采割样方内所有的物种,称其鲜质量,室内烘干(60℃,烘至恒质量),称重得到地上生物量(下文生物量均指草本植物干质量数据)。使用GPS测定海拔与经纬度,罗盘测定坡度和坡向。笔者将坡向划分为半阴坡(67.5°N~112.5°N]和(292.5°N~337.5°N)、半阳坡(112.5°N~157.5°]和(247.5°N~292.5°N]、阳坡(157.5°N~247.5°N),研究区无阴坡。根据高程,将梁峁坡划分为坡上[1447.5m,1525m]和坡下[1370m,1447.5m)2部分。
| 表 1 样地信息 Table 1 Basic condition of the sampling sites |
| $ 物种重要值 = {\rm{ }}\left( {相对密度 + 相对频度 + 相对盖度} \right)/3。$ | (1) |
| $ \begin{array}{l} 优势度 = (相对密度 + 相对频度 + 相对盖度 + \\ 相对高度)/4。\end{array} $ | (2) |
Margalef丰富度指数Ma=(S-1)/lnN。
Shannon-Wiener多样性指数
| $ H\prime = - \sum\limits_{i = 1}^N {({P_i}{\rm{ln}}{P_i})} 。$ | (4) |
Pielou均匀度指数
| $ J = - \sum\limits_{i = 1}^S {({P_i}{\rm{ln}}{P_i})} {\rm{/ln}}S。$ | (5) |
式中:S为样方内的物种数;Pi=Ni/N,Ni为样方内第i个物种的个体数,∑Ni=N。
2.3 地统计分析Moran氏I指数是表征空间自相关性的指标,能够反映空间邻接或邻近的区域单元相似性程度[22]。其计算公式如下
| $ I\left( h \right) = N\left( h \right)\sum {\sum {{Z_i}{Z_{i + h}}} } /\sum {Z_{i + h}^2} \;\;\left( {i \ne j} \right)。$ | (6) |
式中:N为空间距离h的单元数;Zi为空间要素在i区域的观测值;Zi+h为空间要素在i+h区域的观测值;I(h)表示空间距离为h的样方空间相关值。
Moran氏I指数的值域为[-1, 1],I值接近1时,表明空间要素属性相似度高;I值接近0时,表明空间要素属性呈随机分布或不存在空间自相关;I<0时,表明空间要素属性呈负相关,越接近-1,说明空间要素属性相差程度越大。
使用SPSS18.0进行数据统计和相关分析,使用GS+9.0进行地统计分析,计算Moran氏I指数。
3 结果与分析 3.1 2009—2016年坡面植被特征变化2009年样方调查中,共计29种植物,分属于13科22属;2016年样方调查共计37种植物,分属于15科32属。从不同立地类型上看,2009—2016年物种数在半阴坡坡下减小,在半阳坡坡下无变化,在其他4种立地类型上均增大(图 2)。研究区内菊科(Composiate)、豆科(Leguminosae)和禾本科(Poaceae)植物的分布比例较大,说明这3科植物在陕北弃耕地植被自然恢复过程中占据重要地位。在6个立地类型内,2009年3大科植物种数占总物种数比例的平均值为77.3%,2016年为70.0%(图 3)。2年的物种组成表现为少数种属于多数科,多数种属于少数科,符合西北荒漠区植物区系特征[17]。
|
EU:半阴坡坡上Upper-semi-shady slope;EL:半阴坡坡下Lower-semi-shady slope;WU:半阳坡坡上Upper-semi-sunny slope;WL:半阳坡坡下Lower-semi-sunny slope;SU:阳坡坡上Upper-sunny slope;SL:阳坡坡下Lower-sunny slope;1:2009;2:2016。下同。The same below. 图 2 不同立地类型物种数 Figure 2 Number of species in different site type |
|
图 3 不同科物种在不同立地类型的分布 Figure 3 Distribution of species of different family in different site type |
|
SH:灌木Shrub;SU:半灌木Subshrub;PE:多年生草本Perennial herb;AN:1年生或2年生草本Annual or biennial herb 图 4 不同立地类型植物生长型分布图 Figure 4 Distribution of plant growth types in different site type |
植物的生长型分为乔木、灌木、半灌木、多年生草本和1年生或2年生草本[10]。研究区2009年多年生草本植物共计22种,占调查总数的75.8%;其次是1年生或2年生草本植物共3种,半灌木3种,灌木1种。2016年多年生草本植物共计25种,占调查物种总数的67.5%,1年生或2年生草本植物共8种,半灌木共3种,灌木1种。两次调查中均无乔木出现。各立地类型的植被生活型与整个坡面分布一致,都以多年生草本植物为主。
与2009年相比,2016年新出现物种共计16种。其中:多年生草本11种,即苔草(Carex tristachya)、蓬子菜(Galium verum)、洽草(Koeleria litvinowii)、山苦荬(Ixeris denticulata)、亚麻(Linum usitatissimum)、刺儿菜(Cirsium setosum)、蓝花棘豆(Oxytropis coerulea)、长芒草(Stipa bungeana)、细叶韭(Allium tenuissimum)、沙打旺(Astragalus adsurgens)和铁线莲(Clematis florida);1年生或2年生草本5种,即臭蒿(Artemisia annua)、草木犀(Melilotus officinalis)、苦苣(Sonchus oleraceus)、獐牙菜(Swertia bimaculata)和虎尾草(Chloris virgata)。消失了8种草本植物,其中:多年生草本7种,即莎草(Cyperus rotundus)、紫菀(Aster tataricus)、沙参(Adenophora stricta)、老牛筋(Arenaria juncea)、鸦葱(Scorzonera ruprechtiana)、老鹳草(Geranium wilfordii)和早熟禾(Poa annua);1年生或2年生草本1种,即猪毛菜(Salsola collina)。
2个年份调查的样方内,重要值与优势度排名前5的草本植物的基本情况见表 2。从调查结果看,2009年该梁峁坡的建群种和优势种主要集中在菊科蒿属(Artemisia)、禾本科隐子草属(Cleistogenes Keng )和豆科胡枝子属(Lespedeza);而2016年时,该梁峁坡的建群种和优势种集中在菊科蒿属、豆科胡枝子属、莎草科薹草属(Carex)和禾本科隐子草属,可能是由于蒿类植物改良了土壤环境,为中生或耐旱中生的植物创造了生长条件。2009年频度最高的物种为胡枝子,2016年频度最高的草本植物为白莲蒿,分布于所有样方内。除了建群种和优势种有变动以外,一些半灌木的重要值和优势度也明显增大,如唇形科百里香的重要值和优势度由0.017和0.016增大到0.053和0.042,菊科茵陈蒿(Artemisia capillaries)重要值和优势度由0.015和0.023增大到0.045和0.040。
| 表 2 2009年与2016年优势种基本情况表 Table 2 Basic situation of dominant species in 2009 and 2016 |
生物量是衡量植物生长发育的重要指标。2009年调查样方生物量的平均值为98.57g/m2,变异系数为36.4%;2016年调查样方生物量的平均值为141.27g/m2,变异系数为33.4%,2年的生物量呈显著性差异(P < 0.01)。从不同立地类型上看,2年生物量的增加值表现为半阳坡坡下(109.81g/m2)>半阴坡坡下(103.51g/m2)>阳坡坡下(55.11g/m2)>半阴坡坡上(26.55g/m2)>半阳坡坡上(9.56g/m2)>阳坡坡上(2.46g/m2)(图 5)。总体来看,2009—2016年整个坡面的生物量都明显增加,尤其是坡下部的生物量增加显著,生境条件较差的阳坡坡下,其生物量也增加到阳坡坡上和半阳坡坡上的水平。说明生境差异对生物量的影响减弱,群落更加稳定。
|
图 5 不同立地类型生物量变化 Figure 5 Changes of biomass in different site type |
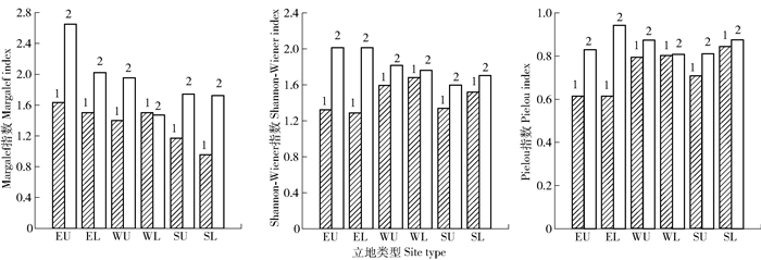
物种多样性的恢复是退化生态系统恢复与重建的重要内容与标志。物种多样性指数可以定量表征群落和生态系统的特征,反映植物群落稳定性。2009年Margalef指数、Shannon-Wiener指数和Pielou指数的平均值分别为1.361、1.510和0.764,变异系数分别为30.1%、24.7%和14.7%;2016年其平均值分别为1.831、1.716和0.841,变异系数分别为36.4%、24.4%和11.2%。如图 6所示,与2009年相比,2016年半阴坡坡上Margalef指数增加幅度最大(1.053),而半阳坡坡下略有减小(-0.033);其他立地类型的Margalef指数都有增加,表现为阳坡坡下(0.769)>阳坡坡上(0.573)>半阳坡坡上(0.553)>半阴坡坡下(0.520)。Shannon-Wiener指数在各种立地类型上都有增加,增加幅度为半阴坡坡下(0.723)>半阴坡坡上(0.689)>阳坡坡上(0.258)>半阳坡坡上(0.223)>阳坡坡下(0.186)>半阳坡坡下(0.079)。Pielou指数表现在各种立地类型上也都有增加,增加幅度为半阴坡坡下(0.324)>半阴坡坡上(0.211)>阳坡坡上(0.098)>半阳坡坡上(0.074)>阳坡坡下(0.025)>半阳坡坡下(0.001)。说明研究区总体上物种更为丰富,物种多样性增加;结合图 2可知,半阳坡坡下物种数变化最小,物种基本达到稳定状态。
|
图 6 不同立地类型物种多样性指数变化 Figure 6 Changes of biodiversity index in different site type |
由图 7所示,Moran氏I指数分析结果表明,2009年植物高度和生物量的空间自相关距离较小,约为60m,略高于该区0~60cm土壤水分的空间自相关距离[23];干鲜质量比和植物盖度空间自相关距离较大,约为120m,说明当时植物分布对土壤水分空间依赖性较强。2016年植被高度和干鲜质量比的空间自相关距离较2009年有所减小,植物高度的自相关距离减小到45m左右,干鲜质量比的空间自相关距离则明显减小到90m以内,略高于该区0~60cm土壤水分的空间自相关距离[23];而2016年植被覆盖度和生物量的空间自相关性微弱。植被的高度、盖度、生物量和干鲜质量比的空间自相关性减弱都有所减小,说明相较于2009年坡面植物群落对生境的依赖减弱。
|
图 7 草本参数空间自相关图 Figure 7 Autocorrelogram of herb property parameters |
Moran氏I指数分析结果表明,从2009年至2016年,Margalef指数、Shannon-Wiener指数和Pielou指数的空间自相关性表现出不同的变化趋势。2009年Margalef指数和Shannon-Wiener指数的空间自相关性微弱,但Pielou指数空间相关性较强,自相关距离约为90m;2016年Margalef指数空间自相关性增强,自相关距离约为60m,而Shannon-Wiener指数空间自相关性仍然很弱;2016年Pielou指数空间自相关性明显减弱,甚至在30m左右存在很强的空间负相关(图 8)。结合图 6以及前面的分析可知,Margalef指数的变异系数增大,Shannon-Wiener指数变异系数大致保持不变,而Pielou指数变异系数明显减小。综合来看,植物丰富度的空间变异性增加,空间自相关性减弱;植物均匀度空间变异性减小,但自相关性增加。说明在笔者研究的梁峁坡面,植物物种更加丰富,空间分布更加均匀,群落稳定性增强。
|
图 8 物种多样性指数空间自相关图 Figure 8 Autocorrelogram of biodiversity index |
选取半干旱黄土区的梁峁坡为研究对象,应用样方法进行植被调查,地统计方法分析封禁25~32年之间物种组成、群落结构、物种多样性变化,以及空间分布的变化特征。2个年份的降水量都接近多年平均值,具有代表性和可比性。研究结果表明,经7年自然恢复,该区梁峁坡物种仍然以菊科、禾本科和豆科为主,植被生活型还是以多年生草本植物为主。秦伟等[17]对吴起县退耕地的研究表明,在植被自然恢复至第25年时,该区域已经经过高级更替期,形成白羊草地带性次生草原群落,进入缓慢恢复期;而在笔者研究中,坡面自然恢复至32年时,主要是以白莲蒿为主的多年生草本群落,尚处于高级更替期。这可能是由于坡度、坡向和海拔等立地环境因子,以及周边群落和原有植被的影响,使得群落演替的速度和方向有所不同[24]。大量研究表明,水分是影响干旱和半干旱区植物群落更新[25]、生长发育[26]和群落演替[27]的关键因素,是养分循环和流动的载体[28],对该区域生态恢复有很大的限制作用。草本植物的生长主要与浅层土壤水分相关[29],朱岩等[23]研究表明,该梁峁坡浅层土壤水分(0~20cm)在不同坡向上表现为阴坡>半阴坡>半阳坡>阳坡,在坡上和坡中土壤水分随着坡向的变化差异很小,而在坡下半阳坡的土壤含水量显著大于半阴坡和阳坡。2009—2016年半阴坡坡下的物种数减小,半阳坡坡下物种数不变,这可能是因为群落中的优势种占据主导地位,抑制了其他植物的定植;因此,物种数减少[30]。
与2009年相比,2016年各立地类型的Shannon-Wiener指数和Pielou指数均增大,Margalef指数在除半阳坡坡下以外的立地类型也都增大,表明群落复杂性增大,正在向更稳定的方向演替,这与李裕元等[16]研究结果相近。有研究表明,当群落处于相对稳定状态时,群落的物种多样性指数也将趋于稳定状态[17],而笔者研究中的3个多样性指数,在恢复25~32年时还在增加,这也证明了该群落尚处于演替阶段。
2009年和2016年生物量的平均值分别为98.57和141.27g/m2,相当于黄土高原草本植物地上生物量(50~450g/m2)[31]的中低水平。吴起县属于暖温带森林草原,邓蕾等[32]对陕西省天然温性草原地上生物量的研究表明,该地区草原地上生物量的平均值为156.9g/m2,与笔者2016年草本地上生物量的研究相差不大。当群落处于相对稳定状态时,生物量也相对稳定,当群落结构发生较大变化时,生物量与植被组成也将发生明显的变化[33]。2009—2016年群落生物量发生显著变化,表明群落结构并不稳定,处于演替阶段。2009年与2016年的生物量均值差最大的为半阳坡坡下,最小值为阳坡坡上,这与该梁峁坡土壤水分分布一致[23],表明土壤水分是影响植被群落生物量变化的重要因素,这与王建国等[34]研究结果相近。
5 结论笔者选取半干旱黄土区梁峁坡,研究封禁25~32年间自然恢复条件下的植物群落特征变化,结论如下。
1) 物种数新增16种,物种数在半阴坡坡下减小,在半阳坡坡下不变,在其他立地类型上均增大。物种仍然主要集中在菊科、禾本科和豆科;坡面的物种生活型仍以多年生草本植物为主。
2) 坡面生物量的平均值由98.57g/m2增加到141.27g/m2,2个年份生物量差异显著(P < 0.01),坡下部生物量明显增加;生境条件较差的阳坡坡下,其生物量也增加到阳坡坡上和半阳坡坡上的水平,说明生境差异对生物量影响减弱,群落更加稳定。
3) Margalef指数、Shannon-Wiener指数和Pielou指数的均值都明显增加,坡面总体上物种更为丰富,群落稳定性增大;半阳坡坡下物种数和多样性指数变化均很小,说明半阳坡坡下物种基本达到稳定状态。其他立地类型物种多样性明显增加。
4) Margalef指数空间自相关性由弱变强,自相关距离约为60m;Shannon-Wiener指数空间自相关性持续微弱,Pielou指数由空间正相关变为负相关。总体上梁峁坡面植物物种更加丰富,空间分布更加均匀,群落稳定性增强。
经过32年的封禁,半干旱黄土梁峁坡面植物生活型依然以多年生草本植物为主,半灌木的优势度明显增加,群落正在向更稳定的方向演替。但植被演替过程缓慢,为了加速植被恢复,适当的人工干预是必要途径。
| [1] |
谭勇, 王长如, 梁宗锁, 等. 黄土高原半干旱区林草植被建设措施[J].
草业学报, 2006, 15(4): 4.
TAN Yong, WANG Changru, LIANG Zongsuo, et al. Measures for forest and grass vegetation construction in semi-acid areas on the Loess Plateau[J]. Acta Prataculturae Sinica, 2006, 15(4): 4. |
| [2] |
唐龙, 梁宗锁, 杜峰, 等. 陕北黄土高原丘陵区撂荒演替及其过程中主要乡土牧草的确定与评价[J].
生态学报, 2006, 26(4): 1165.
TANG Long, LIANG Zongsuo, DU Feng, et al. Vegetation succession of arable old land after being abandoned in Loess Plateau hilly region & ascertaining dominant native herbages in the process, analyzing their chemical nutrient composition[J]. Acta Ecologica Sinica, 2006, 26(4): 1165. |
| [3] |
LIU Y, FU B, LV Y, et al. Hydrological responses and soil erosion potential of abandoned cropland in the Loess Plateau, China[J].
Geomorphology, 2012, 138(1): 404.
DOI: 10.1016/j.geomorph.2011.10.009. |
| [4] |
张宝庆, 吴普特, 赵西宁. 近30 a黄土高原植被覆盖时空演变监测与分析[J].
农业工程学报, 2011, 27(4): 287.
ZHANG Baoqing, WU Pute, ZHAO Xining. Detecting and analysis of spatial and temporal variation of vegetation cover in the Loess Plateau during 1982-2009[J]. Transactions of the Chinese Society of Agricultural Engineering, 2011, 27(4): 287. |
| [5] |
秦伟, 朱清科, 张宇清, 等. 陕北黄土区生态修复过程中植物群落物种多样性变化[J].
应用生态学报, 2009, 20(2): 403.
QIN Wei, ZHU Qingke, ZHANG Yuqing, et al. Dynamics of plant community species diversity in the process of ecological rehabiliatation in North Shaanxi loess area[J]. Chinese Journal of Applies Ecology, 2009, 20(2): 403. |
| [6] |
DANG X H, LIU G B, XUE S. Models of soil and water conservation and ecological restoration in the loess hilly region of China[J].
Transactions of the Chinese Society of Agricultural Engineering, 2010, 26(9): 72.
|
| [7] |
温仲明, 焦峰, 刘宝元, 等. 黄土高原森林草原区退耕地植被自然恢复与土壤养分变化[J].
应用生态学报, 2005, 16(11): 2025.
WEN Zhongming, JIAO Feng, LIU Baoyuan, et al. Natural vegetation restoration and soil nutrient dynamics of abandoned farmlands in forest-steppe zone on Loess Plateau[J]. Chinese Journal of Applied Ecology, 2005, 16(11): 2025. DOI: 10.3321/j.issn:1001-9332.2005.11.004. |
| [8] |
ZHANG J T. Succession analysis of plant communities in abandoned croplands in the eastern Loess Plateau of China[J].
Journal of Arid Environments, 2005, 63(2): 458.
DOI: 10.1016/j.jaridenv.2005.03.027. |
| [9] |
WANG X, YU J, ZHOU D, et al. Vegetative ecological characteristics of restored reed (Phragmites australis) wetlands in the Yellow River Delta, China[J].
Environmental Management, 2012, 49(2): 325.
DOI: 10.1007/s00267-011-9757-6. |
| [10] |
郝文芳, 杜峰, 陈小燕, 等. 黄土丘陵区天然群落的植物组成、植物多样性及其与环境因子的关系[J].
草地学报, 2012, 20(4): 609.
HAO Wenfang, DU Feng, CHEN Xiaoyan, et al. Composition and diversity analysis of natural-community plants in the Loess hilly region[J]. Acta Agrestia Sinica, 2012, 20(4): 609. DOI: 10.11733/j.issn.1007-0435.2012.04.002. |
| [11] |
焦菊英, 张振国, 贾燕锋, 等. 陕北丘陵沟壑区撂荒地自然恢复植被的组成结构与数量分类[J].
生态学报, 2008, 28(7): 2981.
JIAO Juying, ZHANG Zhenguo, JIA Yanfeng, et al. Species composition and classification of natural vegetation in the abandoned lands of the hilly-gullied region of North Shaanxi province[J]. Acta Ecological Sinica, 2008, 28(7): 2981. |
| [12] |
朱志诚, 黄可. 陕北黄土高原森林草原地带植被恢复演替初步研究[J].
山西大学学报, 1993, 16(1): 94.
ZHU Zhicheng, HUANG Ke. Recovering succession of vegetation on forest steppe zone of Loess Plateau in North Shaaxi province[J]. Journal of Shanxi University, 1993, 16(1): 94. |
| [13] |
KOU M, JIAO J, YIN Q, et al. Successional trajectory over 10 years of vegetation restoration of abandoned slope croplands in the hill-gully region of the Loess Plateau[J].
Land Degradation & Development, 2016, 27(4): 1.
|
| [14] |
殷国梅, 张英俊, 王明莹, 等. 短期围封对草甸草原群落特征与物种多样性的影响[J].
中国草地学报, 2014, 36(3): 61.
YIN Guomei, ZHANG Yingjun, WANG Mingying, et al. Influence of short-term enclosure on characteristics of community and species diversity on meadow steppe[J]. Chinese Journal of Grassland, 2014, 36(3): 61. |
| [15] |
JING Z, CHENG J, CHEN A. Assessment of vegetative ecological characteristics and the succession process during three decades of grazing exclusion in a continental steppe grassland[J].
Ecological Engineering, 2013, 57(8): 162.
|
| [16] |
李裕元, 邵明安. 子午岭植被自然恢复过程中植物多样性的变化[J].
生态学报, 2004, 24(2): 252.
LI Yuan, SHAO Mingan. The change of plant diversity during natural recovery process of vegetation in Ziwuling area[J]. Acta Ecologica Sinica, 2004, 24(2): 252. DOI: 10.17521/cjpe.2004.0037. |
| [17] |
秦伟, 朱清科, 刘中奇, 等. 黄土丘陵沟壑区退耕地植被自然演替系列及其植物物种多样性特征[J].
干旱区研究, 2008(4): 507.
QIN Wei, ZHU Qingke, LIU Zhongqi, et al. Study on natural series of vegetation and plant species diversity on returning land for farming to forest sand grass plots in the hilly-gully regions of the Loess Plateau[J]. Arid Zone Research, 2008(4): 507. |
| [18] |
王书转, 郝明德, 普琼, 等. 黄土区苜蓿人工草地群落生态与生产功能演替[J].
草业学报, 2014, 23(6): 1.
WANG Shuzhuan, HAO Mingde, PU Qiong, et al. Ecological and productive succession process of a cultivated alfalfa grass land community on the Loess Plateau[J]. Acta Prataculturae Sinica, 2014, 23(6): 1. DOI: 10.11686/cyxb20140601. |
| [19] |
朱岩, 张岩, 朱清科, 等. 半干旱黄土区沟间天然草地植被空间分异特征[J].
生态学杂志, 2011, 30(6): 1063.
ZHU Yan, ZHANG Yan, ZHU Qingke, et al. Spatial distribution patterns of vegetations on natural grassland in Loess Plateau interfluve[J]. Chinese Journal of Ecology, 2011, 30(6): 1063. |
| [20] |
马克平. 生物群落多样性的测度方法Ⅰα多样性的测度方法(上)[J].
生物多样性, 1994(3): 162.
MA Keping. The measure method of bio-community diversity:The method of α-diversity (volumeⅠ)[J]. Biodiversity Science, 1994(3): 162. DOI: 10.17520/biods.1994027. |
| [21] |
马克平, 刘玉明. 生物群落多样性的测度方法Ⅰα多样性的测度方法(下)[J].
生物多样性, 1994(4): 231.
MA Keping, LIU Yuming. The measure method of bio-community diversity:The method of α-diversity (volumeⅡ)[J]. Biodiversity Science, 1994(4): 231. DOI: 10.17520/biods.1994038. |
| [22] |
MORAN P A. Notes on continuous stochastic phenomena[J].
Biometrika, 1950, 37(1-2): 17.
DOI: 10.1093/biomet/37.1-2.17. |
| [23] |
ZHU Y, ZHANG Y, ZHU Q, et al. Spatial variation of soil moisture on grassland on the semi-arid Loess Plateau[C]. Second ⅡTA International Conference on Geoscience and Remote Sensing, Shandong Qingdao, China, 2010: 340.
|
| [24] |
卫智军, 杨静, 杨尚明. 荒漠草原不同放牧制度群落稳定性研究[J].
水土保持学报, 2003, 17(6): 121.
WEI Zhijun, YANG Jing, YANG Shangming. Studies on community stability under different grazing systems on desert steppe[J]. Journal of Soil and Water Conservation, 2003, 17(6): 121. |
| [25] |
苏嫄, 焦菊英, 王巧利, 等. 黄土丘陵沟壑区不同侵蚀环境下幼苗库及其与地上植被的关系[J].
草业学报, 2013, 22(5): 154.
SU Yuan, JIAO Juying, WANG Qiaoli, et al. Seeding banks and their relationship with the standing vegetation under different erosion environment in the hilly-gully Loess Plateau region[J]. Acta Prataculturae Sinica, 2013, 22(5): 154. DOI: 10.11686/cyxb20130518. |
| [26] |
郭京衡, 李尝君, 曾凡江, 等. 2种荒漠植物根系生物量分布于土壤水分、养分的关系[J].
干旱区研究, 2016, 33(1): 166.
GUO Jingheng, LI Changjun, ZENG Fanjiang, et al. Relationship between root biomass distribution and soil moisture, nutrient for two desert plant species[J]. Arid Zone Research, 2016, 33(1): 166. |
| [27] |
于晓娜, 黄永梅, 陈慧颖, 等. 土壤水分对毛乌素沙地油蒿群落演替的影响[J].
干旱区资源与环境, 2015, 29(2): 92.
YU Xiaona, HUANG Yongmei, CHEN Huiying, et al. The influence of soil moisture on the succession of Artemsiia ordosica community in Mu Us Sandland[J]. Journal of Arid Land Resources and Environment, 2015, 29(2): 92. |
| [28] |
邹慧, 高耀光, 傅伯杰, 等. 干旱半干旱草地生态系统与土壤水分关系进展[J].
干旱区研究, 2016, 36(11): 3127.
ZOU Hui, GAO Yaoguang, FU Bojie, et al. The relationship grassland ecosystem and soil water in arid and semi-arid areas:A review[J]. Acta Ecologica Sinica, 2016, 36(11): 3127. |
| [29] |
杜峰, 山仑, 陈小燕, 等. 陕北黄土丘陵区撂荒演替研究-撂荒演替序列[J].
草地学报, 2005, 13(4): 328.
DU Feng, SHAN Lun, CHEN Xiaoyan, et al. Studies on the vegetation succession of abandoned farmland in the loess hilly region of northern Shaanxi-succession series after being abandoned[J]. Acta Agrestia Sinica, 2005, 13(4): 328. DOI: 10.11733/j.issn.1007-0435.2005.04.015. |
| [30] |
张志南, 武高林, 王冬, 等. 黄土高原半干旱区天然草地群落结构与土壤水分关系[J].
草业学报, 2014, 23(6): 313.
ZHANG Zhinan, WU Gaolin, WANG Dong, et al. Plant community structure and soil moisture in the semi-arid natural grassland of the Loess Plateau[J]. Acta Prataculturae Sinica, 2014, 23(6): 313. DOI: 10.11686/cyxb20140637. |
| [31] |
汝海丽, 张海东, 焦峰, 等. 黄土丘陵区微地形对草地植物群落结构组成和功能特征的影响[J].
应用生态学报, 2016, 27(1): 25.
RU Haili, ZHANG Haidong, JIAO Feng, et al. Impact of micro-landform on grassland plant community structure and function in the hilly Loess Plateau region, China[J]. Chinese Journal of Applied Ecology, 2016, 27(1): 25. |
| [32] |
邓蕾, 上官周平. 陕西省天然草地生物量空间分布格局及其影响因素[J].
草地学报, 2012, 20(5): 825.
DENG Lei, SHANGGUAN Zhouping. Distribution of natural grassland biomass and its relationship with influence factors in Shaanxi[J]. Acta Agrestia Sinica, 2012, 20(5): 825. DOI: 10.11733/j.issn.1007-0435.2012.05.006. |
| [33] |
张彩琴, 张军, 李茜若. 草地植被生物量动态研究视角与研究方法评述[J].
生态学杂志, 2015, 34(4): 1143.
ZHANG Caiqin, ZHANG Jun, LI Xiruo. A review on the research perspectives and methods for grassland vegetation biomass dynamics[J]. Chinese Journal of Ecology, 2015, 34(4): 1143. |
| [34] |
王建国, 樊军, 王全九, 等. 黄土高原水蚀风蚀交错区植被地上生物量及其影响因素[J].
应用生态学报, 2011, 22(3): 556.
WANG Jianguo, FAN Jun, WANG Quanjiu, et al. Vegetation above-ground biomass and its affecting factors in water/wind erosion crisscross region on Loess Plateau[J]. Chinese Journal of Applied Ecology, 2011, 22(3): 556. |
2018, Vol. 16 
