2. 中国舰船研究院,北京 100020;
3. 哈尔滨工程大学 智能科学与工程学院,黑龙江 哈尔滨 150001
2. China Ship Research and Development Academy, Beijing 100020, China;
3. College of Intelligent Systems Science and Engineering, Harbin Engineering University, Harbin 150001, China
水下无人航行器(Unmanned Underwater Vehicle, UUV)因其体积小、机动性强、隐蔽性高等优势,已成为海洋资源勘探、环境监测及军事侦察等领域的重要工具[1]。随着UUV技术的不断发展,其任务范围持续扩大,任务复杂性显著增加。然而,受限于载荷能力与能源储备,单UUV难以独立完成大规模、多目标的综合任务。采用多UUV协同作业模式,通过功能互补与信息共享可有效提升系统整体效能与任务鲁棒性[2]。航路规划作为UUV自主决策的核心环节,直接关系到任务执行的安全性、经济性与完成质量。在集群协同场景下,航路规划问题进一步复杂化:除需规避岛屿、暗礁、船舶等静态与动态障碍外,还需统筹考虑多平台间的航路协调与行为协同,以避免冲突并优化整体作业效率[3 − 5]。因此,开展面向UUV集群的协同航路规划方法研究,对推动水下无人系统智能化发展具有重要的理论意义与工程价值。
在UUV集群航路规划领域,群智能算法凭借其分布式协作、自组织优化及对复杂环境的适应性,成为国内外学者的研究热点。已有多种经典群智能算法及改进策略被应用于该问题的求解[6]。粒子群算法凭借其计算简单、参数少等优势被许多学者应用至解决UUV集群航路规划的问题中,曹宏涛等[7]提出一种结合KM最优匹配与粒子群寻优的UUV协同航路规划算法框架,通过将粒子群优化与B样条插值结合,从而提升系统的协同效率与路径跟踪精度。冯炜等[8]提出基于量子行为粒子群优化的航路规划方法,通过建立海流、障碍物模型及推导衡量航行时间的代价函数,在2种不同案例中寻找最优路径。严浙平等[9]提出一种双种群粒子群算法,在粒子进化时,拥有当前最优位置的种群侧重局部搜索,反之则侧重全局搜索。2个种群受共同的群体最优位置影响进化,实现信息共享与协调进化。蚁群算法凭借其分布式计算、鲁棒性强等优势,能有效应对复杂水下环境中的障碍物规避与路径寻优需求。王莹莹等[10]在蚁群算法中加入外种群信息素函数、动态启发因子和自检测机制,同时在局部动态规划中添加运动系数和附加势场,以提升算法性能。MENG等[11]提出一种改进的平滑蚁群优化算法,引入了转角启发式函数该算法优化了路径的平滑度,并提高了算法的鲁棒性、避免局部最优。人工鱼群算法凭借其收敛速度较快、对初始值依赖性低等优势,可适配水下水流扰动、地形多变等复杂场景。杨洋等[12]改进了人工鱼群算法,采用夺食行为、自适应步长和带衰减因子的视野范围,优化了无人水下航行器水平面路径跟踪控制器的参数整定,提升了后期收敛速度并有效避免了局部最优解。为突破单一算法的局限,学者们开始探索群智能算法的混合改进策略,通过融合不同算法的优势,提升其在复杂水下环境中UUV集群航路规划的适应性与优化性能,胡致远等[13]提出人工鱼群与蚁群算法融合的优化方法,通过改进人工鱼群的状态表达式与移动步长、优化蚁群算法中的启发值和信息素机制、引入拥挤度因子来调整转移概率,从而提升了算法的全局寻优能力和搜索效率。这种融合算法不仅克服了传统单一算法中存在的局部最优和收敛速度慢的问题,还能够适应复杂、多维度的优化任务。张玮等[14]提出改进烟花-蚁群混合算法求解最优路径,通过增加“先锋火花”、“镜面映射”处理越界,以改进烟花算法最短路径换算蚁群初始信息素,解决蚁群算法收敛慢与初始信息素不足问题。
综合上述研究,群智能算法在航路规划中取得了一定成效。作为本文改进基础的灰狼优化算法仍存在明显缺陷:GWO存在多样性丧失、易陷入局部最优的问题;其线性收敛与静态更新机制难以适应水下环境,且现有多种群GWO协同方式僵化,在UUV集群规模扩大时信息交互成本激增,影响算法效率。针对上述不足,本文提出DyP-GWO算法,动态多种群优化算法具备实时调整与重配置种群的能力,以更好地适应环境变化与问题复杂性。该策略不仅动态调节种群间的协同与信息交互,更借此精准平衡全局探索与局部开发,故能有效应对高维复杂优化问题,避免陷入局部最优,同时提升解的质量与优化过程的稳定性。仿真结果表明,DyP-GWO算法在路径长度、航行时间方面表现出显著优势,为多UUV协同任务提供了有效的技术途径。
1 航路规划问题描述 1.1 环境建模航路规划的质量在很大程度上依赖于对海洋环境的精确建模[15]。为实现有效的路径优化与决策,本研究采用离散化方法对规划空间进行处理。将其划分一系列大小相同、彼此邻接的立方体网格,每个网格作为空间中的基本单元,其属性可包含水深、海底地形特征等多维环境信息。该离散化为复杂海洋环境的结构化建模与高效计算提供了基础。在实际建模中,规划空间以二维矩阵形式表示,矩阵中各元素对应网格的海洋高度信息,从而确保航路规划过程中能够准确反映实际地形起伏对航行路径的影响。
1.2 障碍物建模在复杂水下环境中,障碍物的数量与形态多变,对航路规划的实时性与计算效率提出了更高要求[16 - 17]。本研究采用球化处理方法,将不规则障碍物简化为球形模型,通过牺牲部分几何细节来大幅降低碰撞检测的计算复杂度,从而有效提升算法效率。该方法将障碍物的实际影响范围统一映射为球体空间,规划路径时仅需判断其与球体是否相交即可完成避障检测,显著简化了几何运算过程。这种保守的边界估计方式不仅考虑了障碍物本身的物理尺寸,还将其影响区域进行适度扩展,既避免了因边界不规则导致的碰撞风险,又为UUV航行提供了必要的安全容错空间。
1.3 约束分析 1.3.1 时间约束设第i个UUV航行时间为
| $ t_{\min}^{i}=\frac{{L}_{i}}{v_{\max}^{i}},t_{\max}^{i}=\frac{{L}_{i}}{v_{\min}^{i}},$ | (1) |
| $ t_{\min}^{i}\leqslant t_{c}^{i}\leqslant t_{\max}^{i} ,$ | (2) |
| $ {L}_{i}=\sum \limits_{k=1}^{N}\,{\left[({x}_{k+1}-{x}_{k}{)}^{2}+({y}_{k+1}-{y}_{k}{)}^{2}+({z}_{k+1}-{z}_{k}{)}^{2}\right]}^{\frac{1}{2}}。$ | (3) |
式中:
UUV集群在执行任务时,多个UUV执行不同的子任务或协同完成一个整体任务,而它们之间的相对运动需要协调,以避免发生碰撞[18 − 20]。需要确保它们之间保持合适的相对位置,避免任务交叉干扰。若没有有效的避碰策略,可能会导致集群的任务失败或UUV的损坏。为了避免UUV之间的碰撞,约束任意2个UUV之间的最小距离大于一个安全值
| $ \|\| {\boldsymbol{p}}_{i}\left(t\right)-{\boldsymbol{p}}_{j}\left(t\right)\|\| \geqslant {d}_{\mathrm{safe}}\text{,}\forall i\neq j\text{,}{i}, j\in \left(1.2{,}3\cdots m\right)。$ | (4) |
式中:
在UUV集群协同任务中,航行路程直接决定UUV的能源消耗总量[21-22],与航行成本呈正相关,通过最小化总路程,能有效控制UUV任务的综合成本,是保障UUV任务可行性与经济性的首要前提。将航迹长度指标
| $ {f}_{1}=\sum \limits_{i=1}^{m}\,{L}_{i}。$ | (5) |
各UUV航行时间方是差衡量多UUV协同任务同步性的关键指标。在编队探测、区域覆盖等协同任务中,若时间方差过大,可能导致部分区域出现探测空白、任务执行节奏紊乱,甚至影响后续协同步骤的衔接。
| $ {\overline{t}}_{c}=\frac{1}{m}\sum \limits_{i=1}^{m}t_{c}^{i}\text{,}{f}_{2}=\frac{1}{m}\sum \limits_{i=1}^{m}{\left(t_{c}^{i}-{\overline{t}}_{c}\right)}^{2}。$ | (6) |
海洋环境中存在礁石、沉船、水下管线等障碍,以及其他航行器、海洋生物等动态障碍,若UUV与障碍距离过近,可能引发碰撞事故,导致设备损坏、任务中断,甚至造成环境污染等严重后果[23]。为避免此类事故,航路规划算法需要感知并量化来自障碍物的威胁。由此,本文引入障碍物威胁指标
| $ {f}_{3}=\sum \limits_{i=1}^{m}\,\sum \limits_{j=1}^{n}\,\frac{1}{\mathit{\max } \left(\mathit{\dim } \left({\boldsymbol{p}}_{{i}},o{b}_{j}\right)\text{,}\varepsilon \right)} 。$ | (7) |
式中:
在UUV执行任务过程中,各UUV航行轨迹交叉或距离过近时,可能因通信延迟、控制误差等因素发生碰撞,导致多台设备同时受损,直接摧毁整个任务系统的执行能力。通过引入安全距离
| $ {f}_{4}=\sum \limits_{i=1}^{m}\,\sum \limits_{j=1}^{m}\,\frac{1}{\mathit{\max } \left(\mathit{\dim } \left({p}_{i},{p}_{j}\right)-{d}_{\mathrm{{safe}}}\text{,}\varepsilon \right)}。$ | (8) |
上述4个指标
| $ {F}_{cs}={w}_{1}{f}_{1}+{w}_{2}{f}_{2}+{w}_{3}{f}_{3}+{w}_{4}{f}_{4} 。$ | (9) |
式中:
灰狼优化算法GWO是一种受灰狼的社会等级和狩猎行为启发的元启发式优化算法,并非随机搜索方法,而是通过模拟灰狼的自然生物特性实现对优化问题的求解[24]。算法的设计基于灰狼的自然习性,其种群结构与社会规则是算法逻辑构建的核心依据:灰狼通常以群体形式生活,群体平均规模从5~12只不等,个体之间通过紧密协作形成有凝聚力的整体,共同完成捕食等关键生存活动,且整个群体在α狼的带领下开展行动。如图1所示,社会等级中最高的等级是α狼,它是狼群的领导者,主要负责各种活动的决策。第2个等级是β狼,它紧跟着α狼,协助决策。如果α狼变得虚弱或死亡,β狼就是承担α角色的主要候选者。第3个等级是δ狼,它追随α狼和β狼,同时对较低级别的成员具有优势。最后,等级最低的是ω狼,它服从于所有等级更高的狼,并跟随它们的领袖。凭借其出色的优化能力,GWO已被广泛应用于解决各种优化问题,涵盖函数优化、工程设计、航路规划等多个领域。
|
图 1 灰狼社会等级示意图 Fig. 1 Schematic diagram of wolf social hierarchy |
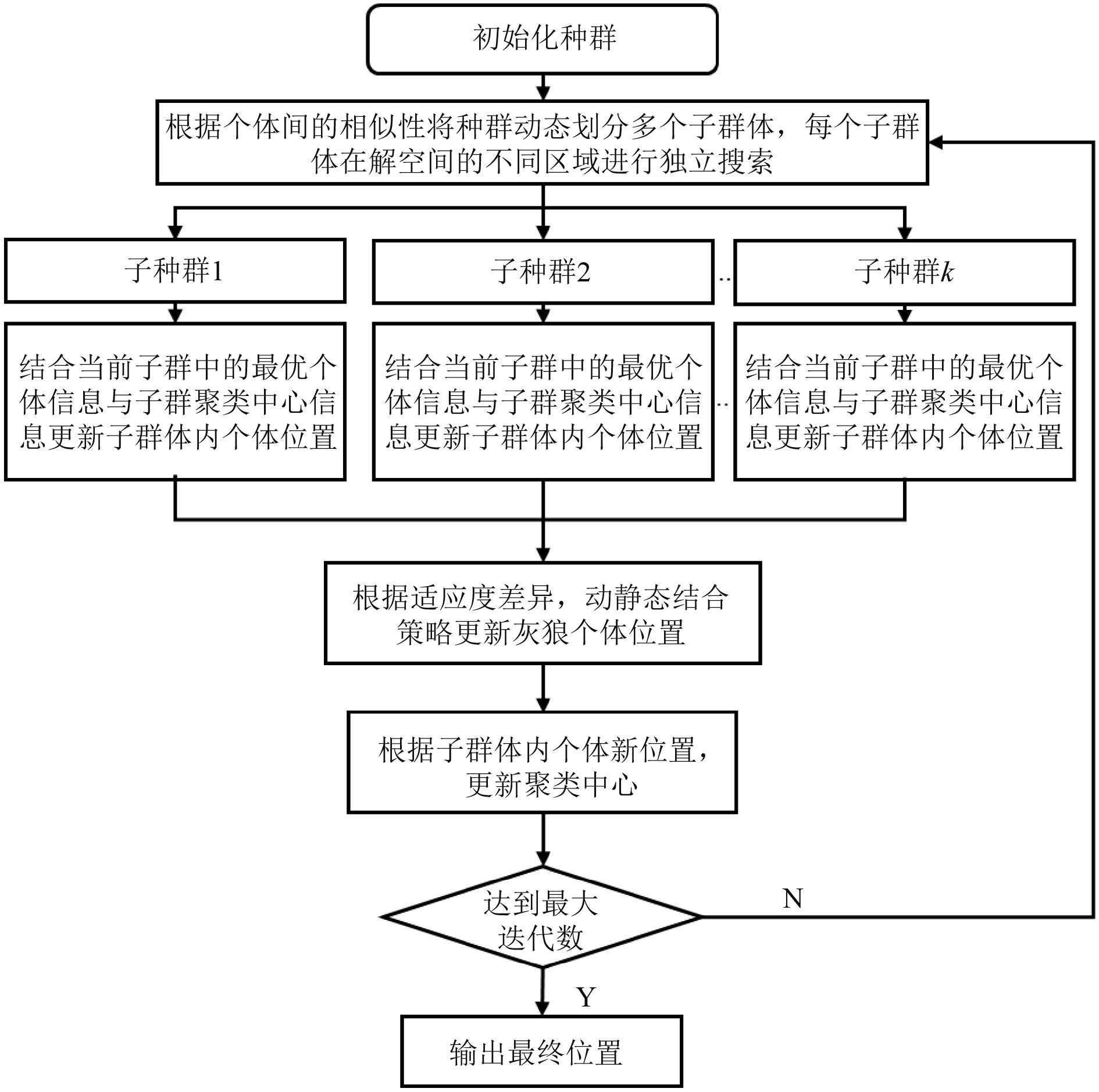
动态多种群灰狼算法的迭代优化流程如图2所示。首先初始化灰狼种群,再依据个体相似度将其动态划分为k个子种群,各子群在解空间独立搜索;随后结合子群最优个体与聚类中心信息更新子群内个体位置,再通过适应度差异的动静结合策略进一步更新个体位置,同时基于新位置更新聚类中心。最后判断是否达到最大迭代数,若满足则输出最终位置,否则返回聚类步骤继续迭代优化。
|
图 2 DyP-GWO算法框架图 Fig. 2 Frame of the DyP-GWO Algorithm |
动态聚类是算法优化过程中的一个关键步骤。根据种群个体相似性将种群划分为多个子群体。多个子群体能够在不同的方向和不同的解空间区域中进行搜索。通过在子群体之间交换信息,从而避免陷入局部最优解。能够有效防止单一种群陷入局部最优解[25]。算法可以更加充分地利用搜索空间的多样性,从而提高搜索效率和解的质量。设有一个包含m个UUV路径的种群
| $ P=\left\{{\boldsymbol{W}}_{1},{\boldsymbol{W}}_{2},\ldots ,{\boldsymbol{W}}_{m}\right\}。$ | (10) |
为实现分区域搜索,将种群P划分为k个子群体,记为
| $ {P}_{l}=\left\{{\boldsymbol{W}}_{i}\in P\left|\right.distance\left({\boldsymbol{W}}_{i},{\boldsymbol{C}}_{l}\right)\leqslant distance\left({\boldsymbol{W}}_{i},{\boldsymbol{C}}_{j}\right),l\neq j\right\}。$ | (11) |
式中:
| $ {\boldsymbol{C}}_{l}=\frac{1}{card\left( {P}_{l}\right) }\sum \limits_{{\boldsymbol{W}}_{i}\in {P}_{l}}\,{\boldsymbol{W}}_{i}。$ | (12) |
式中:
| $ \boldsymbol{W}_{i}^{\text{new}}=\boldsymbol{W}_{i}^{\text{old}}+\gamma \cdot \left(\boldsymbol{W}_{i}^{\text{best}}-\boldsymbol{W}_{i}^{\text{old}}\right)+\eta \cdot \left({\boldsymbol{C}}_{l}-\boldsymbol{W}_{i}^{\text{old}}\right) 。$ | (13) |
式中:
收敛因子a分阶段递减策略使得算法能够在不同的阶段采取适当的策略,从而提高全局搜索能力和局部搜索能力。前期探索阶段使用正弦波动方法来动态调整收敛因子,使其在合理范围内周期性震荡,算法倾向于广泛搜索解空间,避免陷入局部最优解。后期使用线性递减方法,逐步缩小收敛因子的取值范围,既能避免过早收敛,又能让算法在接近后期时逐渐过渡到更为精细的局部优化。
收敛因子
| $ a\left(iter\right) = \left\{\begin{aligned} &1 + \sin \left(\frac{\text{π} \cdot iter}{\max_{iter}}\right),1 \leqslant iter \leqslant ite\mathrm{r}\_ range,\\ &2 - \frac{2\cdot iter}{\max_{iter}},ite\mathrm{r}\_ range \lt iter \leqslant \max\_ iter。\end{aligned}\right. $ | (14) |
式中:
静态平均方法在位置更新时通常采用固定权重或固定的平均方式进行位置调整,适用于前期的广泛探索。而动态加权平均方法则根据个体适应度的变化,在后期优化中提供更细致的局部搜索能力。结合动态加权平均方法与静态平均方法的位置更新策略,在优化过程的不同阶段采用不同的策略,前期通过广泛搜索避免陷入局部最优,后期通过动态加权调整优化解的质量。
动态加权介入阈值和更新方法定义为:
| $ q=ga,$ | (15) |
| $ {v}_{\gamma }={v}_{\alpha }+{v}_{\beta }+{v}_{\delta },$ | (16) |
| $ \boldsymbol{X}\left(\tau +1\right)=\left({v}_{\alpha }{\boldsymbol{X}}_{1}+{v}_{\beta }{\boldsymbol{X}}_{2}+{v}_{\delta }{\boldsymbol{X}}_{3}\right)/{v}_{\gamma }。$ | (17) |
式中,
为了验证所提算法的有效性,将GWO、MP-GWO、PSO作为对比算法,进行仿真实验。构建如图3所示的水下场景。
|
图 3 水下障碍物分布示意图 Fig. 3 Schematic diagram of underwater obstacle distribution |
为选取更合适的算法权重配置,本研究设置了4组参数方案进行对比分析(见表1)。综合评估显示,方案4则呈现出更优的综合权衡:其距离与时间均接近最优水平,且时间方差显著低于方案1,稳定性较好。方案2虽将安全置于较高优先级,但其在航行距离与时间上均表现欠佳,反映出为提升安全性而牺牲了较多运行效率。相较于方案2效率不足、方案3稳定性提升有限而代价较高的情况,方案4在效率、安全与稳定性之间取得了更具实践意义的平衡,可作为实际运行中较为推荐的参数配置。
|
|
表 1 算法参数设置方案对比 Tab.1 Comparison of algorithm parameter settings |
从图4所示三维航路规划图可见,GWO算法的航迹曲折较多、平滑度差,各UUV路径分散明显,集群协同性不足;MP-GWO算法的航迹虽减少了部分弯折、拉近了路径间距,但仍存在局部绕路问题,集群协同优化不够充分;PSO算法的航迹平滑度与协同性介于GWO和 MP-GWO之间,整体表现中等;而DyP-GWO算法的航迹最为简洁平滑,无多余路径弯折,同时各UUV路径高度聚合、间距紧密,集群协同性极强,且与障碍物保持了合理安全距离。从图中可清晰看出,DyP-GWO在航迹平滑度、集群协同性及避障合理性上的表现均显著优于其他算法。
|
图 4 航路规划图 Fig. 4 Path planning diagram |
从图5所示迭代收敛曲线可以清晰地看出4种算法的寻优收敛特性差异。GWO算法的收敛曲线在前约60次迭代时适应度值迅速下降,但随后收敛速度大幅放缓,最终收敛值较高,表明该算法容易陷入局部最优,且全局搜索能力有限。MP-GWO算法的收敛曲线虽然在“平台期”有所缩短,寻优速度有所提升,最终收敛值较GWO低,但迭代后期仍能观察到收敛放缓,显示出其多子群策略虽然增加了搜索多样性,但由于信息交互不足,未能有效解决过早收敛的问题。PSO算法的收敛曲线表现为平缓下降,适应度值波动较大,且收敛所需迭代次数最多,表明其全局探索能力一般,容易出现搜索冗余,优化效率较低。相比之下,DyP-GWO算法的收敛曲线则展现出持续且平稳的下降趋势,不仅初期寻优速度快,而且整个迭代过程中的搜索效率都保持较高水平,表现显著优于前3种算法。
|
图 5 迭代曲线图 Fig. 5 Iteration curve plot |
在UUV集群协同航路规划任务中,通过对GWO、MP-GWO、PSO和DyP-GWO等4种算法进行50次独立重复仿真实验,并计算各项性能指标的算术平均值,能够有效降低随机因素对结果的干扰,更客观地反映算法的优化能力(见表2)。DyP-GWO在路径优化方面表现最为突出,优化幅度显著高于MP-GWO。PSO尽管在路径规划上有所改进,但路径长度接近GWO,且航行时间仍然较长,表现不如DyP-GWO。在航行时间方差方面,GWO的方差为54.2,MP-GWO通过多子群聚类有所改善,但仍未有效解决时间同步问题;PSO的航行时间方差为78.3,比GWO大,显示出其在多UUV任务中的时间协调性较差;DyP-GWO的航行时间方差较GWO降低了58.1%,相比MP-GWO降幅达50.2%,其动态参数调整策略显著提升了集群的协同稳定性和任务同步性。综上,DyP-GWO凭借其动态改进策略在路径优化、时间效率和协同稳定性上均表现优越,为UUV集群协同航路规划提供了一个高效且稳定的优化方案。
|
|
表 2 算法性能指标对比 Tab.2 Algorithm performance comparison |
本文提出的动态多种群灰狼优化算法(DyP-GWO),针对UUV集群在水下环境中航路规划的核心需求,通过动态聚类、分阶段收敛因子递减及动态位置更新机制,有效解决了标准GWO算法中存在的搜索多样性不足、过早收敛和更新效率低等关键问题。仿真实验结果表明,DyP-GWO在UUV集群协同航路规划中表现更优:航行时间减少 8.1%,航行路程减少 11.9%,且能有效规避障碍物与集群碰撞风险,验证了其在水下环境中的适用性与高效性。
| [1] |
WANG C, MEI D, WANG Y, et al. Task allocation for Multi-AUV system: a review[J]. Ocean Engineering, 2022, 266: 112911. DOI:10.1016/j.oceaneng.2022.112911 |
| [2] |
殷虎, 石磊鑫. 多UUV集群协同作业技术研究现状及发展趋势分析[J]. 舰船电子工程, 2024, 44(2): 4-9. YIN H, SHI L X. Research status and development trend of cooperative operation technology for Multi-UUV swarms[J]. Ship Electronic Engineering, 2024, 44(2): 4-9. |
| [3] |
付留芳, 周明, 李文哲, 等. 基于遗传算法的UUV应召搜潜路径规划[J]. 电光与控制, 2024, 31(7): 42-47,86. FU L F, ZHOU M, LI W Z, et al. Genetic algorithm-based path planning for UUV homing anti-submarine search[J]. Electronics Optics & Control, 2024, 31(7): 42-47,86. |
| [4] |
赵鹏程, 宋保维, 毛昭勇, 等. 基于改进的复合自适应遗传算法的UUV水下回收路径规划[J]. 兵工学报, 2022, 43(10): 2598-2608. ZHAO P C, SONG B W, MAO Z Y, et al. Path planning for UUV underwater recovery based on an improved hybrid adaptive genetic algorithm[J]. Acta Armamentarii, 2022, 43(10): 2598-2608. |
| [5] |
张向鹏, 黄双, 曹旭, 等. 多约束条件下多UUV任务分配方法[J]. 舰船科学技术, 2023, 45(20): 111-115. ZHANG X P, HUANG S, CAO X, et al. Multi-UUV task allocation method under multi-constraint conditions[J]. Ship Science and Technology, 2023, 45(20): 111-115. |
| [6] |
郭银景, 鲍建康, 刘琦, 等. AUV实时避障算法研究进展[J]. 水下无人系统学报, 2020, 28(4): 351-358+369. GUO Y J, BAO J K, LIU Q, et al. Research progress on real-time obstacle avoidance algorithms for AUVs[J]. Journal of Underwater Unmanned Systems, 2020, 28(4): 351-358+369. DOI:10.11993/j.issn.2096-3920.2020.04.001 |
| [7] |
曹宏涛, 耿令波, 张少泽, 等. UUV协同目标分配与轨迹规划技术研究[J]. 舰船科学技术, 2024, 46(17): 121-126. CAO H T, GENG L B, ZHANG S Z, et al. Research on cooperative target assignment and trajectory planning technology for UUVs[J]. Ship Science and Technology, 2024, 46(17): 121-126. |
| [8] |
冯炜, 张静远, 王众, 等. 海洋环境下基于量子行为粒子群优化的时间最短路径规划方法[J]. 海军工程大学学报, 2017, 29(6): 72-77. FENG W, ZHANG J Y, WANG Z, et al. Time-optimal path planning method based on Quantum-Behaved particle swarm optimization in marine environment[J]. Journal of Naval University of Engineering, 2017, 29(6): 72-77. |
| [9] |
严浙平, 邓超, 迟冬南, 等. 双种群粒子群算法及其在UUV路径规划中的应用[J]. 计算机工程与应用, 2013(15): 1-5. YAN Z P, DENG C, CHI D N, et al. Dual-population particle swarm optimization algorithm and its application in UUV path planning[J]. Computer Engineering and Applications, 2013(15): 1-5. DOI:10.3778/j.issn.1002-8331.1303-0460 |
| [10] |
王莹莹, 刘若璋, 孙骞, 等. UUV集群全局与局部融合路径规划方法[J]. 实验技术与管理, 2022, 39(6): 43-49. WANG Y Y, LIU R Z, SUN Q, et al. Global and local fusion path planning method for UUV swarms[J]. Experimental Technology and Management, 2022, 39(6): 43-49. DOI:10.16791/j.cnki.sjg.2022.06.008 |
| [11] |
MENG R H, CHENG X H, WU I J, et al. Improved ant colony optimization for safe path planning of AUV[J]. Heliyon, 2024, 10(7): e27753. DOI:10.1016/j.heliyon.2024.e27753 |
| [12] |
杨洋, 王征, 周帅, 等. 基于改进鱼群算法的UUV路径跟踪控制参数整定研究[J]. 兵器装备工程学报, 2023, 44(11): 126-132. YANG Y, WANG Z, ZHOU S, et al. Research on parameter tuning of UUV path tracking control based on improved fish swarm algorithm[J]. Journal of Ordnance Equipment Engineering, 2023, 44(11): 126-132. |
| [13] |
胡致远, 王征, 杨洋, 等. 基于人工鱼群-蚁群算法的UUV三维全局路径规划[J]. 兵工学报, 2022, 43(7): 1676-1684. HU Z Y, WANG Z, YANG Y, et al. Three-dimensional global path planning for UUVs based on artificial fish Swarm-Ant colony hybrid algorithm[J]. Acta Armamentarii, 2022, 43(7): 1676-1684. |
| [14] |
张玮, 马焱, 赵捍东, 等. 基于改进烟花-蚁群混合算法的智能移动体避障路径规划[J]. 控制与决策, 2019, 34(2): 335-343. ZHANG W, MA Y, ZHAO H D, et al. Obstacle avoidance path planning for intelligent mobile agents based on improved Fireworks-Ant colony hybrid algorithm[J]. Control and Decision, 2019, 34(2): 335-343. |
| [15] |
YANG J, LIU F, ZHANG H. Path planning of complex environment based on hyper view ant colony algorithm[J]. Journal of Computational Science, 2025, 90: 102658. DOI:10.1016/j.jocs.2025.102658 |
| [16] |
ZHANG J, XING J. Cooperative task assignment of multi-UAV system[J]. Chinese Journal of Aeronautics, 2020, 33(11): 2825-2827. DOI:10.1016/j.cja.2020.02.009 |
| [17] |
QAMAR R A, SARFRAZ M, RAHMAN A, et al. Multi-criterion multi-UAV task allocation under dynamic conditions[J]. Journal of King Saud University - Computer and Information Sciences, 2023, 35(9): 101734. DOI:10.1016/j.jksuci.2023.101734 |
| [18] |
YAN F, CHU J, HU J, et al. Cooperative task allocation with simultaneous arrival and resource constraint for multi-UAV using a genetic algorithm[J]. Expert Systems with Applications, 2024, 245: 123023. DOI:10.1016/j.eswa.2023.123023 |
| [19] |
张宏瀚, 郭焱阳, 许亚杰, 等. 多UUV搜索海底声信标任务规划方法[J]. 中国舰船研究, 2020, 15(1): 13-20. ZHANG H H, GUO Y Y, XU Y J, et al. Mission planning method for Multi-UUV submarine acoustic beacon search[J]. Chinese Journal of Ship Research, 2020, 15(1): 13-20. DOI:10.19693/j.issn.1673-3185.01641 |
| [20] |
任梓萌, 裴立冠. 基于种群智能优化的无人水下航行器任务分配方法研究[J]. 应用科技, 2025, 52(1): 114-121. REN Z M, PEI L G. Research on task allocation method for unmanned underwater vehicles based on swarm intelligence optimization[J]. Applied Science and Technology, 2025, 52(1): 114-121. |
| [21] |
ZHANG W, LI Z, WU W, et al. A bilevel task allocation method for heterogeneous multi-UUV recovery system[J]. Ocean Engineering, 2023, 274: 114057. DOI:10.1016/j.oceaneng.2023.114057 |
| [22] |
DING W, ZHANG L, ZHANG G, et al. Research on obstacle avoidance of multi-AUV cluster formation based on virtual structure and artificial potential field method[J]. Computers and Electrical Engineering, 2024, 117: 109250. DOI:10.1016/j.compeleceng.2024.109250 |
| [23] |
JADHAV A K, PANDI A R, SOMAYAJULA A. Collision avoidance for autonomous surface vessels using novel artificial potential fields[J]. Ocean Engineering, 2023, 288: 116011. DOI:10.1016/j.oceaneng.2023.116011 |
| [24] |
杨芳, 陈彦勇, 张云佳, 等. 基于改进灰狼算法的UUV集群任务分配研究[J]. 舰船科学技术, 2022, 44(22): 69-75. YANG F, CHEN Y Y, ZHANG Y J, et al. Research on task allocation of UUV swarms based on improved grey wolf optimizer[J]. Ship Science and Technology, 2022, 44(22): 69-75. DOI:10.3404/j.issn.1672-7649.2022.22.013 |
| [25] |
范学满, 薛昌友, 张会. 基于多种群遗传算法的多UUV任务分配方法[J]. 水下无人系统学报, 2022, 30(5): 621-630. FAN X M, XUE C Y, ZHANG H. Multi-UUV task allocation method based on multi-population genetic algorithm[J]. Journal of Underwater Unmanned Systems, 2022, 30(5): 621-630. |
2026, Vol. 48
