2. 哈尔滨工程大学 动力与能源工程学院,黑龙江 哈尔滨 150001;
3. 河南柴油机重工有限责任公司,河南 洛阳 471003
2. College of Power and Energy Engineering, Harbin Engineering University, Harbin 150001, China;
3. Henan Diesel Engine Industry Co., Ltd., Luoyang 471003, China
为了改善柴油机不同负荷工况的进气条件,提高整机性能,相应的增压技术应运而生[1]。由于传统涡轮增压技术存在低速性能差和匹配范围窄等问题[2]。为了解决这些问题,研究人员提出了更为先进的改进增压技术。作为其中的代表,相继增压技术因其能够有效拓宽柴油机的运行范围,改善柴油机的低工况性能,得到了广泛使用[3 - 4]。而由于对相继增压而言,切换策略的不同会极大影响柴油机运行过程中各种参数的变化,对柴油机的稳定运行有严重影响[5]。因此探索相继增压的切换策略有至关重要的意义。
国外对相继增压的研究较早,MTU公司首先采用相继增压技术来扩大柴油机的功率范围,提高柴油机在非设计匹配工况下运行的性能[6]。同时改善了发动机的动力性和经济性,并满足当时最新的国际排放法规[7]。Dziedzik等[8]利用最优涡轮增压切换策略的极限创建了一种相继增压控制器,该控制器根据发动机的运行条件来改变涡轮增压器的相位,以确保发动机的最大效率。Sterr等[9]基于校准的1-D 发动机模型,进行了详细研究,发现智能切换策略和优化尺寸的涡轮增压器,可在单涡轮增压和双涡轮增压模式之间过渡期间实现恒定的高扭矩水平。
在国内,相继增压系统的研究已取得显著进展,尤其是切换控制策略。李昕光等[10]针对柴油机相继增压系统的瞬态切换优化问题展开研究,通过系统比较不同开启延迟时间对发动机性能参数的影响,最终确定了最优控制方案。随着研究的深入,周文杰等[11]基于仿真分析提出了适当延迟压气机关闭可有效抑制喘振现象,而延迟开启则能预防倒流问题的发生。付勇刚等[12]通过一维性能仿真与实验验证相结合的方法,证实优化受控增压器切换工况点的选择可显著提升柴油机稳态运行性能。
除此之外,当前关于相继增压系统的研究主要集中于双增压器柴油机的切换策略,而对多增压器柴油机的探讨相对匮乏。王银燕等[13]针对配备4台增压器的柴油机开展研究,发现多增压器系统能够优化柴油机在不同工况下的动态过渡性能,显著改善其加速和起动特性。然而,尽管四增压器系统的研究已有成果,关于三增压器相继增压柴油机的切换控制策略仍缺乏系统性探索。因此,有必要对该系统进行深入研究,以揭示切换过程中关键参数的演变规律,并确定最优切换时机,从而填补现有研究的空白。
本研究基于GT-POWER软件对三增压器相继增压柴油机进行仿真分析,重点研究了急加速工况下的切换稳定性,空气阀延迟时间对各切换工况的影响。
1 系统模型建立 1.1 设备参数本文基于某型柴油机进行仿真计算,其主要参数如表1所示。
|
|
表 1 某相继增压柴油机主要技术参数 Tab.1 The main technical parameters of a sequential turbocharging diesel engine |
本研究通过 GT-POWER 建立一维仿真平台。其包含3个并联的增压器和相应的空气阀和燃气阀,并可由此完成3个TC的切换,满足实验仿真的需求。
图1为相继增压柴油机结构示意图。切换过程中,基本增压器1 TC时为增压器B,2 TC时为增压器A和B;受控增压器2 TC时为增压器A,3 TC时为增压器C。
|
图 1 相继增压柴油机系统结构示意图 Fig. 1 Schematic diagram of the structure of the sequential supercharged diesel engine system |
在建立相继增压仿真模型后,需要对模型进行验证,为仿真计算模型提供较为精准的模型,使仿真结果真实可靠。表2为稳态过程全运行工况下仿真模型的标定情况。
|
|
表 2 推进特性条件下关键参数试验值与仿真值对比 Tab.2 Comparison of the test values of key parameters under the condition of propulsion characteristics and the simulated values |
可知,每个工况的燃油消耗率、爆发压力以及进气流量的仿真值与试验值相近,燃油消耗率最大误差仅为2.56%,模型精度较高,可以满足柴油机工作工程的预测与仿真计算要求。
图2为燃烧模型的验证图。可知,100%工况下缸压和放热率的仿真值与试验值曲线基本重合,仿真精度较高,可以满足燃烧模型仿真计算要求。
|
图 2 燃烧模型验证 Fig. 2 Verification of the combustion model |
对于瞬态过程,主要是通过对柴油机模型进行快速加速仿真,如图3所示,通过在短时间内将发动机从怠速加速到全油门状态,并分析仿真图像中转速的变化规律,由此判断该柴油机模型在瞬态工况运行的稳定性。
|
图 3 目标转速与仿真转速 Fig. 3 Target speed and simulation speed |
可知,图线在
柴油机在运行过程中常面临紧急加速启动的工况需求,在此类瞬态工况下进行STC切换时,需重点考虑切换时机的选择、燃气阀/空气阀动态响应等关键问题。为评估该型柴油机在急加速工况下的动态性能表现,需开展针对性的仿真研究。仿真模型严格遵循给定的技术参数规范,并采用双韦伯燃烧模型以提高仿真精度,确保能够准确反映实际运行工况。
本次仿真设定目标转速从初始920 r/min开始,在30 s时间窗口内实现线性递增至
图4~图7为急加速工况下转速、燃油消耗率、喘振裕度和空燃比随运行时间变化的动态变化规律。其变化机理在于:当受控增压器接入时,空气流量和废气能量优先分配至新增压器,并于切换后逐渐向基本增压器重新分配直至稳定,这一能量再分配过程直接影响了各参数变化。同时,切换过程中进气量和废气流的改变会显著影响缸内氧浓度,从而导致空燃比波动。各参数具体变化特征如图4所示。
|
图 4 增压器转速变化 Fig. 4 Change of supercharger speed |
|
图 7 空燃比 Fig. 7 Air-to-combustion ratio |
通过对3个增压器转速曲线变化规律的研究,可以发现当相继增压系统进行切换之后,新加入运行的增压器在转速发生突增之后,迅速与之前已经在运行的增压器转速达成一致,转速曲线发生重合。
同时3个增压器在状态切换时转速在突增后均呈现出先降后升的典型响应特征,并且在切换点附近变化表现的尤其明显。这一现象表明该系统在急加速工况下仍能保持良好的切换性能。
通过对图5有效燃油消耗率曲线的趋势进行分析,可知在急加速过程中有效燃油消耗率整体表现良好,并呈现出“降低-增高-降低”的瞬态特征然后趋于稳定。该变化趋势反映了增压系统在切换过程中的动态调节特性。
|
图 5 有效燃油消耗率 Fig. 5 Effective fuel consumption rate |
通过对图6中3个增压器在急加速过程中的喘振裕度变化规律进行分析,可以发现当相继增压系统进行切换后,参与运行的增压器喘振裕度曲线迅速重合,并且这3个参与运行的增压器在切换点后稳定运行时,均呈现先降后升的典型裕度变化。
|
图 6 增压器喘振裕度 Fig. 6 Supercharger surge margin |
除此之外,还可以看到增压器B在整个切换过程中喘振裕度较低,而增压器A、C喘振裕度均大于0.15,因此,可以说明急加速过程中3个压气机均处于良好的运行状态。
通过对图7中空燃比曲线的变化规律进行研究,发现在整个运行期间中,随增压器数量增加,切换瞬间空燃比呈现先降后升的典型变化,同时,空燃比均大于22,可以保障缸内良好的燃烧状态。
3 稳态条件下STC切换过程的瞬态分析在相继增压系统切入过程中,阀门开启顺序至关重要。若先开启空气阀,由于压气机端尚未建立足够压力,将导致进气管气体倒灌,引发压气机反转及能量损失,应予以避免。因此在相继增压系统切入过程中,必须先打开燃气阀,再打开空气阀,废气先流入受控增压器涡轮端,带动受控压气机端转动,使得受控压气机端建立一定压力,此时再打开空气阀,受控压气机端压力大于进气管道内的压力,从而使受控增压器正常投入工作[14]。
当柴油机在切换点附近稳定运行,由于STC的切换,导致废气涡轮转速波动,使得进气压力出现变化,进而造成柴油机转速波动情况。研究切换延迟时间对增压器及柴油机性能的影响规律,对减少因压气机倒流引起的能量损失、进气压力以及柴油机的扭矩波动有着重要意义[15]。
本研究基于GT-Power构建柴油机一维仿真模型,结合Simulink开发燃气阀/空气阀定时切换控制模块,重点解决阀门切换导致的油气匹配问题。同时在仿真过程中采用预开启燃气阀的方式以防止气体倒流,并进行空气阀延迟缓开设计,即响应时间为0.5 s。在研究过程中同时基于喘振裕度等参数分析优化切换时机。
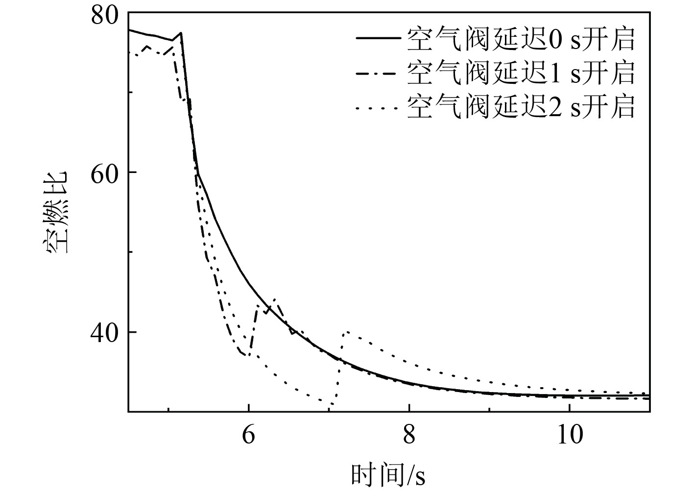
3.1 稳态条件下1TC向2TC切换过程的瞬态分析推进特性下,研究1TC向2TC切换过程对柴油机进气过程的影响,设置15%负荷下第5 s燃气阀打开,空气阀分别在第5、6、7 s进行响应,记作空气阀延迟开启时间为0、1、2 s。其中,0为旁通阀全关,90为旁通阀全开。为避免气体倒灌风险,排除延迟0 s方案。
图8~图12呈现了1 TC向2 TC切换过程中发动机转速、增压器转速、有效燃油消耗率、喘振裕度和空燃比在不同空气阀开启延迟时间下随运行时间变化趋势的图像。
|
图 8 发动机转速 Fig. 8 Engine rotation speed |
|
图 12 空燃比 Fig. 12 Air-fuel ratio |
分析发现,这些参数的变化特征主要源于废气能量的动态分配机制:在空气阀开启前,受控增压器燃气阀提前开启,使更多废气流向受控增压器,降低基本增压器的能量输入和出口压力,从而改善扫气效果,提升充气效率;而在空气阀开启后,由于受控增压器尚未达到稳定状态,废气能量重新分配,部分回流至基本增压器,影响其转速和背压,同时进气量增加,最终导致各参数呈现相应变化趋势。
图8图线变化趋势表明,1 TC切换至2 TC时转速呈现先降后升的趋势,且转速波动随空气阀延迟时间增加呈先减后增的变化规律。这是因为延迟过短会导致进气压力和燃烧效率波动,延迟过长则引起进气量骤变,均会加剧转速波动。优化分析表明,采用1 s延迟方案可使转速波动最小。
通过对图9中转速曲线变化趋势进行分析发现,增压器B在由1 TC切换到2 TC的过程中,3个开启延迟时间下,转速均发生了较大变化。转速在延迟0 s时最平稳,1 s次之,2 s波动最大;增压器A转速波动随空气阀开启延迟时间增大而依次加剧,延迟0 s时最稳定,2 s时波动最显著。这种现象的发生是由于空气阀开启延迟时间越长,受控增压器吸收废气能量越多,转速越高;而基本增压器因能量分配减少,转速相应降低。
|
图 9 增压器转速 Fig. 9 Supercharger speed |
图10为有效燃油消耗率整体呈现先降后升趋势。延迟2 s开启时,呈现先降后稳的特征。数据表明,延迟2 s时切换点消耗率较0 s方案增加6.42%,而1 s方案仅增加2.12%。这主要源于过长延迟导致进气不足,燃烧不充分。
|
图 10 有效燃油消耗率 Fig. 10 Effective fuel consumption rate |
通过对图11中双增压器切换过程中的喘振裕度曲线变化特征进行研究。可以发现受控增压器在燃气阀开启后呈现延迟响应特性,但全程保持正裕度;而基本增压器在空气阀开启延迟时间为1 s和2 s时出现短暂负裕度后快速恢复。
|
图 11 喘振裕度 Fig. 11 Surge margin |
可知,1 s延迟时基本增压器最小裕度为−0.1,2 s延迟时恶化至−0.31,这是由于过长的延迟会导致受控增压器空气积聚,在空气阀开启时引发出口压力骤升,从而显著增大基本增压器的背压冲击。
图12为空燃比全程保持在22以上,确保良好燃烧状态。但方案3切换时出现明显下降,最低值低于额定工况需求。分析表明,延迟时间延长会加剧压气机问题,降低进气压力,减少缸内氧含量,同时可能引发燃油预燃或热损失,从而影响空燃比和燃烧效率。
3.2 稳态条件下2TC向3TC切换过程的瞬态分析推进特性下,研究相继增压系统由2TC向3TC切换过程对柴油机进气过程的影响,设置切换条件在65%负荷下,即发动机转速为1992 r/min,而延迟时间设置与1TC向2TC切换时的设置相同。
图13~图17分别为2TC向3TC切换时发动机转速、增压器转速、有效燃油消耗率、喘振裕度和空燃比在不同空气阀开启延迟时间下随运行时间变化趋势的图像,变化原因与1TC向2TC切换时相同。
|
图 13 发动机转速 Fig. 13 Engine rotation speed |
|
图 17 空燃比 Fig. 17 Air-fuel ratio |
图13为稳态切换过程3个切换延迟时间发动机转速随运行时间变化趋势,通过对图像中曲线的变化趋势进行分析,可以发现当空气阀延迟1 s开启时,发动机转速波动相比于其他2个延迟时间更小,表明此时柴油机的运行更加平稳。由此可知该型柴油机在该延迟时间下进行相继增压的切换,对该型柴油机而言运行更稳定。
图14通过对转速曲线变化规律进行分析表明,增压器A在2TC切换3TC过程3个空气阀开启延迟时间下转速均出现了较大变化,由
|
图 14 增压器转速 Fig. 14 Supercharger speed |
其中开启延迟时间为0 s最为平滑,1 s和2 s均出现不同程度的波动,1 s时幅度相对更小。增压器C转速的转速波动幅度依次增大,与增压器A幅度变化相同。
通过对图15有效燃油消耗率曲线变化规律进行分析,可以发现有效燃油消耗率整体处于良好区间,并在切换过程中数值先下降后逐渐升高再缓慢下降,而空气阀开启延迟时间为2 s时变化幅度相较于另外2个延迟时间较大。
|
图 15 有效燃油消耗率 Fig. 15 Effective fuel consumption rate |
同时可知,延迟时间越长,压气机负担越重,空气阀开启时,有效燃油消耗率变化越大,当延迟2 s开启时,在切换点有效燃油消耗率相较于延迟0 s开启时增大了4.59%;当延迟1 s开启时,在切换点仅增大了1.7%。
由图16分析可知,增压器C全程保持正裕度,而增压器A在延迟时间1 s和2 s时出现过短暂负裕度后迅速恢复。数据对比显示,1 s延迟时增压器A最小裕度为−0.19,2 s延迟时恶化至−0.28,证实延迟时间与裕度恶化程度正相关。
|
图 16 增压器喘振裕度 Fig. 16 Surge margin |
通过对图17空燃比曲线的变化规律进行研究,可以发现当空气阀延迟开启时间为0 s和1 s时,空燃比全程维持在20以上,燃烧状态良好;而方案3切换时骤降至16,低于额定工况要求。数据证实延迟时间过长将显著恶化燃烧条件。
4 结 语1)采用该STC切换策略的柴油机在急加速工况条件下进行仿真研究,3个压气机都处于良好的运行状态,说明该型柴油机能很好的适应急加速过程。
2)空气阀延迟时间对柴油机性能影响显著:0 s延迟:易导致气体倒灌和燃烧不稳定;2 s延迟:燃油消耗率显著上升,1TC向2TC切换时为6.42%,2TC向3TC切换时为4.59%,喘振裕度恶化至−0.31;1 s延迟:性能最优,燃油消耗率增幅最小1TC向2TC切换时为2.12%,2TC向3TC切换时为1.7%,喘振裕度波动较小,为−0.19。
3)燃油消耗率和喘振裕度为关键性能指标,延迟时间过短或过长均会导致参数恶化,1 s延迟方案综合表现最佳,确保运行稳定性。
4)通过该仿真实验,给出了一种相继增压柴油机切换过程负荷选择的模板,即在1 TC向2 TC切换时选择15%负荷,在2 TC向3 TC切换时选择65%负荷,可适用于其他型号的三增压器相继增压柴油机,同时为不同型号柴油机提供了切换策略优化依据。
| [1] |
师文洁. 基于电辅助涡轮增压器调控的柴油机能效优化研究[D]. 天津: 天津大学, 2017.
|
| [2] |
张哲, 邓康耀. 相继涡轮增压柴油机推进特性的稳态及瞬态试验研究[J]. 内燃机工程, 2011, 32(6): 68-73. ZHANG Z, DENG K Y. Experimental research on steady and transient performances of propulsion characteristics of diesel engine with sequential turbocharging system[J]. Chinese Internal Combustion Engine Engineering, 2011, 32(6): 68-73. DOI:10.3969/j.issn.1000-0925.2011.06.014 |
| [3] |
李成, 马超, 陈秉智, 等. 相继增压系统对改善船用直列八缸发动机性能的试验研究[J]. 船舶工程, 2020, 42(8): 64-68+102. LI C, MA C, CHEN B Z, et al. Test research of sequential turbocharging system on improving marine eight cylinder engine performance[J]. Ship Engineering, 2020, 42(8): 64-68+102. DOI:10.13788/j.cnki.cbgc.2020.08.12 |
| [4] |
顾彬腾, 李先南, 石磊, 等. 高功率密度柴油机两级相继增压控制策略[J]. 船舶工程, 2022, 44(1): 64-68,95. GU B T, LI X N, SHI L, et al. Strategy of two-stage sequential turbocharging for high power density diesel engine[J]. Ship Engineering, 2022, 44(1): 64-68,95. DOI:10.13788/j.cnki.cbgc.2022.01.11 |
| [5] |
夏清梁. 相继增压系统对某游艇发动机的性能影响研究[D]. 厦门: 集美大学, 2018.
|
| [6] |
李京, 白洪林, 李耀宗, 等. 大功率柴油机相继增压技术研究综述[J]. 车用发动机, 2017(4): 73-77+83. LI J, BAI H L, LI Y Z, et al. Review of sequential turbocharging technology for high power diesel engine[J]. Vehicle Engine, 2017(4): 73-77+83. DOI:10.3969/j.issn.1001-2222.2017.04.015 |
| [7] |
GULMAR S, HERMANN B, VOLKER W. Utilizing multiple injections for optimized performance and exhaust emissions with the MTU series 2000 common rail marine engines[C]//CIMAC World Congress on Combustion Engines. 25th CIMAC World Congress, Volume 1 of 2. Vienna, Austria: Curran Associates, Inc. , 2007.
|
| [8] |
DZIEDZIK P, DANILECKI K. The concept of determining the control function of turbochargers in sequential turbo-charging[C]//Scientific Conference on Automotive Vehicles and Combustion Engines. Scientific Conference on Automotive Vehicles and Combustion Engines: KONMOT 2018 : Development of Vehicles - Construction, Operation, Ecology and Safety : Krakow, Poland, 13-14 September 2018, Part 2 of 2. Krakow: Institute of Physics, 2018.
|
| [9] |
STERR M, SLAVIC S, SANDOR I, et al. Thermodynamic advantages and challenges of a parallel sequential twin boosting system on a high efficiency 1.0 I CNG engine [C]//International Conference on Turbochargers and Turbocharging. 13th International Conference on Turbochargers and Turbocharging 2018: 16-17 May 2018, London, United Kingdom. London: Curran Associates, Inc. , 2018: 517-530.
|
| [10] |
李昕光, 王银燕, 何清林. 柴油机相继增压系统瞬态切换策略试验研究[J]. 哈尔滨工程大学学报, 2013, 34(8): 972-977. LI X G, WANG Y Y, HE Q L. Investigation on transient switching strategy of diesel engine sequential turbocharging system[J]. Journal of Harbin Engineering University, 2013, 34(8): 972-977. |
| [11] |
周文杰, 程江华, 石磊, 等. 柴油机相继增压切换过程阀门耦合控制研究[J]. 内燃机工程, 2020, 41(5): 70-76+83. ZHOU W J, CHENG J H, SHI L, et al. Research on valves coupling control in diesel engine sequential supercharging switching process[J]. Chinese Internal Combustion Engine Engineering, 2020, 41(5): 70-76+83. DOI:10.13949/j.cnki.nrjgc.2020.05.010 |
| [12] |
付永刚, 楚仕超, 苗翠婷, 等. 船用柴油机相继增压器切换工况选择及控制策略研究[J]. 内燃机, 2022, 38(5): 1-8. FU Y G, CHU S C, MIAO C T, et al. Research on the selection of switching condition and control strategy of sequential turbocharging system for marine diesel engine[J]. Internal Combustion Engines, 2022, 38(5): 1-8. DOI:10.3969/j.issn.1000-6494.2022.05.001 |
| [13] |
王银燕, 何清林, 王贺春, 等. 柴油机采用4台增压器相继增压性能的试验研究[J]. 内燃机工程, 2012, 33(1): 6-10+17. WANG Y Y, HE Q L, WANG H C, et al. Experimental research on performance of four-turbocharger sequential turbocharged diesel engine[J]. Chinese Internal Combustion Engine Engineering, 2012, 33(1): 6-10+17. DOI:10.3969/j.issn.1000-0925.2012.01.002 |
| [14] |
孙占款. 柴油机相继增压系统切换过程性能仿真研究[D]. 哈尔滨: 哈尔滨工程大学, 2021.
|
| [15] |
王振彪, 田伟, 邓春龙, 等. 某大功率柴油机顺序增压系统切换过程试验研究[J]. 车用发动机, 2009(5): 80-84. WANG Z B, TIAN W, DENG C L, et al. Experimental research on switching process of sequential turbocharging system for a high power diesel engine[J]. Vehicle Engine, 2009(5): 80-84. DOI:10.3969/j.issn.1001-2222.2009.05.019 |
2026, Vol. 48
