在全球经济一体化推动下,国际航运业规模扩张,船舶航行中污染物排放增多、能源消耗加剧,环境污染与能源枯竭问题日益突出。在这样的背景下,推动造船业向低碳、环保的全电推进技术转型显得尤为重要。2024年国家发改委等部门《关于大力实施可再生能源替代行动的指导意见》中鼓励绿色电动智能船舶试点应用,支持有条件的地区开展氢能等绿色能源在船舶、航空领域的试点运行。在一系列政策的积极引导与有力支持下,船舶工业将新能源视作核心突破口,加快产业绿色转型进程,全力推动行业向绿色化、智能化方向发展[1]。
航运业对船舶续航里程、载重能力、工作负荷等性能指标要求严苛,现阶段纯电动船舶难以满足,制约其规模化应用。燃料电池凭借其高效、环保的优点[2 - 4],成为造船行业的重点发展方向之一。然而,不具备自启动能力、动态响应能力差、缺乏实时快速的调峰能力等一系列缺点,使得燃料电池无法作为单独的动力源。为了克服这些限制,燃料电池船舶通常采用混合动力系统,将燃料电池与蓄电池、超级电容等储能设备相结合。混合动力系统中由于存在多种能量源,如何协调能量源之间的出力关系,提出一种经济可靠的能量管理策略,已成为氢燃料电池船舶产业发展过程中必须解决的关键科学与工程问题。
燃料电池混合动力船舶能量管理策略,需兼顾动力输出、能效等多元目标,以及电池容量等多类约束条件。首先,在多种能源系统的共同作用下,合理分配各系统的功率输出,确保燃料电池始终运行在其最优工作区间,以提高系统整体能效。其次,通过能量管理策略,优化燃料电池船舶的经济性,降低燃料电池船舶的等效氢耗。此外,锂电池作为一个重要的辅助动力来源,需要确保锂电池的荷电状态(State of Charge,SOC)稳定,并在合理范围内进行调节,既有助于延长电池寿命,又能够保证船舶在不同工况下的高效运行。因此,需要设计一种既能够提高船舶经济性,又能保证锂电池电量充足、燃料电池工作效率高的能量管理策略。
为提升氢燃料电池船舶的综合性能,全球科研人员提出多种能量管理策略,精准调控燃料电池与协同电源功率分配,实现能源高效利用及性能优化。目前,这些能量管理策略可以分为3个类别,即基于规则的、基于优化的与基于智能方法的能量管理策略。基于规则的能量管理策略,包括有限状态机策略、模糊规则和频域解耦。HAN等[5]针对燃料电池船舶特定工况提出了根据锂电池SOC与负载功率等信息进行模式切换的能量管理策略。杨再明等[6]采用模糊规则对氢燃料电池船的复合储能系统确定功率分配因子。闫立等[7]使用小波包-模糊控制规则平稳燃料电池输出功率及稳定母线电压。罗辑等[8]使用粒子群算法优化模糊策略中的阈值,有效提高了该策略的性能。潘钊等[9]设计了基于频域解耦的模糊控制能量调度策略,将功率合理的分配给每个动力源。李致朋等[10]设计了燃料电池开关策略,降低氢耗量,提高系统的经济性。然而,基于规则的能量管理策略过于依靠专家知识与专业经验,需要大量时间来选择合适的参数以达到特定效果。
基于优化的能量管理策略,要构建精准能源系统模型,确定科学合理的目标函数,选取适配优化算法求解,从而获取目标函数的最优解,分为全局优化与瞬时优化2种。动态规划策略和庞特里亚金极小值原理是2种典型的全局优化策略。WU等[11]使用动态规划方法计算电池退化率作用在燃料电池沿海渡轮,延长电池的使用寿命。孟翔等[12]使用庞特里亚金极小值原理解决了燃料电池混合动力系统分层调度的问题,在降低氢耗的同时提高系统的耐久性。基于全局优化的能量管理策略依赖完整的先验信息、实时性差。瞬时优化包括等效氢耗最小和模型预测控制(Model Predictive Control ,MPC)等。王宁等[13]针对燃料电池寿命衰减提出了一种自适应等效氢耗策略,来提高燃料电池船舶的经济性与耐久性。等效氢耗最小策略过于注重等效氢耗指标,易达到局部最优。赵凡非等[14]针对多组燃料电池设计了一种基于粒子群算法的多级功率分配策略,达到氢耗量降低的目标,当负载功率变化时燃料电池功率变化波动小,提高了燃料电池的经济性和耐久性。
基于智能方法的能量管理策略刚刚起步,目前的主流算法是强化学习算法。该策略数据量要求大、设计困难、模型要求高。ZHU等[15]将燃料电池寿命转化为成本,使用深度Q学习进行功率分配,提高了燃料电池的经济性。
近年来,模型预测控制以其强大的多变量和约束处理能力,基于准确模型预测与滚动优化策略被应用在能量管理中。目前也已经有许多基于MPC的能量管理策略被提出[16 - 17]。周寅正等[18]针对客渡船提出了一种MPC算法来降低燃油消耗率;VAFAMAND等[19]针对纯电动渡轮提出了一种基于改进 MPC 能量调度方法来提高船舶混动系统的稳定性。
MPC的过程包括预测与优化,传统MPC策略预测时假定预测时域内船舶负载功率恒定,等于当前值,存在局限。尽管这一假设使得MPC在船舶上可行,但过于理想,无法提供准确的预测结果,从而增大燃料电池船的等效氢耗,降低燃料电池的效率。为了解决上述问题,本文提出了一种基于随机模型预测控制(Stochastic Model Predictive Control,SMPC)的能量管理策略,其贡献如下:1)借助马尔科夫链针对船速展开预测,进而对预测时域内的负载功率进行精准预测。将预测所得的负载功率与荷电状态的预测值相结合,构建预测模型,弥补了预测时域内负载功率信息缺失的缺点。2)通过使用SMPC能量管理策略,燃料电池船可以在保护燃料电池耐久性和维持电池状态的同时,等效氢耗最小。与其他2种策略相比能够有效减少系统的等效氢耗,实现更加可靠的能量管理策略。3)根据收集到的氢燃料电池船数据,将所提策略与其他方法的优化性能进行对比,验证本文所设计的能量管理策略在混合动力系统上的有效性和优越性。
1 船舶燃料电池动力系统模型本文以某电动船舶改装后的氢燃料电池混合动力系统结构为研究对象,其结构如图1所示。燃料电池作为主动力源,承担大部分负载功率,同时也可以为锂电池充电。锂电池作为储能装置,对负载功率进行“削峰填谷”。燃料电池通过单向DC/DC变换器连接到直流母线,可以直接控制燃料电池的输出功率。锂电池通过双向DC/DC变换器连接到直流母线,支撑母线电压稳定。本文研究的氢燃料电池船混合动力系统的具体参数如表1所示。
|
图 1 燃料电池混合动力系统结构图 Fig. 1 Structural diagram of hybrid fuel cell power system |
|
|
表 1 燃料电池船动力系统参数 Tab.1 Fuel cell ship power system parameters |
燃料电池的瞬时氢耗为如式(1)所示 ,n为电池堆数目;Mh为氢的摩尔质量;F为法拉第常数;Ist为燃料电池输出电流。氢耗与燃料电池功率的关系如式(2)所示[20],k1-k3均为拟合参数,数值如表2所示。
|
|
表 2 拟合函数参数值 Tab.2 Fit function parameter values |
| $ \stackrel{·}{{m}_{h}}=\frac{n\cdot {M}_{{h}}}{2F}\cdot {I}_{{st}}, $ | (1) |
| $ \stackrel{·}{{m}_{h}}={k}_{1}{P}_{{fc}}^{\text{2}}+{k}_{2}{P}_{{fc}}+{k}_{3}。$ | (2) |
燃料电池效率ηfc可由氢耗速率得到,见式(3),LHV为氢的低热值,燃料电池效率曲线如图2所示。燃料电池效率与功率的关系,见式(4),k4-k7均为拟合参数,数值如表2所示。
|
图 2 燃料电池效率曲线 Fig. 2 Fuel cell efficiency curve |
| $ {\eta }_{\text{fc}}=\frac{{P}_{{fc}}}{\stackrel{·}{{m}_{{h}}}LHV},$ | (3) |
| $ {\eta _{{{fc}}}} = \frac{{{k_4}{P_{{{fc}}}}^3 + {k_5}P_{{{fc}}}^{\text{2}} + {k_6}{P_{{{fc}}}} + {k_7}}}{{{k_8} + {P_{{{fc}}}}}}。$ | (4) |
锂电池选用内阻模型,等效电路图如图3所示。电压UBP与电流IBP之间的关系见式(5),UBP为锂电池的端电压;UOC为锂电池的开路电压;IBP为锂电池的负载电流;R为锂电池的内阻。电流IBP与锂电池输出功率Pbat的关系式如下:
|
图 3 锂电池等效电路图 Fig. 3 Equivalent circuit diagram of lithium battery |
| $ {U_{{{BP}}}} = {U_{{{OC}}}} - {I_{{{BP}}}}R,$ | (5) |
| $ {I_{{{BP}}}} = \frac{{{U_{{{OC}}}} - \sqrt {U_{{{OC}}}^{\text{2}} - 4R{P_{{\text{bat}}}}} }}{{2R}}。$ | (6) |
锂电池作为储能元件,能量密度低,易因过充过放而产生损伤,为了延长锂电池的使用寿命,需要保持锂电池的SOC稳定。锂电池SOC作为一项重要的状态量,可由式(7)计算得,Q为当前锂电池剩余电量,Qc为锂电池的容量。锂电池SOC可以采用安时积分法式(8)进行计算其中,SOC0为初始SOC。的变化率为:
| $ {SOC} = \frac{Q}{{{Q_{{c}}}}},$ | (7) |
| $ {SOC}=S OC_0-\frac{\int_{ }^{ }I_{BP}(t)\mathrm{d}t}{Q_c}, $ | (8) |
| $ \stackrel{·}{{SOC}}=-\dfrac{{I}_{{BP}}}{{Q}_{{c}}}\text=\frac{{U}_{{oc}}-\sqrt{{U}_{{oc}}^{2}-4R{P}_{\text{bat}}}}{2R{Q}_{{c}}}。$ | (9) |
MPC的原理是在每个采样周期内,根据当前系统状态在线求解有限时域优化问题,生成最优控制序列,应用其中的首个控制量。随后通过状态更新,重复优化计算,获得新的控制序列。
MPC策略的设计将包括以下步骤:首先是建立燃料电池船舶动力系统的预测模型;其次是定义能量管理策略的优化目标;最后选择合适的最优化问题求解算法。传统MPC策略设计预测模型时,假设预测时域内负载功率不变,简化为定值,虽可规避信息缺失的问题,但由此将导致优化性能变差。SMPC策略作为MPC策略的改进,设计时同样遵守以上步骤,在预测模型搭建的过程中,对预测时域内负载功率进行预测。船舶负载分为日用负载和推进负载,其中日用负载功率为常数,推进负载功率是船速的函数。想要获取预测时域内负载信息,精准的船速数据不可或缺 。
2.1.1 基于马尔科夫链的船速预测船速预测的方法很多,如马尔科夫链预测、人工神经网络预测、深度学习预测和多源信息融合预测。在这些方法中,马尔科夫链预测法兼具准确性和快速性。因此本文使用马尔可夫链的方法预测短时域内的船舶速度。为了提高基于马尔科夫链的船速预测的准确度,收集该电动船2024年6月4日—17日的航行情况,共有船速数据
首先将
| $ {\boldsymbol{v}} \in \left\{ {{v^1},{v^2}, \cdots {v^{{N_v}}}} \right\}。$ | (10) |
状态转移矩阵为马尔可夫链的核心。在马尔可夫链预测过程中,状态可以保持或改变。状态的改变叫做转移,与不同的状态改变相关的概率叫做转移概率。计算式为:
| $ P = \left[ {\begin{array}{*{20}{c}} {{p_{11}}}&{{p_{12}}}& \cdots &{{p_{1k}}} \\ {{p_{21}}}&{{p_{22}}}& \cdots &{{p_{2k}}} \\ \vdots & \vdots &{}& \vdots \\ {{p_{k1}}}&{{p_{k2}}}& \cdots &{{p_{kk}}} \end{array}} \right]。$ | (11) |
重复上述步骤,即可进行多步预测,得到所需的预测船速序列v。预测步骤计算式为:
| $ {\boldsymbol A^{\text{i}}}(k + 1) = {\boldsymbol A^{\text{i}}}(k)P = {\boldsymbol A^{\text{i}}}(1){P^k}。$ | (12) |
得到精确的船速序列后,对负载功率进行预测。船舶负载由日用负载与推进负载组成,Pr为日用负载功率,Pt为推进负载功率。推进负载功率是船速的函数[21],σ为船舶阻力系数,每一个船速对应不同的σ,通过采集到的2 000条船舶推进负载与船速的数据进行计算获得。计算式为:
| $ {P_{{\text{Load}}}} = {P_{{r}}} + {P_{{t}}},$ | (13) |
| $ {P_{{t}}} = \sigma \times {v^3}。$ | (14) |
在SMPC中时间序列离散,对式(9)进行离散化处理得到SMPC策略的预测模型,x(k)=SOC(k),u(k)=Pfc(k),输出y(k)是一个三维列向量,y1是氢气消耗速率,y2是锂电池SOC,y3是燃料电池效率。计算式为:
| $\left\{ \begin{aligned} &x(k + 1) = x(k) - \dfrac{{U}_{{oc}} - \sqrt{{U}_{{oc}}^{2} - 4R({P}_{\text{Load}}(k) - u(k)})}{2R{Q}_{c}}\Delta t,\\ &{P}_{\text{Load}}(k)=h(v(k)),\\ &{y}_{1}(k)={\stackrel{·}{m}}_{{{H}}_{\text{2}}}(u(k)),\\ &{y}_{2}(k)=x(k),\\ &{y}_{3}(k)={\eta }_{{fc}}(u(k))。\\[-1pt] \end{aligned}\right.$ | (15) |
1)等效氢耗代价函数
使用等效氢耗法设计经济代价函数见式(16),
| $ {J_1}(k) = \left\| {C[{y_1}(k),{y_2}(k),{y_3}(k)]} \right\|_2^2,$ | (16) |
| $ C = {C_{{{fc}}}} + k{C_{{\text{bat}}}},$ | (17) |
| $ k = 1 - 2\mu \frac{{{SOC} - 0.5\left( {{SOC}{_{\max }} + {SOC}{_{\min }}} \right)}}{{{SOC}{_{\max }} - {SOC}{_{\min }}}},$ | (18) |
| $ {C_{{\text{bat}}}} = \left\{ \begin{aligned} &\frac{{{P_{{\text{bat}}}}}}{{{\eta _{{\text{dis}}}}{\eta _{{{fc}}}}LHV}},{P_{{\text{bat}}}} \geqslant {\text{0}},\\ &\frac{{{P_{{\text{bat}}}}{\eta _{{{chg}}}}}}{{{\eta _{{{fc}}}}LHV}},{P_{{\text{bat}}}}{\text{ < 0}} 。\end{aligned} \right. $ | (19) |
2)锂电池保持代价函数
为了保持SOC稳定,设计SOC稳定代价函数如式(20),J2(k)为k时刻的锂电池保持代价函数,SOCref为SOC的参考值,是常数,本文取0.7。计算式为:
| $ J_2(k)= \left\| y_2(k)-{SOC}_{\text{ref}} \right\| _2^2。$ | (20) |
3)效率代价函数
为了让燃料电池工作在高效率区间,设计效率代价函数见式(21),J3(k)为k时刻的效率代价函数。计算式为:
| $ {J_3}(k) = - \left\| {{y_3}(k)} \right\|_2^2。$ | (21) |
根据上述公式,可以得到在预测时域内的代价函数见式(22),N为预测时域,λ1、λ2和λ3为权重参数。计算式为:
| $ J(k) = \sum\limits_{t = 0}^{N - 1} {\left[ {{\lambda _1}{J_1}(k + t) + {\lambda _2}{J_2}(k + t) + {\lambda _3}{J_3}(k + t)} \right]}。$ | (22) |
在MPC代价函数的设计过程中必须考虑混合动力系统的各种约束。约束见式(23),Pfc,min与Pfc,max分别为燃料电池最小输出功率与最大输出功率,ΔPfc,max为燃料电池最大升载速率。计算式为:
| $\left\{ \begin{aligned} &{SOC}_{{min}} < {SOC}(k) < {SOC}_{\mathrm{max}},\\ &{P}_{{fc},\mathrm{min}} < {P}_{{fc}}(k) < {P}_{{fc}\text{,}\mathrm{max}},\\ &\Delta {P}_{{fc}}(k) < \Delta {P}_{{fc}\text{,}\mathrm{max}},\\ &{P}_{{fc}}(k)+{P}_{\text{bat}}(k)={P}_{\text{Load}}(k)。\end{aligned}\right. $ | (23) |
采用序列二次规划算法(SQP)求解式(22)与(23)描述的优化问题,该算法的实质是将复杂的非线性优化问题转化为一系列易解的二次规划问题,通过迭代逐步逼近全局最优解,同时兼顾效率与准确性。该算法具有快速收敛、处理复杂问题能力强、通用性强等优点,已在诸多MPC工程中得到验证[22-23]。
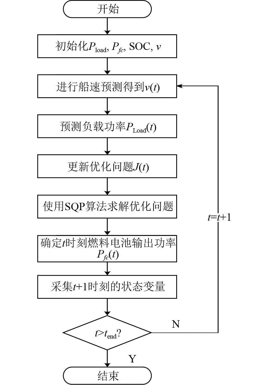
在SMPC的每个采样周期内,需在线求解式(22)所描述的最优控制问题,来获取最优控制序列。根据式 (22)、式(23),代价函数求解需要获取准确的x(k)的数值,由式(15)可以计算得到。图4所示为SMPC策略的运行流程。
|
图 4 SMPC运行流程图 Fig. 4 Operation flowchart of SMPC control algorithm |
为了验证本文提出的基于SMPC的燃料电池船舶能量管理策略,设计仿真实验并对结果进行分析和讨论。实验环境为基于StarSim HIL和RCP的燃料电池船舶混合动力系统能量管理的硬件在环半实物仿真实验平台。StarSim HIL主要用于搭建基于半实物硬件在环仿真系统的燃料电池船舶混合动力系统的拓扑模型,实时硬件运行系统中的被控对象模型;StarSim RCP则配合HIL中相应的半实物仿真,作为原型控制器来使用,用于将设计的能量管理策略下载到实时硬件处理器上实时运行。收集到该船舶某天的船速如图5所示,负载功率如图6所示。
|
图 5 某天航行时船速曲线 Fig. 5 Ship speed of one day |
|
图 6 某天航行时负载功率曲线 Fig. 6 Load power of one day |
预测时间长度为5 min,采样周期为1 min。船速预测结果如图7所示。图7(a)中可以看出预测船速在大多数情况下与真实船速相吻合。比较大的预测误差发生在加速与减速的切换过程中。
|
图 7 船速预测结果 Fig. 7 Ship speed prediction results |
鉴于预测时间只有5 min,而整个运行过程时间跨度很大,从宏观层面的预测结果着手,难以精准解析预测行为的细节信息。因此,图7(b)所示为一段20~40 min的船速预测曲线。在20~40 min内真实船速从0逐渐上升到18 km/h,又下降到0。在该时间区间内,基于马尔可夫链的船速预测模型能够有效捕捉船速的动态变化趋势,实现对船速的预测,但是预测结果存在一定的时间滞后性,且预测值与实际船速间存在一定程度的偏差。在24 min后,实际船速已呈上升态势,然而预测船速仍停滞于4 km/h,因为此前船舶速度恒定于4 km/h的状态,预判船舶会维持该速度继续航行,进而导致明显的预测滞后现象。在 33 min后,船舶进入减速阶段,虽捕捉到船速下降趋势,可预测减速度明显小于实际减速度,因为在 33 min时船舶仍保持匀速航行,减速度为0,判定船舶在后续1 min大概率以较低减速度运行,致使预测减速度出现偏差。
为了进一步分析马尔科夫链的船速预测的准确度,使用均方根误差(Root Mean Squared Error,RMSE)作为预测精度的评价标准。表3所示为3种不同预测时长下船速预测的RMSE值。根据表中的数据可以发现,随着预测时长的增加会导致预测误差的增加。所以在后文的仿真中,船速预测的预测时长均设置为5 min。
|
|
表 3 不同预测时长下RMSE值 Tab.3 RESM values under different prediction horizons |
将从2个维度对 SMPC 策略的有效性展开验证与探讨。首先,把 SMPC 策略与有限状态机策略及 MPC 策略进行对比,分析并评估 SMPC 策略在能量管理方面所实现的提升;其次,探究不同权重参数对各个优化目标产生的作用及影响。
有限状态机(Finite State Machine,FSM)策略是一种基于规则的能量管理策略,通过预定义的状态阈值判断当前状态,从而执行决策动作,即确定2台燃料电池输出功率值与2台锂电池输出功率值。如图8所示,首先判断SOC状态,其次分析负载功率所处状态,接着综合确定动力系统整体状态,最终输出合适的燃料电池功率。
|
图 8 有限状态机策略框图 Fig. 8 Finite state machine strategy block diagram |
仿真过程中,MPC策略与SMPC策略的权重参数为λ1=5.7、λ2=1、λ3=1,该参数基于MPC策略的多组参数组合测试得到,初始锂电池SOC为69%。FSM、MPC与SMPC等3种策略的仿真结果如图9~图12所示。在图9中可以看到,FSM策略的燃料电池输出功率变化幅度最大,MPC策略的输出功率最为平稳。
|
图 9 3种策略燃料电池功率 Fig. 9 Fuel cell power for three strategies |
图10为3种策略的等效氢耗。其中,FSM策略的等效氢耗为2712.3 g,MPC策略的等效氢耗为2646.0 g,SMPC策略的等效氢耗为2601.6 g。SMPC策略的等效氢耗最低,SMPC策略等效氢耗较MPC策略低1.7%。
|
图 10 3种策略等效氢耗 Fig. 10 Equivalent hydrogen consumption for three strategies |
图11为3种策略中燃料电池的效率。在仿真时间内MPC策略的燃料电平均效率为60.19%,SMPC策略的燃料电池平均效率为59.75%,FSM策略中燃料电池平均效率为54.10%。
|
图 11 3种策略燃料电池效率 Fig. 11 Fuel cell efficiency for three strategies |
图12为3种策略中锂电池SOC的变化情况。在仿真结束时,FSM策略、MPC策略、SMPC策略距参考值的误差分别为1.46%、1.26%与1.32%。3种策略均未达到参考值,FSM策略距参考值的误差最大。
|
图 12 3种策略SOC Fig. 12 SOC for three strategies |
通过以上结果可以得出结论,在该测试工况中,SMPC策略能保证锂电池有充足的电量储备,保持燃料电池以高效率运行,同时与MPC策略相比有更好的经济性,为SMPC策略的上船实验提供了可能性。
在前文中,已经验证了SMPC策略较其他策略的可靠性与优势,在本节中将讨论不同权重参数对SMPC效果的影响。3组不同的权重参数如表4所示。
|
|
表 4 不同的目标权重参数组合 Tab.4 Comparison of simulation results for different strategies |
图13~图15为不同权重参数组合在仿真工况中的仿真结果。Case A组和Case B组的结果对照可以体现出代价函数中等效氢耗项的作用,Case B和Case C组的结果对照可以体现出代价函数中SOC项的权重参数大小对能量管理效果的影响。
|
图 13 不同权重等效氢耗 Fig. 13 Equivalent hydrogen consumption for different weights |
|
图 15 不同权重燃电效率 Fig. 15 Fuel cell efficiency for different weights |
在图13中,Case A的等效氢耗为2601.6 g,Case B的等效氢耗为2713.4 g,Case C的等效氢耗为3003.7 g。Case A的等效氢耗最低,说明燃料电池等效氢耗项的权重调高,等效氢耗降低。
在图14中,在仿真结束时,Case A的SOC距参考值为1.33%,Case B的SOC距参考值为1.18%,Case C的SOC距参考值为0.89%,Case C的锂电池SOC距离参考值误差最小,说明升高锂电池SOC项的权重,距离参考值误差越小。
|
图 14 不同权重SOC Fig. 14 SOC for different weights |
图15所示为3组参数的效率曲线,在仿真时间内Case A的燃料电池平均效率为60.19%,Case B的燃料电池平均效率为60.43%,Case C的燃料电池平均效率为59.10%。可以看出Case C的燃料电池平均效率最低,为了让SOC接近参考值,燃料电池功率升高,效率降低。
在3组参数中,Case C的SOC距参考值更近,但等效氢耗最大,效率最低,所以优化效果最差。Case B与Case A相比,虽然锂电池SOC距参考值更近,效率更高,但等效氢耗与FSM策略相等,所以Case A优化效果优于Case B。Case A 的优化效果在3组参数中为最优。
3 结 语本文针对传统MPC燃料电池船能量管理策略中预测时域中缺少负载需求功率的问题,设计了一种基于马尔可夫链速度预测的随机模型预测控制能量管理策略。仿真结果表明,SMPC策略能够准确预测船速变化,与FSM策略相比,等效氢耗降低4%,燃料电池效率更高,SOC距参考值更近;与MPC策略相比,等效氢耗降低了1.7%。未来的研究可以结合更多实际工况和先进算法进一步研究燃料电池寿命优化,提高求解速度,以适应复杂多变的应用环境,助力绿色交通和可持续能源的发展。
| [1] |
PALMER K, TATE JE, WADUD Z, et al. Total cost of ownership and market share for hybrid and electric vehicles in the UK, US and Japan[J]. Appl Energy 2018, 209: 108–19.
|
| [2] |
童亮, 袁裕鹏, 李骁, 等. 我国氢动力船舶创新发展研究[J]. 中国工程科学, 2022, 24(3): 127-139. TONG L, YUAN Y P, LI X, et al. Innovative developmental of hydrogen-powered ships in china[J]. Strategic Study of CAE, 2022, 24(3): 127-139. DOI:10.15302/J-SSCAE-2022.03.014 |
| [3] |
FAN A, WANG J, HE Y, et al. Decarbonising inland ship power system: alternative solution and assessment method[J]. Energy, 2021, 226: 120266. DOI:10.1016/j.energy.2021.120266 |
| [4] |
WANG X, ZHU J, HAN M. Industrial development status and prospects of the marine fuel cell: a review[J]. Journal of Marine Science and Engineering, 2023, 11(2): 238. DOI:10.3390/jmse11020238 |
| [5] |
CHARPENTIER J F, HAN J G, TANG T H. An energy management system of a fuel cell/battery hybrid boat[J]. Energies, 2014, 7(5): 2799-2820. DOI:10.3390/en7052799 |
| [6] |
杨再明, 高海波, 林治国, 等. 多电船舶的能量管理策略仿真研究[J]. 中国修船, 2019, 2(3): 42-46. YANG Z M, GAO H B, LIN Z G, et al. Simulation study on energy management strategies for multi-electric ships[J]. China Shiprepair, 2019, 2(3): 42-46. |
| [7] |
闫立, 孙俊, 王星. 基于小波包-模糊控制的燃料电池混合动力船舶能量控制策略[J]. 舰船科学技术, 2023, 45(19): 130-136. YAN L, SUN J, WANG X. Energy control strategy for fuel cell hybrid ship based on wavelet packet - fuzzy control[J]. Ship Science and Technology, 2023, 45(19): 130-136. DOI:10.3404/j.issn.1672-7649.2023.19.023 |
| [8] |
罗辑, 李维波, 张忠田, 等. 基于粒子群优化阈值的多堆燃料电池系统功率分配策略研究[J]. 中国舰船研究, 2023, 18(5): 224-233. LUO J, LI W B, ZHANG Z T, et al. Research on power distribution strategy of multi-stack fuel cell system based on particle swarm optimization threshold[J]. Chinese Journal of Ship Research, 2023, 18(5): 224-233. |
| [9] |
潘钊, 商蕾, 高海波, 等. 燃料电池混合动力船舶复合储能系统与能量管理策略优化[J]. 大连海事大学学报, 2021, 47(3): 79-85. PAN Z, SHANG L, GAO H B, et al. Optimization of composite energy storage system and energy management strategy for fuel cell hybrid ships[J]. Journal of Dalian Maritime University, 2021, 47(3): 79-85. |
| [10] |
李致朋, 肖仪卓, 刘宣佑, 等. 绿色船舶燃料电池混动系统能量管理策略研究[J]. 舰船科学技术, 2025, 47(2): 120-126. LI Z P, XIAO Y Z, LIU X Y, et al. Analysis of energy management strategies for marine fuel cell hybrid systems[J]. Ship Science and Technology, 2025, 47(2): 120-126. |
| [11] |
WU P, BUCKNALL R. Hybrid fuel cell and battery propulsion system modelling and multi-objective optimisation for a coastal ferry[J]. International Journal of Hydrogen Energy, 2020, 45(4): 3193-3208. DOI:10.1016/j.ijhydene.2019.11.152 |
| [12] |
孟翔, 李奇, 陈维荣, 等. 基于庞特里亚金极小值原理满意优化的燃料电池混合动力系统分层能量管理方法[J]. 中国电机工程学报, 2019, 39(3): 782-792. MENG X, LI Q, CHEN W R, et al. An energy management method based on pontryagin minimum principle satisfactory optimization for fuel cell hybrid systems[J]. Proceedings of the CSEE, 2019, 39(3): 782-792. |
| [13] |
王宁, 宋炳松, 高田宇. 考虑寿命衰减的燃料电池船舶自适应等效氢耗最小策略[J/OL]. 中国舰船研究, 1−11[2025−04−07]. WANG N, SONG B S, GAO T Y. Adaptive equivalent consumption minimization strategy for ship fuel cells suffering from life decay[J/OL]. Chinese Journal of Ship Research, 1−11[2025−04−07]. |
| [14] |
赵凡非, 李煜辉, 周梦妮, 等. 船舶多堆燃料电池混合动力系统能量管理策略优化[J]. 舰船科学技术, 2024, 46(14): 134-140. ZHANG F F, LI Y H, ZHOU M N, et al. Optimization of energy management strategy for marine multi-stack fuel cell hybrid power system[J]. Ship Science and Technology, 2024, 46(14): 134-140. |
| [15] |
ZHU L, LIU Y C, ZENG Y J, et al. Energy management strategy for fuel cell hybrid ships based on deep reinforcement learning with multi-optimization objectives[J]. International Journal of Hydrogen Energy, 2024, 93: 1258-1267. DOI:10.1016/j.ijhydene.2024.10.192 |
| [16] |
SUN C, SUN F, HE H. Investigating adaptive-ECMS with velocity forecast ability for hybrid electric vehicles[J]. Appl Energy, 2017, 185: 1644-53. DOI:10.1016/j.apenergy.2016.02.026 |
| [17] |
SHEN P, ZHAO Z, ZHAN X, et al. Optimal energy management strategy for a plug-in hybrid electric commercial vehicle based on velocity prediction[J]. Energy, 2018, 155: 838-52. DOI:10.1016/j.energy.2018.05.064 |
| [18] |
周寅正, 陈俐. 基于模型预测控制的双机组混合动力船舶能量管理研究[J]. 中国舰船研究, 2024, 19(增刊 1): 74-83. ZHOU Y Z, CHEN L. Study on energy management of dual-diesel generator sets hybrid power ships based on model predictive control[J]. Chinese Journal of Ship Research, 2024, 19(Supp 1): 74–83 . |
| [19] |
VAFAMAND N, BOUDJADAR J, KHOOBAN M H. Model predictive energy management in hybrid ferry grids[C]//6th International Conference on Power and Energy Systems Engineering. 2019.
|
| [20] |
MA Y, LI C, WANG S Y. Multi-objective predictive energy management strategy for fuel cell hybrid electric vehicle based on velocity forecast and driving pattern recognition[J]. ISA Transactions, 2022, 131: 178−196.
|
| [21] |
MOHSEN B, JALIL B, MOHAMMAD-HASSAN K. Stochastic model predictive energy management in hybrid emission-free modern maritime vessels[J]. IEEE Transactions on Industrial Informatics, 2021, 17(8): 5430-5440. DOI:10.1109/TII.2020.3027808 |
| [22] |
HU X, ZOU C, TANG X, et al. Cost-optimal energy management of hybrid electric vehicles using fuel cell/battery health-aware predictive control[J]. IEEE Transactions on Power Electronics, 2019, 35(1): 382-392. |
| [23] |
GHAEMI R, SUN J, KOLMANOVSKY I V. An integrated perturbation analysis and sequential quadratic programming approach for model predictive control[J]. Automatica, 2009, 45(10): 2412-2418. DOI:10.1016/j.automatica.2009.06.028 |
2025, Vol. 47
