无人船(Unmanned Surface Vehicle,USV)以其经济安全、智能航行等优点在事故救援等作业中发挥着重要作用[1]。规划出安全、高效的救援路径是无人船开展作业的重要保障。
由无人船对周围环境信息的了解程度,路径规划整体可分为全局与局部路径规划。其中,全局路径规划算法包括A*算法[2]和群智能优化算法[3]等;局部路径规划算法包括动态窗口法(Dynamic Window Approach,DWA)[4]、人工势场法[5]等。传统路径规划算法在解决复杂问题时往往由于庞大的计算量和时间跨度等不能满足实际的规划需求,而基于群智能优化的路径规划算法很大程度上弥补了这一不足[6],主流的群智能优化算法有:遗传算法(Genetic Algorithm,GA)[7]、粒子群算法(Particle Swarm Optimization,PSO)[8]、灰狼优化算法(Grey Wolf Optimizer,GWO)[9]等。
Heidari等[10]受哈里斯鹰种群化捕猎行为的启发于2019年提出了群智能优化算法哈里斯鹰优化算法(Harris Hawks Optimization,HHO),该算法模拟了哈里斯鹰通过群体合作探索与多策略围攻猎物的捕食行为,具有参数少、稳定性强、组成简单以及寻优速度快等优点,但原始算法仍不可避免地在处理复杂问题时陷入局部最优和收敛精度不高的问题。张林等[11]引入信噪比判断个体位置信息,设计协调学习策略更合理地更新种群个体位置;胡春安等[12]引入混沌局部搜索与精英备选池策略多策略改进哈里斯鹰优化算法;Li等[13]引入反向学习与螺旋探索等策略提升算法的全局探索能力,提高了规划效率和路径质量。上述改进极大地提高了哈里斯鹰算法的寻优能力和全局路径规划能力,但针对无人船局部路径规划与实时避障问题仍不能妥善解决,对此一些学者提出了相应的改进策略。Fu等[14]提出了多行为融合改进的势场方法,通过激活条件确定无人船的目标需求、边界记忆跟随和动态避障3种行为模式;Eduardo等[15]将动态障碍树法融入DWA算法中提高了算法的性能,并结合动态曲率速度法与预测曲率速度法提高了路径的安全性;魏立新等[16]提出融合改进的动态路径规划算法,为解决蚁群算法(Ant Colony Algorithm,ACA)死锁问题引入蚁群搜索接力方式,之后融合DWA算法进行局部避障。
本文为兼顾全局路径的最优与局部动态避障的问题,提出一种改进HHO算法混合DWA算法的动态路径规划算法。
1 改进HHO算法 1.1 HHO算法HHO算法是由哈里斯鹰在不同情况下的群体捕猎行为抽象演化而成的群智能优化算法,该算法的数学模型由探索阶段、过渡阶段和开发阶段组成。
1.1.1 探索阶段该阶段哈里斯鹰位置随机分布,在狩猎区域内广泛地探索观察猎物,如下式:
| $ X\left(t+1\right)=\left\{\begin{array}{l}{X}_{\text{rand}}\left(t\right)-{r}_{1}\left|{X}_{\text{rand}}\left(t\right)-2{r}_{2}X\left(t\right)\right|,\\ q \geqslant 0.5,\\ {X}_{\text{rabbit}}\left(t\right)-{X}_{m}\left(t\right)-\\ {r}_{3}\left(LB+{r}_{4}\left(UB-LB\right),q < 0.5,\right.\end{array}\right. $ | (1) |
| $ {X}_{m}\left(t\right)=\dfrac{1}{N}\displaystyle\sum _{i=1}^{N} {X}_{i}\left(t\right)。$ | (2) |
式中:
HHO算法在围猎行为下会根据猎物的逃逸能量变化改变搜索行为,猎物逃避过程中能量不断递减,哈里斯鹰进行探索阶段到开发阶段的转换:
| $ E={2E}_{0}\left(1-\dfrac{t}{T}\right)。$ | (3) |
式中:
该阶段哈里斯鹰会根据逃逸能量
策略1 软围攻
当
| $ X\left(t+1\right)={X}_{\rm{rabbit}}\left(t\right)-X\left(t\right)- E\left|J\cdot {X}_{\rm{rabbit}}\left(t\right)-X\left(t\right)\right|, $ | (4) |
| $ J=2\left(1-{{r}}_{5}\right),{{r}}_{5}\in \left(\mathrm{0,1}\right)。$ | (5) |
式中:
策略2 硬围攻
当
| $ X\left(t+1\right)={X}_{\text{rabbit}}\left(t\right)-E\left|{X}_{\text{rabbit}}\left(t\right)-X\left(t\right)\right|。$ | (6) |
策略3 渐进式俯冲软围攻
当
| $ Y={X}_{\text{rabbit}}\left(t\right)-E\left|J\cdot {X}_{\text{rabbit}\text{}}\left(t\right)-X\left(t\right)\right|,$ | (7) |
| $ Z=Y+S\cdot LF\left(D\right),$ | (8) |
| $ LF\left(D\right)=0.01\times \dfrac{u\times {\left(\dfrac{\mathrm{\Gamma }\left(1+\beta \right)\times \sin \left(\dfrac{{\text{π}} \beta }{2}\right)}{\mathrm{\Gamma }\left(\dfrac{1+\beta }{2}\right)\times \beta \times {2}^{\left(\tfrac{\beta -1}{2}\right)}}\right)}^{{1}/{\beta }}}{|v{|}^{{1}/{\beta }}},$ | (9) |
| $ X\left(t+1\right)=\left\{\begin{array}{c}Y,F\left(Y\right) < F\left(X\right(t\left)\right),\\ Z,F\left(Z\right) < F\left(X\right(t\left)\right)。\end{array}\right. $ | (10) |
式中:
策略4 渐进式俯冲硬围攻
当
| $ Y={X}_{\text{rabbit}}\left(t\right)-E\left|J\cdot {X}_{\text{rabbit}\text{}}\left(t\right)-{X}_{m}\left(t\right)\right|,$ | (11) |
| $ Z=Y+S\cdot LF\left(D\right)。$ | (12) |
原始HHO算法在求解复杂问题时,以随机生成的方式初始化种群的个体位置,无法确保种群的多样性,可能会导致算法对问题的寻优速度较慢和“早熟”现象的发生。为了让算法在开始寻优时有较高的全局搜索能力,针对HHO算法进行混沌初始化改进,在算法初始化阶段引入混沌映射,借助其较强的随机性和遍历性,增强种群生成的离散度,提高局部搜索策略的有效性,进一步降低过早陷入局部最优的可能性。
引入非线性Logistic混沌映射(虫口映射)进行种群初始化,使混沌映射取代常规均匀分布的随机数来提高原算法的适应度函数,在特殊参数下混沌序列呈现为无序、概率和遍历状态,公式如下:
| $ s_{t+1}=u\cdot {s}_{t}\left(1-{s}_{t}\right)。$ | (13) |
式中:
|
图 1 混沌映射图 Fig. 1 Chaotic mapping diagram |
在已知
| $ \overline{{s}}={X}_{\rm{rabbit}}\left(t\right)+R\left(2{s}-1\right)。$ | (14) |
将
高斯变异策略以服从正态分布的随机数作用于原位置向量借以更新位置。变异算子分布在当前位置周围及外围分别进行邻域探索和远距离勘探,有利于算法摆脱局部最优陷阱,不仅能够提高算法优化精度,也能增强种群的多样性。高斯变异公式如下:
| $G\left(x\right)=\dfrac{1}{\sqrt{2{\text{π}} }\sigma }\mathrm{exp}\left(-\dfrac{(x-\mu )^{2}}{2{\sigma }^{2}}\right)。$ | (15) |
式中:
运用高斯变异演化机制,随机选取哈里斯鹰位置和维度进行变异扰动,其主要步骤如下:
步骤1 确定变异概率。设置变异阈值
| $Vt=\dfrac{t}{T}+0.5。$ | (16) |
式中:
步骤2 随机决策过程。判断
| $ rand > \left(1-\dfrac{t}{T}\right)。$ | (17) |
步骤3 计算变异过程。由分布均值
| $ x\left({X}_{\text{rand}}\left(t\right),d\right)=x\left({X}_{\text{rand}}\left(t\right),d\right)\times \text{G}\text{a}\text{u}\text{s}\text{s}\text{i}\text{a}\text{n}\left(\mu ,{\sigma }^{2}\right)。$ | (18) |
式中:
步骤4 位置更新过程。在变异扰动后对哈里斯鹰进行位置更新,使种群的解发生变化,在保持局部优势的同时增加探索未知区域的可能性,提高算法的整体性能和全局优化效果,向最优解的方向进化。
2 改进HHO算法与DWA算法的融合 2.1 无人船运动模型图2为无人船在进行局部路径规划时的二维运动模型,坐标系采用北东地坐标系,x指向地面正北,y指向地面正东,U标识无人船,UX为无人船当前航向。图中标识分别为动态、静态障碍物,为方便计算将探索区域内的障碍物进行外接方形的膨胀处理。
|
图 2 无人船二维运动模型 Fig. 2 2D motion model of USV |
无人船在
| $ \left\{\begin{array}{l}{x}_{t+1}={x}_{t}+{V}_{t}\cdot \Delta t\cdot \cos{\theta }_{t},\\ {y}_{t+1}={y}_{t}+{V}_{t}\cdot \Delta t\cdot \sin{\theta }_{t},\end{array}\right. $ | (19) |
| $ {\theta }_{t+1}={\theta }_{t}+{\omega }_{t}\cdot \Delta. t $ | (20) |
由上述无人船运动模型,可根据无人船的线速度、角速度模拟其运动轨迹。因无人船自身的物理结构和运动学特性及作业环境等对无人船实际运动过程中存在着速度约束,所以DWA算法需要生成动态窗口选择性的对速度矢量空间进行采样,通过采集到的可行速度集合模拟生成若干条轨迹,根据评价函数对预测轨迹进行评分,选择最优速度驱动无人船安全快速地到达目标点。
2.2.1 速度空间采样约束1 无人船在运动过程中其速度空间取值的最大范围
| $ {V}_{o}=\left\{\left(v,\omega \right)\mid v\in \left[{v}_{{\mathrm{min}}},{v}_{{\mathrm{max}}}\right],\omega \in \left[{\omega }_{\text{min}},{\omega }_{\text{max}}\right]\right\}。$ | (21) |
式中:
约束2 无人船的加减速度变化存在限制,即无人船实际运动中能达到的速度范围
| $ \begin{split}{V}_{p}=&\left\{\left(v,\omega \right)\mid v\in \left[{v}_{n}-{\dot{v}}_{m}\cdot \mathrm{\Delta }t,{v}_{n}+{\dot{v}}_{a}\cdot \mathrm{\Delta }t\right],\right.\\ &\left.w\in \left[{\omega }_{n}-{\dot{\omega }}_{m}\cdot \mathrm{\Delta }t,{\omega }_{n}+{\dot{\omega }}_{a}\cdot \mathrm{\Delta }t\right]\right\}。\end{split} $ | (22) |
式中:
约束3 无人船在作业中的安全避障制动距离,即DWA算法的可容许速度集合
| $ \begin{split}{V}_{q}=&\left\{\left(v,\omega \right)\mid v\leqslant \sqrt{2\cdot {D}\left(v,\omega \right)\cdot {\dot{v}}_{m}}\right.,\\ &\left.\omega \leqslant \sqrt{2\cdot {D}\left(v,\omega \right)\cdot {\dot{\omega }}_{m}}\right\}。\end{split}$ | (23) |
式中:
综上所述,设
| ${V}_{r}={V}_{o}\cap {V}_{p}\cap {V}_{q}。$ | (24) |
获取到的速度采样空间结合无人船运动模型可生成若干条预测轨迹,如图3所示。
|
图 3 采样轨迹图 Fig. 3 Sampling pathway chart |
获取到的无人船预测轨迹由评价函数评分后,选定评分最高的轨迹对应的采样速度作为无人船下一阶段的最优速度加以执行。
| $ \begin{split}G(v,\omega )=&\sigma \left(\alpha \cdot heading\left(v,\omega \right)+\right.\\ &\beta \cdot dist(v,\omega )+\gamma \cdot vel(v,\omega ))。\end{split} $ | (25) |
评价函数如式(25)所示,方位角函数
| $ \left\{\begin{split}&{\sigma }_{heading}=\dfrac{{heading}\left(i\right)}{\displaystyle\sum _{i=1}^{n}{heading}\left(i\right)},\\ &{\sigma }_{dist}=\dfrac{{dist}\left(i\right)}{\displaystyle\sum _{i=1}^{n}dist\left(i\right)},\\ &{\sigma }_{vel}=\dfrac{vel\left(i\right)}{\displaystyle\sum _{i=1}^{n}vel\left(i\right)}。\end{split} \right.$ | (26) |
式中:
以改进HHO算法即IHHO(Improvement Harris Hawks Optimization,IHHO)算法规划全局路径可以为无人船到达目标位置提供前提条件,但其路径欠缺平滑度且无法及时地对无人船作业环境中的动态障碍物进行实时避障;DWA算法作为局部路径规划在考虑无人船相关动力学约束的同时能够进行动态避障,但没有静态算法引导,在复杂环境下极易陷入局部最优。
因此,需要将IHHO与DWA相融合,由IHHO算法规划由起始点到目标点的最优路径在全局层面上寻求最优解,借助DWA算法在局部层面上进行实时的动态避障,并在该部分引入评价子函数
| $ guide\left(v,\omega \right)=\dfrac{1}{\sqrt{{\left({x}_{i}-x\right)}^{2}+{\left({y}_{i}-y\right)}^{2}}}。$ | (27) |
式中:
| $ \begin{split}G(v,\omega )=&\sigma (\alpha \cdot heading\left(v,\omega \right)+ \beta \cdot dist\left(v,\omega \right)+\\ &\gamma \cdot vel\left(v,\omega \right)+ \delta \cdot guide\left(v,\omega \right))。\end{split} $ | (28) |
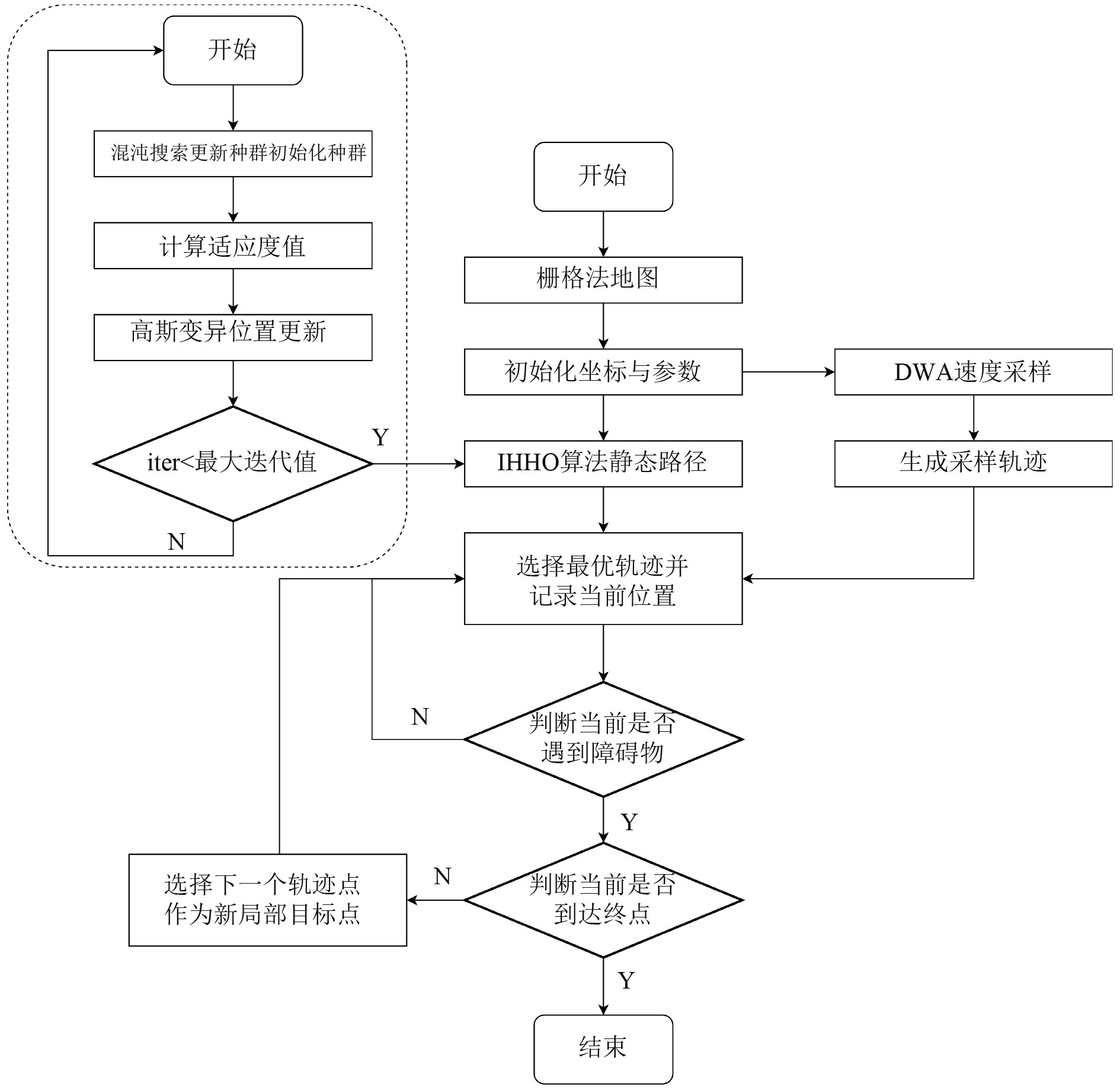
融合算法(以下简称IHHO-DWA)策略如下:
步骤1 根据无人船作业空间搭建环境模型,初始化环境位置坐标及算法参数和无人船参数设置;
步骤2 在搜索空间内对IHHO进行Logistics混沌映射初始化种群;
步骤3 计算种群适应度值,并将最优个体位置设置为猎物位置;
步骤4 采用IHHO四种不同围捕策略对种群位置进行更新并执行高斯变异操作,寻找最优的适应度值和猎物位置;
步骤5 在最大迭代次数内对算法进行循环,直到算法迭代次数停止,此时得到的最优解即为最优路径,最优解的适应度值即为最优路径长度;
步骤6 通过静态算法IHHO得到最优路径的局部目标引导点,引导DWA进行局部路径规划;
步骤7 判断无人船是否达到局部目标点,若到达则将选择下一个全局最优路径的分段点作为局部目标点;
步骤8 通过判断局部目标点是否为全局目标终点,到达则算法结束,否则继续执行局部路径规划。
IHHO-DWA算法流程如图4所示。
|
图 4 算法流程图 Fig. 4 Algorithmic process diagram |
实验环境:操作系统为Windows 11(64bit),处理器为13th Gen Intel(R)Core(TM) i7-13650HX 2.60 GHz,RAM 32 GB,仿真平台为Matlab 2021b。
为充分验证IHHO-DWA算法的性能,本文设置了2组实验:
1) IHHO全局路径规划实验。设置3个不同的实验环境,通过对比仿真验证IHHO算法在不同环境下具有较好的规划路径性能;
2) IHHO-DWA融合算法实验。在静态和动态环境下分别对融合算法性能进行验证。
3.1 全局路径规划实验无人船的作业环境通常位于障碍物并不密集的海面,可采用静态障碍物模拟雷达等设备检测到的浅滩、礁石等障碍物,同时为了避免算法的偶然性,将实验环境分为环境1、2、3,分别为50×100、100×100、100×100的不同环境不同复杂度的静态栅格地图中,实验中种群规模为30,最大迭代次数为500,环境1起终点为(50,0)和(49,99),环境2、3起终点为(1,1)和(99,99),设置IHHO算法的对照组算法为GA、PSO,仿真结果如图5所示。
|
图 5 全局路径规划结果 Fig. 5 Global path planning outcomes |
由表1仿真结果比较可以看出,在环境1中,IHHO算法规划路径长度相较于GA算法路径减少了32.9%,相较于PSO算法路径减少了28%;在环境2中,IHHO算法规划路径长度相较于GA算法路径减少了15%,相较于PSO算法路径减少了9.4%;在环境3中,IHHO算法规划路径长度相较于GA算法路径减少了18.1%,相较于PSO算法路径减少了9.9%,且在3种环境下IHHO算法运行时间皆最短,证明IHHO算法具有较好的搜索性能。此外,从图5可以看出在不同环境下IHHO算法规划出的路线更为平滑,没有较多路径冗余,且算法收敛速度表现优异。实验结果表明改进的IHHO算法在全局路径规划上有较好的稳定性和优越性。
|
|
表 1 各算法仿真结果比较 Tab.1 Comparing simulation results of algorithms |
上文验证了IHHO算法在全局路径规划中的性能,证明改进算法的性能得到了显著提升。为了进一步验证IHHO-DWA融合算法的性能,设置算法对照组为GA-DWA、PSO-DWA两种算法,在上述3种环境中进行仿真实验,设置无人船的状态参数及评价函数权重如表2所示。
|
|
表 2 仿真参数表 Tab.2 Simulation parameter sheet |
如图6所示,实线部分为实时避障路径,虚线部分为GA、PSO、IHHO预设的全局最优路径。在只有静态障碍物的各环境中,算法行进到某一目标点后,将局部目标替换为下一个全局目标点,最终各算法都到达了全局目标终点。其中IHHO-DWA算法很好地完成了静态避障任务,且相较GA-DWA和PSO-DWA,IHHO-DWA规划的路径平滑度更高。
|
图 6 融合算法静态路径规划结果 Fig. 6 Integrated algorithm for static path planning |
上文对IHHO-DWA算法在静态环境中的性能进行仿真,结果显示其搜索性能和避障性能都得到了优化。结合无人船作业环境,为进一步验证融合算法在动态环境中的避障性能,在上述仿真环境的基础上加入以一定频率移动的2个动态障碍物,以灰色方块的形式模拟航行船只等,结合全局路径规划中的静态障碍物进行仿真,测试IHHO-DWA算法的动态避障能力。
图7~图9为动态环境下各算法路径规划结果。为了便于观察启用DWA算法后融合算法实时避障的过程和无人船行进过程中的角速度变化,各环境下各算法路径规划结果中序列号为Ⅰ、Ⅱ、Ⅲ的分别为其俯视图、侧视图与角速度变化曲线图。
|
图 7 环境1各算法路径规划结果 Fig. 7 Path planning of algorithms in environment 1 |
|
图 8 环境2各算法路径规划结果 Fig. 8 Path planning of algorithms in environment 2 |
|
图 9 环境3各算法路径规划结果 Fig. 9 Path planning of algorithms in environment 3 |
从图7可以看出,在IHHO-DWA算法中,无人船在较为靠近动态障碍物时,会及时地采取避障措施绕开动态障碍物,对自身航向进行适当的调整,并在成功完成避障任务后马上回归到IHHO预设的最优路径上来。虽然各算法都成功完成了避障任务并顺利到达了目标点,但从图7中规划路径及角速度变化曲线不难看出,IHHO-DWA算法规划的路径较GA-DWA、PSO-DWA更为平滑,角速度波动幅度更低,驱动无人船行进更为平稳。从表3的数据对比也可以看出,在最优路径和算法运行时间上,IHHO-DWA算法的性能最优。
|
|
表 3 融合算法仿真结果比较 Tab.3 Comparing simulation results of fusion algorithms |
综上所述,本文提出的IHHO-DWA算法在不同范围不同复杂度的环境中,兼顾了全局最优路径与局部规划动态避障,验证了该算法的可行性和优越性。
4 结 语本文对HHO算法进行混沌初始化,在算法初始化阶段引入混沌映射,在位置更新阶段引入高斯变异操作,避免算法陷入局部最优并保持种群的多样性。仿真实验证明IHHO算法相较于GA算法和PSO算法表现更优。为了提高算法在局部路径规划时的动态避障能力,本文将IHHO算法与DWA算法相融合,融合算法在静态地图和动态地图中在路径长度和平滑度、运行速度等方面都展现出了优于对照组算法的性能。实验证明,本文所提出的融合算法IHHO-DWA具备路径规划有效性和可行性,能够满足无人船全路最优路径和局部动态避障的需求。
| [1] |
TEIXEIRA A P, GUEDES SOARES C. Risk of maritime traffic in coastal waters[C]//International Conference on Offshore Mechanics and Arctic Engineering, 2018.
|
| [2] |
OUYANG Q, FAN Y X, ZHANG X L, et al. Improved A* path planning method based on the grid map[J/OL]. Sensors, (2022-08-18) [2024-02-02].
|
| [3] |
CHEN L M, MA M L, SUN L X. Heuristic swarm intelligent optimization algorithm for path planning of agricultural product logistics distribution[J]. Journal of Intelligent and Fuzzy Systems, 2019, 37(4): 4697-4703. DOI:10.3233/JIFS-179304 |
| [4] |
FOX D, BURGARD W, THRUN S. The dynamic window approach to collision avoidance[J]. IEEE Robotics and Automation Magazine, 1997, 4(1): 23-33. DOI:10.1109/100.580977 |
| [5] |
SUDHAKARA P, GANAPATHY V, PRIYADHARSHINI B, et al. Obstacle avoidance and navigation planning of a wheeled mobile robot using amended artificial potential field method[J]. Procedia Computer Science, 2018, 133: 998-1004. DOI:10.1016/j.procs.2018.07.076 |
| [6] |
刘祥, 叶晓明, 王泉斌, 等. 无人水面艇局部路径规划算法研究综述[J]. 中国舰船研究, 2021, 16(S1): 1-10. |
| [7] |
DENNING P J. The science of computing: Genetic algorithms[J]. American Scientist, 1992, 80(1): 12-14. |
| [8] |
Kennedy J. Particle swarm optimization[C]//Proceeding of IEEE International Conference, Neural Networks, Perth, Australia, 2011.
|
| [9] |
MIRJALILI S, MIRJALILI S M, LEWIS A. Grey wolf optimizer[J]. Advances in Engineering Software, 2014, 69: 46-61. DOI:10.1016/j.advengsoft.2013.12.007 |
| [10] |
HEIDARI A A, MIRJALILI S, FARIS H, et al. Harris hawks optimization: algorithm and applications[J]. Future Generation Computer Systems, 2019, 97: 849-872. DOI:10.1016/j.future.2019.02.028 |
| [11] |
张林, 沈佳颖, 胡传陆, 等. 基于信噪比的学习型哈里斯鹰算法[J/OL]. 北京航空航天大学学报, 1−17 [2024-10-18].
|
| [12] |
胡春安, 熊昱然. 多策略改进的混沌哈里斯鹰优化算法[J]. 计算机工程与科学, 2023, 45(9): 1648-1660. DOI:10.3969/j.issn.1007-130X.2023.09.014 |
| [13] |
LI C Y, LI J, CHEN H L, et al. Enhanced harris hawks optimization with multi-strategy for global optimization tasks[J]. Expert Systems with Applications, 2021, 185: 115499. DOI:10.1016/j.eswa.2021.115499 |
| [14] |
FU M Y, WANG S S, WANG Y H. Multi-behavior fusion based potential field method for path planning of unmanned surface vessel[J]. China Ocean Engineering, 2019, 33(5): 583-592. DOI:10.1007/s13344-019-0056-y |
| [15] |
MOLINOS E J, LLAMAZARES A, OCAÑA M. Dynamic window based approaches for avoiding obstacles in moving[J]. Robotics and Autonomous Systems, 2019, 118: 112-130. DOI:10.1016/j.robot.2019.05.003 |
| [16] |
魏立新, 张钰锟, 孙浩, 等. 基于改进蚁群和DWA算法的机器人动态路径规划[J]. 控制与决策, 2022, 37(9): 2211-2216. |
2025, Vol. 47
