酸雨是全球关注的环境问题,大量研究显示,酸雨不仅会抑制植物的生长发育,甚至会导致植物死亡,给农林业造成重大经济损失(Trites et al.,1987).针对植物酸致伤机理的研究发现,酸雨作用于植物叶片时,不仅促使植物叶片出现失水萎蔫、坏死斑等症状,还造成叶片中K+、Ca2+、Mg2+等阳离子洗脱,致使叶片中营养元素含量降低,从而抑制植物生长(黄智勇,2007).然而,植物叶片中营养元素含量还与细胞质膜物质输送功能相关.其中,质膜H+-ATPase能形成质子电化学梯度从而为营养物质及离子的跨膜运输提供驱动力,如质膜H+-ATPase为K+、Ca2+、Mg2+的吸收提供质子驱动力.此外,质膜H+-ATPase也参与调控植物对非生物逆境胁迫(盐、干旱、水分及酸雨胁迫等)的适应机制(Yan et al.,2002).前期研究(葛玉晴等,2013;吕霞等,2013)显示,质膜H+-ATPase活性的上升能在一定范围内缓解酸雨引发的质膜损伤,增强作物对酸雨胁迫的适应性. Zeng等(2012)认为,低pH值下质膜H+-ATPase活性的上升是通过增强电化学质子梯度来促进离子跨膜运输,进而改善植物营养.那么,酸雨胁迫下质膜H+-ATPase活性变化是否是引起矿质元素含量变化的又一诱因?酸雨胁迫下两者之间是怎样的关系?阐明这些问题,可从营养的角度进一步清晰质膜H+-ATPase响应酸雨胁迫的内在机制.鉴于此,本文以重要粮食作物水稻为试材,以质膜H+-ATPase活性、H+-ATPase活化能、细胞渗透势、矿质元素(K+、Ca2+、Mg2+)含量为考察指标,研究模拟酸雨(pH=2.5、3.5、5.0)对水稻幼苗叶片质膜H+-ATPase活性与矿质元素含量的影响,以进一步揭示质膜H+-ATPase在植物耐受酸雨胁迫中的作用机制,这不仅可丰富植物酸致伤机理,也可为减轻酸雨胁迫对植物的伤害提供新的思考方向.
2 材料与方法 (Materials and methods) 2.1 试材培养试验用水稻(Oryza sativa)为淮稻8号.挑选籽粒饱满的种子,用0.1%的HgCl2消毒10 min,去离子水浸泡2 d后置于25 ℃的恒温光照培养箱中催芽4 d,再将幼芽放在蛭石里培养,待幼苗长至2叶1心时,将其移入6.88 L周转箱中采用国际水稻研究所(IRRI)常规营养液配方培养,并略作修改(狄廷均等,2007).培养光照强度为300 μmol · m-2 · s-1,光照12 h,昼/夜温度为30 ℃/24 ℃,相对湿度为60%.营养液每隔3 d更换1次,待幼苗长至3叶1心时,进行酸雨处理.
2.2 试材处理模拟酸雨成分为SO2-4 ∶ NO-3=3 ∶ 1(V/V)(Chen et al.,2010).酸雨处理方式及pH值的选取参照文献(魏金卓等,2014)方法进行:先配置pH=1.0的酸雨母液,以去离子水稀释成pH=2.5、3.5、5.0的模拟酸雨,然后用喷雾器均匀喷施在叶片上,滴液为限,对照组喷施等量的pH=7.0的去离子水.连续喷5 d(胁迫期),取每株从上到下数第二叶位的叶片进行指标测定.将未取过样且酸雨处理过的水稻幼苗移至对照条件下培养5 d(恢复期),再取第二叶位的叶片测定指标.
2.3 指标测定质膜H+-ATPase活性(狄廷均等,2007)的测定采用无机磷含量法,H+-ATPase活化能的测定参照Yan等(1998)的方法,细胞渗透势以压力室法(高俊凤,2006)进行测定,采用原子吸收分光光度法(Sun et al.,2013)测定K+、Ca2+、Mg2+含量,所有数据均为3次独立试验的平均值±标准误差(Mean±SD),并用SPSS16.0软件处理数据,不同字母表示差异显著.
3 结果与分析(Result and analysis) 3.1 酸雨胁迫对水稻叶片质膜H+-ATPase活性与活化能的影响质膜H+-ATPase能水解细胞内ATP,为各种营养物质及离子的次级跨膜运输提供能量.质膜H+-ATPase活化能常用来表征质膜H+-ATPase调节胞内pH值的能力,活化能越高,其调节胞内pH的能力越差,可作为反映质膜H+-ATPase能否正常发挥生理功能的指标之一(Michelet et al.,1995; Palmgren,2001).由图 1可知,胁迫期,pH=5.0酸雨处理组,水稻质膜H+-ATPase活性与活化能均无变化,说明低强度酸雨未影响质膜H+-ATPase活性与功能.pH=3.5酸雨处理组,质膜H+-ATPase活性升高且达到最大值,活化能上升,表明pH=3.5酸雨刺激了质膜上主要的H+转运蛋白质膜H+-ATPase活性应激升高,来维持胞内pH值的稳定.pH=2.5酸雨处理组,质膜H+-ATPase活性降低60.7%,H+-ATPase活化能上升44.1%,表明质膜H+-ATPase活性大幅降低,其泵运H+的功能受损.推测pH=2.5酸雨使得质膜透性增加,胞外大量H+进入胞内,引发细胞内活性氧过量累积,引起膜脂过氧化(吕霞等,2013),而质膜损伤会引起膜上H+-ATPase的构象发生变化(宫海军等,2003),导致H+-ATPase活性与功能受到抑制.恢复期,与CK相比,pH=5.0和pH=3.5酸雨组质膜H+-ATPase活性、活化能无显著变化,表明pH=5.0与pH=3.5酸雨未超出水稻幼苗的耐受阈值.pH=2.5酸雨处理组质膜H+-ATPase活性仍低于CK,H+-ATPase活化能高于CK,均优于胁迫期.这表明pH=2.5酸雨对质膜H+-ATPase活性的抑制已超出水稻自身修复能力,虽质膜H+-ATPase活性和调节胞内pH的能力有所升高,但未能恢复至CK水平.
![]() |
| 图 1 不同pH值模拟酸雨对水稻叶片细胞质膜H+ATPase活性(a)和活化能(b)的影响(不同字母表示各处理间差异显著(p<0.05),大小写字母分别表示胁迫期和恢复期差异显著效果,下同) Fig. 1 Effect of simulated acid rain at different pHs on activities of plasma membrane H+-ATPase(a) and activation energy of H+-ATPase(b)in rice leaves |
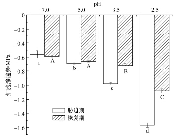
植物在逆境下降低渗透势,是植物抵抗逆境胁迫的一种重要方式.降低渗透势在植物体内可通过3个途径实现:①细胞内水分减少;②细胞体积缩小;③细胞内溶质增加.由图 2可知,胁迫期,pH=5.0、3.5和2.5处理组细胞渗透势均低于CK,且降幅随酸雨pH的降低而增大,pH=2.5组细胞渗透势降幅达179.8%.结合H+-ATPase活性和活化能变化(图 1)分析可知,pH=5.0酸雨并未造成H+-ATPase活性与活化能变化,但胞外H+浓度因酸雨强度增大而升高,部分H+进入细胞,渗透势降低.这表明与H+-ATPase相比,渗透势对pH的变化更敏感.pH=3.5酸雨组H+-ATPase活性虽应激升高,但调节胞内pH的能力下降,细胞渗透势降低可能是因为进入胞内的H+引起胞内离子含量发生改变(刘俐等,2008).pH=2.5酸雨组H+-ATPase活性与活化能均受抑,此时渗透势下降可能是因为pH=2.5酸雨引起质膜透性增加(吕霞等,2013),胞外的H+、SO2-4、NO-3等离子进入胞内.恢复期,pH=5.0组细胞渗透势恢复至CK水平,而pH=3.5与pH=2.5组细胞渗透势虽仍然低于CK但高于胁迫期,表明进入胞内的H+减少,细胞渗透势得到部分恢复且恢复程度受酸雨强度制约. pH=5.0组细胞渗透势恢复至CK水平,这与恢复期无外源H+进入细胞且质膜H+-ATPase调节功能未受抑制有关,也说明低强度胁迫下植物细胞渗透调节具有暂时性(彭立新等,2002).然而,pH=3.5组细胞渗透势低于CK水平,原因可能是H+-ATPase提供的质子驱动力引起部分离子进入细胞并积累.pH=2.5酸雨对H+-ATPase活性与活化能造成不可逆伤害,胞内pH的调节能力受抑,致使胞内仍积累H+,细胞渗透势无法恢复.
![]() |
| 图 2 不同pH值模拟酸雨对水稻叶片细胞渗透势的影响 Fig. 2 Effect of simulated acid rain at different pH on osmotic potential in rice leaves |
K+、Ca2+、Mg2+是植物所需营养元素,对植物的光合作用、生长发育及胞内稳态的调节都有明显影响.由表 1可知,胁迫期,pH=5.0组K+、Ca2+、Mg2+含量(以干重计,下同)与CK差异不显著. pH=3.5组K+含量下降22.9%,Ca2+含量升高90.6%,而Mg2+含量未改变. pH=2.5组K+和Mg2+含量分别下降32.8%和43.1%,而Ca2+含量上升40.7%.结合图 1、图 2分析可知,pH=5.0酸雨未引起H+-ATPase活性、活化能及K+、Ca2+、Mg2+含量变化.pH=3.5组K+含量下降,Mg2+含量不变,Ca2+含量上升可能是因为H+与K+均为正一价阳离子,彼此发生交换反应,H+取代K+而将其置换出来,造成K+的洗脱(Makarov et al.,1995). Mg2+含量不变可能是因为正二价的Mg对此强度的酸雨不敏感,未与H+发生交换反应. Ca2+与Mg2+均为正二价阳离子,有相似的化学性质,但此强度酸雨处理下Ca2+含量上升,这可能是水稻通过提高H+-ATPase、Ca2+-ATPase活性来主动增加Ca2+的摄入(魏金卓等,2014),来减少K+的外渗(邓兰生等,2012).同时,Ca2+作为信号物质其含量的增加有利于增强水稻幼苗的耐酸性.与pH=3.5组相比,pH=2.5酸雨抑制了质膜H+-ATPase活性和活化能,H+-ATPase次级运输能力降低,导致K+、Ca2+、Mg2+很难跨膜进入细胞.另外,pH=2.5 酸雨引起质膜损伤与透性增加(郭奇梅等,2009),进入胞内的H+导致矿质元素的洗脱与外流(Gussarsson et al.,1992).此时Ca2+含量仍高于CK可能是酸雨胁迫时需要大量Ca2+转导胞内pH值下降信号(王海华等,2003),水稻通过提高H+-ATPase、Ca2+-ATPase活性主动摄入的Ca2+多于强酸雨造成的Ca2+洗脱.恢复5 d后,pH=5.0和pH=3.5组K+、Ca2+、Mg2+含量均与CK差异不显著,这可能是因为低强度酸雨未造成H+-ATPase活性与功能的不可逆伤害,H+-ATPase仍维持着细胞内的离子平衡.而pH=2.5组与CK相比,K+含量下降24.2%,Ca2+含量上升10.6%,Mg2+含量下降33.1%.分析原因可能为pH=2.5的酸雨造成质膜损伤,H+-ATPase活性受抑,次级运输能力降低,离子运输受阻,虽停止胁迫,但H+-ATPase仍无法为K+、Ca2+、Mg2+的吸收提供足够的质子驱动力.此时Ca2+含量依旧高于CK但低于胁迫期,可能是酸雨致使损伤的Ca2+通道和Ca2+-ATPase恢复程度有限,Ca2+难以进出细胞,原有的部分游离Ca2+通过与蛋白结合形成钙依赖性蛋白激酶、钙调素、钙调磷酸酶B类似蛋白三类钙结合蛋白(易籽林等,2010),这些信号物质将向下游转达以适应酸雨胁迫.
| 表 1 不同pH值模拟酸雨对水稻叶片矿质元素含量影响 Table 1 Effect of simulated acid rain at different pHs on mineral element contents in rice leaves |
1)胁迫期,pH=5.0酸雨未引起质膜H+-ATPase活性和矿质元素含量改变.pH=3.5酸雨导致H+-ATPase活性上升,K+含量降低,Ca2+含量上升,细胞渗透势下降.pH=2.5酸雨引起H+-ATPase活性降低,造成K+、Mg2+含量减少,Ca2+含量增加.因此,胞内K+、Ca2+、Mg2+含量不仅受H+-ATPase活性的调控,还与酸雨强度和离子价态有关.
2)恢复期,pH=5.0和pH=3.5酸雨未导致质膜H+-ATPase活性及其功能发生不可逆伤害,H+-ATPase活性、K+、Mg2+和Ca2+元素含量恢复至CK水平.pH=2.5组H+-ATPase活性难以恢复至CK水平,K+、Mg2+含量低于CK,Ca2+含量略高于CK.表明H+-ATPase活性会影响K+、Ca2+、Mg2+含量,恢复效果受酸雨强度限制.
3)对比酸雨胁迫期和恢复期各项指标变化发现,酸雨胁迫下的质膜H+-ATPase活性改变与水稻叶片矿质元素含量变化密切相关.其中,Ca2+同时作为矿质营养元素和信号分子,其在高强度酸雨胁迫下含量始终高于CK,内在原因还需要深入研究.
| [1] | Chen J,Li W,Gao F.2010.Biogeochemical effects of forest vegetation on acid precipitation-related water chemistry: A case study in southwest China [J].Journal of Environmental Monitoring,12(10):1799-1806 |
| [2] | 邓兰生,涂攀峰,龚林,等.2012.滴施外源钙对香蕉生长及矿质营养吸收的影响[J].江西农业大学学报,34(1):34-39 |
| [3] | 狄廷均,朱毅勇,仇美华,等.2007.水稻根系细胞膜H+-ATPase对铵硝营养的响应差异[J].中国水稻科学,21(4):360-366 |
| [4] | 高俊凤.2006.植物生理学实验指导[M].北京:高等教育出版社.17-233 |
| [5] | 葛玉晴,吕霞,梁婵娟.2013.水稻叶片质膜H+-ATPase对酸雨胁迫的适应机制[J].环境化学,32(6):964-967 |
| [6] | 宫海军,陈坤明,陈国仓,等.2003.缓慢干旱下春小麦叶片质膜脂肪酸组成、H+-ATPase及5'-AMPase活力的变化[J].植物生态学报,27(4):459-465 |
| [7] | 郭奇梅,孙吉雄,安渊,等.2009.酸和铁胁迫对紫花苜蓿根系质膜H+-ATPase活性的影响[J].草原与草坪,(3):12-15 |
| [8] | Gussarsson M,Jensen P.1992.Effects of copper and cadmium on uptake and leakage of K+ in birch (Betula pendula) roots [J].Tree Physiology,11(3):305-313 |
| [9] | 黄智勇.2007.模拟酸雨对 6 种城市绿化植物幼苗叶矿质元素含量的影响研究.长沙:中南林业科技大学 |
| [10] | 刘俐,周友亚,宋存义,等.2008.模拟酸雨淋溶下红壤中盐基离子释放及缓冲机制研究[J].环境科学研究,21(2):49-55 |
| [11] | 吕霞,梁婵娟.2013.模拟酸雨对水稻叶片质膜H+-ATPase与质膜过氧化的影响[J].安全与环境学报,13(6):1-4 |
| [12] | Makarov M I,Kiseleva V V.1995.Acidification and nutrient imbalance in forest soils subjected to nitrogen deposition[J].Water,Air,and Soil Pollution,85(3):1137-1142 |
| [13] | Michelet B,Boutry M.1995.The plasma membrane H+-ATPase (a highly regulated enzyme with multiple physiological functions)[J].Plant Physiology,108(1):1-6 |
| [14] | Palmgren M G.2001.Plant plasma membrane H+-ATPases:powerhouses for nutrient uptake [J].Annual Review of Plant Physiology and Plant Molecular Biology,52(1):817-845 |
| [15] | 彭立新,李德全,束怀瑞.2002.植物在渗透胁迫下的渗透调节作用[J].天津农业科学,8(1):40-43 |
| [16] | Sun Z G,Wang L H,Zhou Q,et al.2013.Effects and mechanisms of the combined pollution of lanthanum and acid rain on the root phenotype of soybean seedlings [J].Chemosphere,93(2):344-352 |
| [17] | Trites L F,Bidwell R G S.1987.Effect of acidic precipitation on bean plants [J].Canadian Journal of Botany,65(6):1121-1126 |
| [18] | 王海华,谭新中,康健,等.2003.钙对水稻幼苗镍毒害的缓解效应[J].农业环境科学学报,22(3):357-359 |
| [19] | 魏金卓,梁婵娟.2014.模拟酸雨对水稻叶片质膜 H+-ATPase 活性与胞内Ca2+浓度的影响[J].环境科学学报,34(2):532-536 |
| [20] | Yan F,Feuerle R,Schffer S,et al.1998.Adaptation of active proton pumping and plasmalemma ATPase activity of corn roots to low root medium pH [J].Plant Physiology,117(1):311-319 |
| [21] | Yan F,Zhu Y Y,Müller C,et al.2002.Adaptation of H+-pumping and plasma membrane H+ ATPase activity in proteoid roots of white lupin under phosphate deficiency [J].Plant Physiology,129(1):50-63 |
| [22] | 易籽林,徐立黄,绵佳,等.2010.钙信号系统与植物激素信号的研究进展[J].中国农学通报,26(15):221-226 |
| [23] | Zeng H Q,Liu G,Kinoshita T,et al.2012.Stimulation of phosphorus uptake by ammonium nutrition involves plasma membrane H+ ATPase in rice roots [J].Plant and Soil,357(1/2):205-214 |
2015, Vol. 35



