2. 浙江大学热能工程研究所, 能源清洁利用国家重点试验室, 杭州 310027
2. State Key Laboratory of Clean Energy Utilization, Institute for Thermal Power Engineering, Zhejiang University, Hangzhou 310027
生活垃圾焚烧过程中不可避免地产生大量的飞灰、灰渣等危险废物(Pan et al., 2013).据报道,飞灰中排放的二噁英占焚烧炉总排放量的比例极高(Zhang et al., 2012),甚至达到了95%以上(Lundin et al., 2005).研究表明,250~450 ℃是二噁英从头合成的最主要温度区间(Everaert et al., 2002; Song et al., 2008),同时,200~400 ℃是二噁英向气相迁移的重要温度区间(张峰等,2008; 纪莎莎等,2012).而在惰性气氛下,200~600 ℃被证实为二噁英热降解可行的温度区间(Kakuta et al., 2005; Misaka et al., 2006).因此,焚烧炉尾部烟道中飞灰可能同时存在二噁英的再合成、气相迁移(热脱附)和热降解等共同作用(Addink et al., 1995a; Weber et al., 1999; Huang et al., 2001),进而导致200 ℃左右的烟道处约50%以上的二噁英以气相存在(Mätzing et al., 2001),不易实现二噁英的减排.
生活垃圾焚烧飞灰化学成分相当复杂,其中,重金属Cu、Fe、Ca等含量较高,而这些元素对二噁英的合成和向气相的迁移影响较大(Takaoka et al., 2005; Lundin et al., 2011).此外,温度和氧含量作为影响飞灰中二噁英向气相迁移的最主要因素,其作用途径已经得到初步研究.研究表明,当温度为400 ℃,加热时间为45 min时,飞灰中的二噁英向气相迁移效率最高(纪莎莎等,2012);实际上,300~350 ℃时二噁英已经能够从飞灰中不断析出,而加热到350 ℃时大约占总量94%的二噁英以气相存在(Altwicker et al., 1994).惰性气氛下二噁英的合成作用较弱,但向气相迁移作用显著增强,因此,无法预测气相中二噁英的含量变化(Cunliffe et al., 2007);当氧含量为10%时,二噁英合成和热降解的效率取决于飞灰的反应温度,而450 ℃被认为是有氧降解的转折点温度.为了更好地了解实际焚烧电厂飞灰中二噁英在气固相的分布特性,很有必要系统地研究温度和氧含量对飞灰解析特性的影响,从源头上实现烟气中二噁英的减排.
添加硫氮基阻滞剂等化学物质能够从源头上 减少二噁英的合成(Addink et al., 1996; Hajizadeh et al., 2012),前期研究表明,硫胺基复合阻滞剂(简称阻滞剂)作为一种高效的硫氮基阻滞剂,虽然对飞灰中二噁英的抑制率高达95%以上,但对烟气中二噁英的抑制率仅为40%左右.飞灰中二噁英可能通过气相迁移进入烟气,从而降低阻滞剂对烟气中二噁英的抑制效果.由此可见,减少烟气中二噁英的排放需要重点考虑如何减弱飞灰中二噁英的气相迁移.
基于此,本文选用电加热管式炉作为反应器,选取国内典型的生活垃圾焚烧飞灰进行实验,系统地研究不同温度和气氛对生活垃圾焚烧系统脱硫塔前端飞灰中二噁英热解析特性的影响,并探讨各工况下二噁英的总量及其同分异构体的气固相分布情况.同时,研究硫胺基复合阻滞剂抑制二噁英合成时对烟气中二噁英气固相分布的影响,以期为阻滞剂的工业应用提供参考和借鉴.
2 试验材料和方法(Materials and methods) 2.1 试验材料试验中所用飞灰取自国内某典型循环流化床生活垃圾焚烧锅炉,取样点位于半干法脱硫塔前端(半干前).飞灰采集后在105 ℃下干燥24 h,150目筛分后密封保存.飞灰的ICP(Inductively Coupled Plasma)金属元素分析结果见表 1,其中,Cu和Fe的含量分别为0.46%和4.0%.此外,EDS(Energy Dispersive Spectrometer)元素分析结果(表 2)表明,飞灰中Cl含量较高,达到了11.75%.
| 表1 飞灰中主要金属元素 Table 1 Content of main metal element in fly ash |
| 表2 飞灰主要元素含量 Table 2 Content of main element in fly ash |
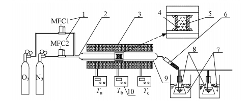
实验装置如图 1所示,采用电加热三段管式炉.反应器由内外石英管组成,内外管长度分别为0.6 m和1.6 m,内径分别为20 mm和45 mm.反应温度由3个S型热电偶控制,反应中飞灰用石英棉固定在内管尾端.气体流量为300 mL · min-1,反应时间为1 h.烟气中气相二噁英通过XAD-II树脂和甲苯吸收液吸收,而飞灰中残留的二噁英作为固相进行分析.具体实验工况见表 3,工况1~3为不同反应温度的可比较工况,工况2、4、5为不同含氧量的可比较工况,工况2、6为阻滞剂添加与否的可比较工况.每组工况均进行平行重复实验.
![]() |
| 图 1 反应系统原理图(1.质量流量计,2.石英内管,3.管式炉,4.玻璃棉,5.飞灰,6.XAD-II 树脂,7.冰浴,8.甲苯,9.石英外管,10.温度控制器) Fig. 1 Schematic of the reactor system |
| 表3 试验工况 Table 3 Experimental operation condition |
样品的预处理方法按照EPA1613方法进行,主要包括索氏提取、酸洗定容、过酸碱硅胶柱和氧化铝柱及氮吹(Yan et al., 2010).利用高分辨气相色谱/高分辨质谱进行二噁英进机分析,型号为JMS800D.升温程序:150 ℃保持1 min,以25 ℃ · min-1 的速率升至190 ℃,然后以3 ℃ · min-1的速率升至280 ℃,保温20 min.本文重点研究17种有毒二噁英的总量和同分异构体分布,采用的毒性当量因子为国际毒性当量因子I-TEQ(International Toxic Equivalent Quality).
3 结果和讨论(Results and discussion) 3.1 反应温度对飞灰中二噁英质量变化的影响原始飞灰中二噁英(I-TEQ)的总量为17.52 ng · g-1(0.37 ng · g-1,以I-TEQ计),远低于我国生活垃圾焚烧飞灰进填埋厂的控制标准(3.0 ng · g-1,以I-TEQ计).飞灰中二噁英以高氯代为主,其中,OCDD和OCDF分别占总量的34.98%和28.03%,同时,PCDDs(Polychlorinated Dibenzo-p-dioxins)与PCDFs(Polychlorinated Dibenzofurans)的比值为0.80,表明飞灰中二噁英主要来自从头合成(Addink et al., 1995a).此外,2,3,4,7,8-PeCDF对毒性当量的贡献率最大,达到了26.79%,符合我国典型生活垃圾焚烧飞灰的特点(Chen et al., 2008;Chang et al., 2011).
已有研究结果表明,即使是同一反应温度下二噁英的气固相分布也存在差异.Altwicker等(1994)研究发现,飞灰加热至350 ℃时气相二噁英占总量的比例为94%;Addink等(1995c)的研究却表明,飞灰加热至398 ℃时仅有28%的二噁英以气相存在.Yokohama等(2008)将两者的差异归结为试验条件和试验材料的不同.反应温度是影响飞灰中二噁英气固相分布的重要因素.本研究分别选取250、350和450 ℃这3个温度点作为研究参数模拟国内典型流化床生活垃圾焚烧飞灰实际过程中气固相二噁英的分布特性.
在本实验中,热降解、热脱附和生成反应等3种反应机制共同存在并相互影响.不同温度下飞灰排放的气固相二噁英总量(I-TEQ)变化情况如图 2所示.350 ℃时气固相二噁英总量最低,而450 ℃时排放的二噁英总量为36.53 ng · g-1,是原始飞灰中的2倍.这不仅与飞灰的理化特性有关,还与各种反应的竞争作用有关(严建华等,2005).气固相二噁英的毒性当量随着反应温度的升高而逐步增大,450 ℃时毒性当量达到了8.64 ng · g-1(以I-TEQ计).这与反应温度升高,脱氯反应增强,低氯代同系物分布增加等有关.同时与飞灰在低温段进行降低毒性热处理时需选择惰性气氛的反应条件一致.此外,250 ℃时气相二噁英含量很低,仅为总量的6.20%,表明焚烧炉尾部烟道250 ℃处飞灰析出的气相二噁英较少;当温度为350 ℃时,气相二噁英占总量的47.69%,比例介于Altwicker等(1994)和Addink等(1995a)的研究结果之间;当温度达到450 ℃,99.7%的二噁英以气相存在,这与二噁英的熔沸点相互对应.
![]() |
| 图 2 12%O2/N2气氛下反应温度对飞灰中二噁英质量变化的影响 Fig. 2 Effects of reaction temperature on the mass variation of PCDD/Fs in 12%O2/N2 |
原始飞灰中二噁英的氯代系数(氯原子的平均取代个数)为7.48,随着反应温度的升高,氯代系数持续下降,450 ℃时氯代系数的平均值仅为5.82,其中,气相和固相分别为5.81和6.41(表 4),这与Song等(2008)的结论一致.研究表明,飞灰表面不仅是二噁英合成过程中氯化反应的重要场所,同时也是低温脱氯反应的催化表面(Lundin et al., 2005).低温热处理促进脱氯反应的进行,导致低氯代二噁英含量增加,而毒性当量也随之增大.同一工况下,气固相及总量的氯代系数大小依次为:固相>总量>气相.这表明高(低)氯代系数的同系物具有较低(高)的蒸汽压,更容易分布在固(气)相中.同时,由同一工况下的各相及总量的PCDDs/PCDFs比值变化可知(表 4),PCDDs相较于PCDFs更易分布在固相里,即PCDDs较PCDFs具有更低的蒸汽压.
| 表4 12% O2/N2气氛下不同反应温度下气相和固相中所含二噁英的氯代系数变化情况 Table 4 Average chlorination degree of PCDD/Fs in gas and solid phase under different reaction temperatures in 12%O2/N2 |
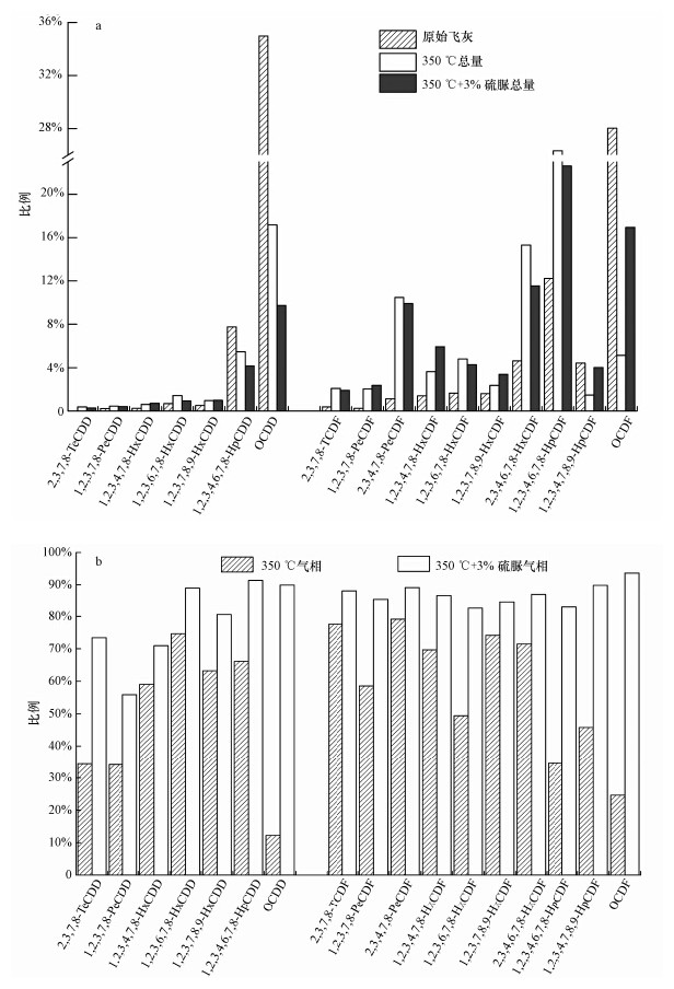
不同温度下飞灰排放的总量和气相二噁英中同分异构体分布情况见图 3.由图 3a可知,反应温度为250 ℃和350 ℃时,二噁英的分布多以高氯代异构体为主.250 ℃时二噁英中OCDD和OCDF的比例最大,分别为35.86%和27.53%,表明250 ℃脱氯反应相对较弱.由图 3b可知,250 ℃时低氯代2,3,7,8-PCDD/Fs多分布在气相中,这不仅与熔沸点关联密切,还可能与飞灰表面进行的前驱物合成反应相关;350 ℃时OCDD和1,2,3,4,7,8,9-HpCDF的比例分别为17.18%和26.33%,而所有同分异构体在气相中的分布均在50%左右.450 ℃时2,3,7,8-PCDD/Fs中高氯代异构体的比例相对降低,其中,OCDD的比例降低至1.81%,低氯代2,3,4,7,8-PeCDF比重增大最为显著,达到38.63%.因此,450 ℃时毒性当量增大明显.PCDFs的含量由250 ℃ 时的54.75%上升为93.36%,表明二噁英从头合成反应更为显著.由图 3b可知,450 ℃时几乎所有的2,3,7,8-PCDD/Fs同分异构体都分布在气相中.综上可知,与原始飞灰相比,250 ℃对气固相二噁英的同分异构体分布影响较小,而450 ℃时同分异构体分布变化较大.
![]() |
| 图 3 12%O2/N2气氛下不同反应温度对气相和固相中所含二噁英同分异构体分布的影响 Fig. 3 Effects of the congener distribution of PCDD/Fs in gas and solid phase under different reaction temperatures in 12%O2/N2 |
350 ℃下飞灰中二噁英的合成作用深受氧含量的影响,同时氧含量也能够影响二噁英的热降解效率.在低温(300~500 ℃)情况下,常采用惰性气氛如纯氮气下进行二噁英热降解处理.本文试验中氮气通入后,飞灰排放的二噁英总量与氧含量为12%时相当(图 4),表明除了从头合成反应外,飞灰表面可能通过其它不需要氧的反应(如前驱物的缩聚反应等)再生成了二噁英,从而补充了二噁英受热分解的部分.气氛中氧含量为6%时,飞灰排放的二噁英总量为6.75 ng · g-1,比氧含量为12%时高2.47 ng · g-1.Chang等(2000)研究证实,氧含量为5%时飞灰合成的二噁英最多.这说明二噁英的生成虽与氧含量有关,但含氧量不是影响二噁英生成的唯一因素.此外,氧含量为0、6%和12%时气相二噁英的比例分别为88.81%、85.0%和47.69%,可见飞灰排放的气相二噁英的比例随氧含量的增大而降低.这可能与含氧量增加对反应系统蒸汽压的改变及高氯代二噁英(较低蒸汽压)的分布提高等有关.由于二噁英合成所需的氯源主要来自于Deacon反应,而氧气能够促进该反应进行(López et al., 2008),所以氧含量为12%时二噁英的氯代系数最高(表 5).
![]() |
| 图 4 350 ℃时气氛中含氧量对飞灰中二噁英质量变化的影响 Fig. 4 Effects of oxygen content on the mass variation of PCDD/Fs at 350 ℃ |
| 表5 350 ℃时不同反应气氛下气相和固相中所含二噁英的氯代系数变化情况 Table 5 Average chlorination degree of PCDD/Fs in gas and solid phase in different reaction atmospheres at 350 ℃ |
不同气氛下飞灰排放的总量和气相二噁英的同分异构体分布情况见图 5.由图 5a可知,氧含量对同分异构体分布的作用规律不明显.氧含量为12%时,高氯代二噁英的比例相对较大,尤其是OCDD、1,2,3,4,6,7,8-HpCDF和OCDF,表明氯化作用与氧含量存在一定关联.由图 5b可知,氧含量为0时气相二噁英的同分异构体比例均高于60%,而氧含量为6%时只有OCDF的比例低于50%,表明氧量不足时飞灰析出二噁英的过程对同分异构体种类不具有选择性.综上可知,飞灰中二噁英的热解析作用随着氧含量的增加而减弱,同时氧含量为6%时飞灰排放的二噁英总量最大.
![]() |
| 图 5 350 ℃时不同反应气氛对气相和固相中所含二噁英同分异构体分布的影响 Fig. 5 Effects of the congener distribution of PCDD/Fs in gas and solid phase under different reaction temperatures at 350 ℃ |
在诸多二噁英的减排技术中,化学抑制作为一种有效可行的方法,特别是硫氮基阻滞剂已经被广泛应用于实际生产中(Hunsinger et al., 2007; Chen et al., 2014).前期研究发现,阻滞剂对飞灰中二噁英的抑制率高达95%以上,但对烟气中二噁英的抑制效果不稳定.本研究重点探讨了硫胺基复合阻滞剂(简称阻滞剂)对飞灰排放的二噁英的总量和气固相分布的影响.
由图 6可知,飞灰添加阻滞剂并加热至350 ℃时,二噁英总量降低至2.44 ng · g-1(0.22 ng · g-1,以I-TEQ计),表明阻滞剂的添加对飞灰中的二噁英起到了减排作用.气相二噁英的比例为87.50%,远高于不添加阻滞剂时的47.69%,表明硫胺基阻滞剂对固相二噁英合成具有抑制作用,但对气相二噁英的作用不明显.固相二噁英的氯代系数由7.01下降至 6.52(表 6).这表明阻滞剂的添加促进了脱氯反应的进行并提高了飞灰中低氯代二噁英的分布,从而促进了飞灰中二噁英向气相的热解析.
![]() |
| 图 6 12%O2/N2气氛下350 ℃时阻滞剂对飞灰中二噁英质量变化的影响 Fig. 6 Effects of dioxin inhibitor on the mass variation of PCDD/Fs in 12%O2/N2 at 350 ℃ |
| 表6 12%O2/N2气氛下350 ℃时添加硫胺基复合阻滞剂对气相和固相中所含二噁英氯代系数的影响 Table 6 Effects of the average chlorination degree of PCDD/Fs in gas and solid phase with and without the addition of thiourea in 12%O2/N2 at 350 ℃ |
添加阻滞剂前后飞灰排放的总量和气相二噁英的同分异构体分布情况见图 7.由图 7a可知,阻滞剂能够促进PCDDs低温热降解,同时增大高氯代PCDFs的含量,其中,OCDD由17.18%下降至9.73%,而OCDF由5.12%上升至16.4%,最终导致PCDDs与PCDFs的比值由0.36下降为0.21.由图 7b可知,添加阻滞剂后,所有气相二噁英的同分异构体比例均增大,尤其是OCDD和OCDF,表明阻滞剂能够降低高氯代二噁英析出所需的温度.控制和减少垃圾焚烧炉二噁英的生成和减排,必须从主要影响因素入手:①减少二噁英在炉内的生成量;②避免炉外低温二噁英的再合成;③去除已生成的二噁英.硫胺基复合阻滞剂不仅能够有效的减少二噁英在炉内的生成量,而且能够避免飞灰表面低温再合成二噁英,但对尾部烟道中气相二噁英的减排效果有限,仍需更为系统深入的研究.
![]() |
| 图 7 12%O2/N2气氛下350 ℃时添加硫胺基复合阻滞剂对气相和固相中所含二噁英同分异构体分布的影响 Fig. 7 Effects of the congener distribution of PCDD/Fs in gas and solid phase with and without the addition of thiourea in 12%O2/N2 at 350 ℃ |
飞灰加热时受到二噁英合成、热脱附和热降解的共同作用,存在相互竞争机制,导致气固相二噁英的质量不断变化(Addink et al., 1995b; Abad et al., 2000).如表 7所示,450 ℃时飞灰析出的气相二噁英最多,而250 ℃时飞灰中残留的固相二噁英最多,表明温度是影响气固相二噁英分布比例的最主要因素. 同时,350 ℃时添加3%的硫胺基,气相和固相二噁英的减少量分别34.6%和79.8%,表明硫胺基对二噁英合成具有抑制作用.比较各工况下二噁英的总量,发现仅有250 ℃和添加硫胺基时二噁英总量减少,可见瞬间降低烟气温度和添加抑制剂导致二噁英合成作用弱于热降解作用,因此,实际垃圾焚烧厂添加硫胺基都有助于实现二噁英的减排.
| 表7 二噁英质量平衡 Table 7 PCDD/Fs mass balance |
1)飞灰解析出的气相二噁英的总量随着温度的升高而不断增大,当反应温度为450 ℃时,气相二噁英占总量的99.7%.
2)飞灰中二噁英的热解析作用随着氧含量的增加而减弱,同时存在某种氧含量(如6%)时飞灰排放的二噁英总量最大.
3)硫胺基复合阻滞剂不仅能够有效的减少二噁英在炉内的生成量,而且能够避免飞灰表面低温再合成二噁英,但是对尾部烟道中气相二噁英的减排效果有限,仍需系统深入的研究.
| [1] | Abad E, Adrados M A, Caixach J, et al.2000.Dioxin mass balance in a municipal waste incinerator[J].Chemosphere, 40(9/11): 1143-1147 |
| [2] | Addink R, Cnubben P A J P, Olie K.1995a.Formation of polychlorinated dibenzo-p-dioxins/dibenzofurans on fly ash from precursors and carbon model compounds[J].Carbon, 33(10): 1463-1471 |
| [3] | Addink R, Govers H A J, Olie K.1995b.Kinetics of formation of polychlorinated dibenzo-p-dioxins/dibenzofurans from carbon on fly ash[J].Chemosphere, 31(6): 3549-3552 |
| [4] | Addink R, Govers H A J, Olie K.1995c.Desorption behaviour of polychlorinated dibenzo-p-dioxins/dibenzofurans on a packed fly ash bed[J].Chemosphere, 31(8): 3945-3950 |
| [5] | Addink R, Paulus R H W L, Olie K.1996.Prevention of polychlorinated dibenzo-p-dioxins/dibenzofurans formation on municipal waste incinerator fly ash using nitrogen and sulfur compounds[J].Environ Science & Technology, 30(7): 2350-2354 |
| [6] | Altwicker E R, Xun Y, Milligan M S.1994.Dioxin formation over fly ash: oxygen dependence, temperature dependence and phase distribution[J].Organohalogen Compounds, 20: 381-384 |
| [7] | Chang M B, Huang T F.2000.The effects of temperature and oxygen content on the PCDD/PCDFs formation in MSW fly ash[J].Chemosphere, 40(2): 159-164 |
| [8] | Chang Y M, Fan W P, Dai W C, et al.2011.Characteristics of PCDD/F content in fly ash discharged from municipal solid waste incinerators[J].Journal of Hazardous Materials, 192(2): 521-529 |
| [9] | Chen T, Yan J H, Lu S Y, et al.2008.Characteristic of polychlorinated dibenzo-p-dioxins and dibenzofurans in fly ash from incinerators in China[J].Journal of Hazardous Materials, 150(3): 510-514 |
| [10] | Chen T, Zhan M X, Lin X Q, et al.2014.Inhibition of the de novo synthesis of PCDD/Fs on model fly ash by sludge drying gases[J].Chemosphere, 114: 226-232 |
| [11] | Cunliffe A M, Williams P T.2007.Influence of temperature on PCDD/PCDF desorption from waste incineration fly ash under nitrogen[J].Chemosphere, 66(6): 1146-1152 |
| [12] | Everaert K, Baeyens J.2002.The formation and emission of dioxins in large scale thermal processes[J].Chemosphere, 46(3): 439-448 |
| [13] | Hajizadeh Y, Onwudili J A, Williams P T.2012.Effects of gaseous NH3 and SO2 on the concentration profiles of PCDD/F in flyash under post-combustion zone conditions[J].Waste Management, 32(7): 1378-1386 |
| [14] | Huang H, Buekens A.2001.Chemical kinetic modeling of de novo synthesis of PCDD/F in municipal waste incinerators[J].Chemosphere, 44(6): 1505-1510 |
| [15] | Hunsinger H, Seifert H, Jay K.2007.Reduction of PCDD/F formation in MSWI by a process-integrated SO2 cycle[J].Environmental Engineering Science, 24(8): 1145-1159 |
| [16] | 纪莎莎, 李晓东, 徐旭, 等.2012.关于医疗垃圾飞灰中二噁英在惰性气氛下的低温热脱附研究[J].环境科学, 33(11): 3999-4005 |
| [17] | Kakuta Y, Matsuto T, Tanaka N, et al.2005.Influence of residual carbon on the decomposition process of PCDD/Fs in MSWI fly ash[J].Chemosphere, 58(7): 969-975 |
| [18] | López N, Gómez-Segura J, Marín R P, et al.2008.Mechanism of HCl oxidation (Deacon process) over RuO2[J].Journal of Catalysis, 255(1): 29-39 |
| [19] | Lundin L, Marklund S.2005.Thermal degradation of PCDD/F in municipal solid waste ashes in sealed glass ampules[J].Environmental Science & Technology, 39(10): 3872-3877 |
| [20] | Lundin L, Aurell J, Marklund S.2011.The behavior of PCDD and PCDF during thermal treatment of waste incineration ash[J].Chemosphere, 84(3): 305-310 |
| [21] | Mätzing H, Baumann W, Becker B, et al.2001.Adsorption of PCDD/F on MWI fly ash[J].Chemosphere, 42(5/7): 803-809 |
| [22] | Misaka Y, Abe T, Takeuchi K, et al.2006.Dechlorination/hydrogenation and destruction reactions of PCDDs in OCDD-added fly ash heated under vacuum[J].Chemosphere, 65(3): 419-426 |
| [23] | Pan Y, Yang L B, Zhou J Z, et al.2013.Characteristics of dioxins content in fly ash from municipal solid waste incinerators in China[J].Chemosphere, 92(7): 765-771 |
| [24] | Song G J, Kim S H, Seo Y C, et al.2008.Dechlorination and destruction of PCDDs/PCDFs in fly ashes from municipal solid waste incinerators by low temperature thermal treatment[J].Chemosphere, 71(2): 248-257 |
| [25] | Takaoka M, Shiono A, Nishimura K, et al.2005.Dynamic change of copper in fly ash during de novo synthesis of dioxins[J].Environmental Science & Technology, 39(15): 5878-5884 |
| [26] | Weber R, Sakurai T, Hagenmaier H.1999.Formation and destruction of PCDD/PCDF during heat treatment of fly ash samples from fluidized bed incinerators[J].Chemosphere, 38(11): 2633-2642 |
| [27] | 严建华, 陈彤, 谷月玲, 等.2005.垃圾焚烧炉飞灰中二噁英的低温热处理试验研究[J].中国电机工程学报, 25(23): 95-99 |
| [28] | Yan M, Li X D, Chen T, et al.2010.Effect of temperature and oxygen on the formation of chlorobenzene as the indicator of PCDD/Fs[J].Journal of Environmental Sciences, 22(10): 1637-1642 |
| [29] | Yokohama N, Otaka H, Minato I, et al.2008.Evaluation of gas-particle partition of dioxins in flue gas I: Evaluation of gasification behavior of polychlorinated dibenzo-p-dioxins and polychlorinated dibenzofurans in fly ash by thermal treatment[J].Journal of Hazardous Materials, 153(1/2): 395-403 |
| [30] | 张峰, 张海军, 陈吉平, 等.2008.飞灰中二噁英热脱附行为的研究[J].环境科学, 29(2): 525-528 |
| [31] | Zhang G, Hai J, Cheng J.2012.Characterization and mass balance of dioxin from a large-scale municipal solid waste incinerator in China[J].Waste Management, 32(6): 1156-1162 |
2015, Vol. 35








