2. 中国环境科学研究院环境基准与风险评估国家重点实验室, 北京 100012;
3. 中国环境科学研究院, 北京 100012;
4. 山东科技大学化学与环境工程学院, 青岛 266590
2. State Key Laboratory of Environmental Criteria and Risk Assessment, Chinese Research Academy of Environmental Sciences, Beijing 100012;
3. Chinese Research Academy of Environmental Sciences, Beijing 100012;
4. College of Chemical and Environmental Engineering, Shandong University of Science and Technology, Qingdao 266590
磷是所有生命的必须元素.据统计,全球约有70亿t磷矿石(以P2O5计)可供开采.现在出产的磷矿石的80%用做肥料,而磷矿石是一种非可再生资源,现有磷矿石只能够供人类继续开采50~100年(Xu et al., 2012).我国是农业大国,对磷矿石的需求日益增长.与碳、氮不同,磷在生态系统中的循环是单向流动,其最终归宿是水体(王晓霞,2010).磷的这种迁移过程更加剧了人类对磷需求逐年上升与磷资源逐渐减少的矛盾,人类迫切的需要通过其他途径获取磷.
为避免生活、工业污水污染水体,在排放前需要进行处理,90%的磷负荷通过生物法和化学法去除,产生了大量的富磷污泥.通过有效的方法使磷从剩余污泥中释放出来并以一定形式加以回收,这不仅为剩余污泥的处理处置开辟了新的方向,而且对磷资源的可持续发展具有重要意义.
磷的资源化利用的关键步骤之一是采取一定的措施使磷从污泥中释放到液相中,污泥破解技术主要有物理法、化学法、生物方法及一些组合的方法等,如厌氧消化(Chen et al., 2005)、好氧消化(Borowski and Szopa, 2007)、加热(薛涛等,2006)、臭氧氧化(Saktaywin et al,2005)、酸碱溶胞(Liao et al,2003;陈汉龙等,2013)、密闭加压微波辐射(Liao et al., 2005a)、超声(王晓霞等,2009;)、微波辐射-过氧化氢联合作用(Liao et al., 2005b,Wong et al., 2006)等.超声波是通过空化作用产生的局部高温、高压和极强的剪切和射流作用来破坏微生物细胞壁,释放胞内物质,具有无污染、能量密度高和分解污泥速度快等特点.因此研究者开展了超声波以及同其它处理工艺,如酸碱处理等的组合工艺处理污泥的研究(郭杰等,2006;徐静和王三反,2009;王怡等,2010;陈汉龙等,2013).然而,这些研究以污泥减量化、污泥中有机物的去除为主要目的,目前以污泥中磷的溶出为主要目的相关研究较少.本研究的目的是考察和比较碱处理和碱-超声联合作用下3种不同来源的剩余污泥正磷酸盐和有机物释放的规律,以期为剩余污泥中磷的高效回收提供理论依据.
荧光光谱(Three Dimension Excitation-Emission Matrix,3DEEMs)技术被用来揭示有机物的种类及含量信息,是基于其结构中含有大量带有各种官能团的芳香环结构以及未饱和脂肪链.荧光光谱技术具有灵敏度高、选择性好、且不破坏样品结构的优点,可对水体中痕量有机物进行充分的识别和解析,非常适合用来研究有机物的化学和物理性质(欧阳二明等,2007).在对河流、湖泊中的溶解性有机物、给水处理及污水处理等领域(Patel-Sorrention et al., 2002; Wolfe et al., 2002)的研究中得到广泛应用.本研究中,三维荧光光谱用于碱和碱-超声联合作用下3种不同来源的剩余污泥中析出有机物的分析.
2 实验材料和方法(Materials and methods) 2.1 污泥的来源实验中所测定的剩余污泥分别取自某制药厂污水处理厂、两座北京城市污水处理厂——清河污水处理厂和高碑店污水处理厂,经压滤处理后的剩余污泥.为了保证整个试验工程污泥性质一致,采样取得污泥后,在低于20 ℃的背阴处风干、粉碎、过80目筛后贮存于-20 ℃冰箱备用.某制药厂污水处理厂采用水解酸化预处理工艺和接触氧化的好氧生物处理作为主体工艺,主要处理磷霉素钠制药废水;清河污水处理厂采用具有良好脱氮除磷功能的A2O工艺;高碑店污水处理厂采用传统活性污泥法二级处理工艺.
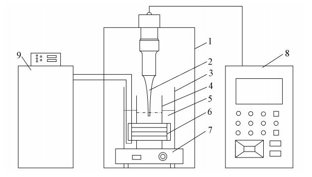
2.2 实验装置超声处理装置由反应器、超声波发生器、循环水冷却系统和磁力搅拌器组成,如图 1所示.用于实验的泥水混合液150 mL置于体积为300 mL的反应器中,反应器放于1000 mL烧杯中,由恒温循环器与热交换装置及冷却水控制反应器温度为20 ℃.超声由Scientz-ⅡD型超声波细胞粉碎机提供,频率为20~25 kHz,最大电功率为950 W,变幅杆直径为6 mm.变幅杆末端浸入污泥液面1 cm左右.通过磁力搅拌器使反应器混合均匀,避免超声过程中污泥混合不均影响超声处理效果.
![]() |
| 图 1 超声波处理装置(1. 隔音箱;2. 超声探头;3. 大烧杯;4. 小烧杯;5. 冷却水;6. 冷却器;7. 磁力搅拌器;8. 操作控制台;9. 恒温循环器) Fig. 1 Schematic diagram of ultrasonic treatment device(1. soundproof box; 2. ultrasonic probe; 3. big beaker; 4. small beaker; 5. cooling water;6. cooler; 7. magnetic stirrer; 8. control panel; 9. constant temperature circulator) |
取含固量为5 g的剩余污泥于烧杯中,加入150 mL去离子水混匀作为空白对照;取等量污泥和去离子水混合后用饱和NaOH溶液调节pH值为12,采用碱+超声联合处理,在pH值为12的条件下超声破解30 min(超声作用方式为间歇式,脉冲比为1∶1,声能密度为2 W·mL-1)后静置20 h.在10000 r·min-1的转速下离心20 min(热电,美国),固液分离.测出上清液的体积及PO3-4-P、TP、SCOD、TOC的浓度,并对污泥上清液进行三维荧光扫描.分离出的污泥用于检测污泥的TS、VS和剩余污泥中TP含量.所有泥样的分析都做了3个平行样.
2.4 测试方法污泥TC的测定采用具有固体模块功能的TOC/TN分析仪(Multin N/C2100,耶拿,德国);污泥上清液TOC的测定采用TOC分析仪(TOC-L CPN CN200,岛津,日本);污泥TP、TN、TS、VS的测定参照《城市污水处理厂污泥检验方法》(CJT 221—2005,2005);pH值、PO3-4-P、TP的测定均按标准方法(国家环境保护总局《水和废水监测分析方法》编委会,2002)进行测定;TCOD、SCOD采用重铬酸钾法(LaPara et al., 2000),并采用紫外可见分光光度计(UNIC4802,尤尼柯,美国)测定.
三维荧光光谱图由荧光光度计(F-7000,日立,日本)测得,其参数设定为:激发波长扫描范围200~450 nm,发射波长扫描范围260~550 nm,激发和发射狭缝宽度均为5 nm,扫描速率2400 nm · min-1,扫描间隔5 nm.
TS、VS依据重量法(国家环境保护总局《水和废水监测分析方法》编委会,2002)测定.STS和SVS分别表示TS、VS溶出率(Liu et al,2008),计算方法依据下式:

3种污泥的干污泥、加入150 mL去离子水后形成的泥水混合液,其特性如表 1所示.
| 表1 3种剩余污泥特性 Table.1 Characteristics of the three surplus activated sludge |
从表 1中可以看出,干污泥中制药污泥的有机物的含量最高,但清河污泥TP和TN含量明显高于其它两种污泥.这3种剩余污泥按照处理污水的来源可以分为处理工业废水产生的污泥和处理城市废水产生的污泥.尽管制药处理厂处理的废水中以含有机磷的磷霉素为主要成份,制药厂的剩余污泥中TP的含量仍然在这3类污泥中为最低.清河污泥和高碑店污泥分别代表采用不同污水处理工艺的城市污水厂剩余污泥.清河污水处理厂采用具有脱氮除磷功能的A2O工艺,而剩余污泥经浓缩脱水;高碑店污泥采用具有脱氮除磷功能的传统活性污泥法二级处理工艺,污泥经两级中温消化、化学除磷后脱水.高碑店污泥处理工艺中采用了化学除磷单元,是其TP低于清河污泥中TP含量的主要原因.
比较3种污泥溶于水前后各项性质可以发现,清河污泥SCOD值高于其余两种污泥,说明清河污泥的可溶性有机物比其余两种污泥高;清河污泥的可溶性TP、PO3-4-P含量远高于其余两种污泥,且清河污泥中溶于水的TP含量占到干污泥TP量的43.93%,其中,98.47%为PO3-4-P;而其余两种污泥可溶性的TP在干污泥中含量不超过0.40%.因此高碑店污泥和制药污泥需要进一步处理以利于磷的释放.
3.2 磷释放已有研究(王晓霞等,2010)表明,经超声或碱单独预处理后,污泥的PO3-4-P、TP、COD、TOC值均有明显增加,表明细胞内的可溶性物质释放进入了水相.碱可以抑制细胞活性,使细胞溶解,释放细胞物质.超声波处理是一种物理溶胞技术,是通过超声波在液相中产生空化作用,破坏污泥絮凝体、菌胶团和细胞体,达到污泥减量化的目的(王晓霞等,2010).经碱处理和碱+超声处理后,制药、清河、高碑店污泥中磷释放到液相中,3种污泥在释磷前后上清液中的正磷酸盐、有机磷及污泥中的总磷含量以及磷的释放率如表 2、图 2所示.
| 表2 3种污泥处理前后磷的释放 Table.2 The phosphorus release from three kinds of surplus sludge before and after pretreatment mg · g-1 |
![]() |
| 图 2 污泥预处理前后磷的析出率 Fig. 2 Ratio of release phosphorous to TP in sewage sludge before and after pretreatment |
对照样品处理前后,制药污泥上清液中的正磷酸盐、有机磷的含量分别从0.0031、0.0013 mg · g-1升高到加碱后的0.034、0.15 mg · g-1,加碱超声后的0.05、0.18 mg · g-1,制药污泥中有机磷的析出要高于正磷酸盐.制药污泥的正磷酸盐析出率从0.03%增加到加碱后的0.38%和加碱超声后的0.55%,总磷析出率从0.18%增加到加碱后的2.07%和加碱超声后的2.53%.尽管制药污泥的正磷酸盐和总磷在处理后增加了10~17倍,但析出的正磷酸盐和总磷仍然很低.
经过加碱和超声处理,清河污泥上清液中的正磷酸盐、有机磷的含量分别从10.29、0.16 mg · g-1升高到加碱后的12.49、2.45 mg · g-1,加碱超声后的12.6、2.75 mg · g-1,清河污泥中正磷酸盐的析出高于有机磷.清河污泥的正磷酸盐析出率从38.93%增加到加碱后的47.28%和加碱超声后的47.70%,总磷析出率从39.54%增加到加碱后的56.56%和加碱超声后的58.12%.清河污泥的正磷酸盐和总磷处理后增加了21%~46%,但析出的正磷酸盐和总磷量最大.
高碑店污泥上清液中的正磷酸盐、有机磷的含量分别从0.019、0.027 mg · g-1升高到加碱后的1.59、1.05 mg · g-1,加碱超声后的2.24、1.08 mg · g-1,高碑店污泥中正磷酸盐的析出高于有机磷.高碑店污泥的正磷酸盐析出率从0.16%增加到加碱后的12.93%和加碱超声后的18.31%,总磷析出率从0.38%增加到加碱后的21.49%和加碱超声后的27.11%.高碑店污泥的正磷酸盐和总磷在处理后增加了55~113倍,在3种污泥中析出率变化最大.
从污泥上清液回收磷的方法主要有沉淀法(Xu et al., 2012; Doyle and Parsons, 2002)、结晶法(宋晓明等,2003)、离子交换法(Morse et al., 1998)和吸附法(丁文明和黄霞,2002;徐洪斌和马勇光,2008)等,均需要将磷转化为PO3-4的形式加以回收,正磷酸盐的量是下一步磷回收的基础.清河污水处理厂采用的具有脱氮除磷功能的A2O工艺,原始污泥为城市污泥,无机磷含量很高,加碱超声后无机磷的析出高于有机磷;高碑店污泥属于城市污泥,经处理后析出的磷无机磷较多,加碱超声对高碑店污泥无机磷的析出影响最大;制药污泥为工业污泥,经处理后析出的磷有机磷居多,加碱超声对制药污泥无机磷的析出影响最小.
3.3 有机物的释放上清液中总有机碳(TOC)和SCOD的增加表达了剩余污泥经预处理后污泥释放到水体中有机物质总量及可溶性有机物的增加.由图 3可知,经过碱处理和超声处理前后不同污泥的SCOD的释放明显不同.清河污泥的原始污泥SCOD为10.69 g · L-1,经过碱处理和碱/超声联合处理后污泥的SCOD均增加至18.91 g · L-1,增加了77%;高碑店污泥的原始污泥SCOD的析出了1.54 g · L-1,经过碱处理和碱/超声联合处理后污泥的SCOD分别达到5.79 g · L-1和6.29 g · L-1,增加了276%和308%,制药污泥上清液的SCOD从0.39 g · L-1,经过碱处理和碱/超声联合处理后分别增加至0.87 g · L-1和1.25 g · L-1,增加了123%和221%.因此,在加碱和超声的作用下,高碑店污泥的SCOD释放量高,制药污泥次之,清河污泥最低.
![]() |
| 图 3 3种剩余污泥经预处理后有机物的释放 Fig. 3 The release of organic substances from three kinds of surplus activated sludge after treatment |
上清液中TOC的变化规律与此类似.清河污泥的原始污泥TOC为3.62 g · L-1,经过碱处理和碱/超声联合处理后污泥的TOC分别增加至6.74 g · L-1和7.57 g · L-1,增加了86%和109%;高碑店污泥的原始污泥TOC为0.48 g · L-1,经处理后上清液中的TOC分别达到0.96 g · L-1和1.20 g · L-1,增加了100%和150%;制药污泥的原始污泥TOC为0.14 g · L-1,经过处理后污泥的TOC分别增加至0.42 g · L-1和0.50 g · L-1,增加了200%和257%;因此,在加碱和超声的作用下,制药污泥的SCOD释放率高,高碑店污泥次之,清河污泥最低.
3类污泥经碱处理后TOC和SCOD均有不同程度的增加,说明在高pH时,碱性物质可以与细胞壁进行反应,并溶解细胞(周群英和高廷耀,2000;肖本益和刘俊新,2006).碱处理后再超声波处理,3类污泥TOC和SCOD(除清河污泥的SCOD变化不明显)有明显增加,也能证明超声波对污泥的碱溶胞具有明显的改善作用(刘勇等,2009).考虑到有机物的释放对后续磷回收的影响(程振敏等,2009;张蕊,2012),选择有机物释放量小而污泥磷释放量最高的清河污泥为进一步开展磷回收试验的对象.
3.4 碱处理和超声对剩余污泥的三维荧光特征的影响常见的可溶性有机污染物可用荧光峰中心位置划分.三维荧光图采用一致的激发波长EM(emission wavelength)和发射波长EX(excitation wavelength)边界,依据文献(Chen et al., 2003)用水平和垂直直线把每个图划分为5个区域,图上的峰对应腐殖酸类、芳香类蛋白、富里酸、溶解性细胞代谢产物等有机物.一般来说,峰位于较短的激发波长(<250nm)和较短的发射波长(<50 nm)对应简单的芳香类蛋白质(Ⅰ和Ⅱ区域).峰位于中间的激发波长(250~280 nm)发射波长(<380 nm)对应溶解性细胞代谢产物(Ⅵ区域).激发波长(<250 nm)发射波长(>350 nm)的峰对应富里酸类有机物.激发波长(>280 nm)发射波长(>380 nm)的峰对应腐殖酸类有机物.可溶性有机物的三维荧光峰可用于评估经处理后污泥结构的破坏(Luo et al., 2013).
从图 4a可知,某制药污泥的三维荧光图谱上的主要荧光峰(A1,A2,A3)和较小的荧光峰(B1,B2,B3)各位于Ⅵ和Ⅱ区域,分别对应的有机物质是溶解性细胞代谢产物(类蛋白)和Ⅱ类芳香蛋白(Sheng and Yu, 2006; Wang et al., 2009).同处理前的污泥比较,溶解性细胞代谢产物(峰 A)加碱后的荧光强度增大,加碱超声后荧光强度略微降低;Ⅱ类芳香蛋白(峰 B)加碱后的荧光强度增加而加碱超声后荧光强度降低的趋势更为明显.说明某些加碱溶出的荧光物质在超声作用后浓度降低(Ni et al., 2009).
![]() |
| 图 4 处理前后三类污泥的3维荧光图谱(a. 制药污泥; b. 清河污泥; c.高碑店污泥) Fig. 4 Three-dimensional excitation emission matrix fluorescence spectrum(3DEEM)contour charts of three kinds of surplus activated sludge before and after pretreatment(a. pharmaceutical surplus activated sludge; b. Qinghe surplus activated sludge; c. Gaobeidian surplus activated sludge) |
从图 4b可知清河污泥的三维荧光图谱上的荧光峰(C1,C2,C3)、(D1,D2,D3)、(E1,E2,E3)分别位于Ⅰ、Ⅱ和Ⅵ区域,分别对应Ⅰ类芳香蛋白、Ⅱ类芳香蛋白和溶解性细胞代谢产物(类蛋白).同制药污泥在处理前后的变化趋势类似,Ⅰ类芳香蛋白、Ⅱ类芳香蛋白和溶解性细胞代谢产物(类蛋白)加碱后荧光强度增加,加碱超声处理后荧光强度减弱.因此,加碱使得荧光物质溶于上清液中,超声则破环了某些荧光物质.并且清河污泥中可溶性有机物的荧光强度按照Ⅱ类芳香蛋白、Ⅰ类芳香蛋白和溶解性细胞代谢产物(类蛋白)的顺序递减.高碑店污泥的三维荧光图谱上的荧光峰(F1,F2,F3)、(G1,G2,G3)、(H1,H2,H3)及其荧光强度的变化趋势同清河污泥类似(图 4c).
比较工业污泥和城市污泥可以看出,这两类污泥中溶出的有机物各不相同,城市污泥以Ⅰ类、Ⅱ类芳香蛋白为主,工业污泥以溶解性细胞代谢产物(类蛋白)为主,并且城市污泥中可溶出的有机物的种类大于工业污泥.另外,经比较后发现,每种污泥经过碱处理和超声处理后特征荧光峰位置λex/λem出现细微红移或蓝移现象,说明有机物结构中增加了羰基、羟基、烷氧基、氨基等基团或这些基团被去除(Chen et al., 2002),然而,这些荧光峰类型是基本相同的,说明碱处理和超声处理不会从根本上改变污泥上清液中有机物的组分和化学结构.这与其他学者关于污泥胞外聚合物的三维荧光特性研究(Chen et al., 2003)相一致.
同特征荧光峰相关联的有机物的含量可以用特征荧光强度来对应(郝瑞霞等,2007).特征荧光强度可以用荧光区域积分表示,荧光区域积分(fluorescence regional integration,FRI)是另一种荧光光谱解析方法,可对多组分体系中荧光光谱的重叠对象进行光谱识别和表征(姚璐璐,2013).3类污泥处理前后上清液经荧光扫描,特征荧光强度的变化如图 5所示.3类污泥中最明显的有机物质均属于蛋白质类,另外还包含少量富里酸类和腐殖酸类.碱既能溶解细胞,使细胞质释放,又能水解蛋白质,溶解富里酸和腐殖酸(杜连祥,1992).由图 5a和图 5c可以看出经过碱处理后制药污泥和高碑店污泥各类物质的特征荧光强度明显升高,说明用碱处理这两种污泥时溶胞作用释放入水相的蛋白质类、富里酸类和腐殖酸类多于促进水解的蛋白质类、富里酸类和腐殖酸类.清河污泥的各类物质的特征荧光强度没有升高(图 5b),可能由于清河污泥结构比较松散,加水后污泥溶解比较完全,再对其碱处理和超声波处理就没有明显促进作用.超声波的能量不足以破坏蛋白质的共价键,所以不能分解蛋白质.另外,超声波与碱处理具有相似的溶胞效果,超声波+碱处理应该比单纯碱处理释放更多溶解性有机物(DOM).但图 5所示3种污泥均是碱处理后再超声与单纯碱处理相比各类物质的特征荧光强度变化不显著,甚至DOM释放量反而稍有降低,这可能是超声波产生的空化效应能促进碱水解蛋白质类、分解富里酸类和腐殖酸类.具体机理有待考证.
![]() |
| 图 5 处理前后三种污泥特征荧光强度变化(a. 制药污泥; b. 清河污泥; c. 高碑店污泥) Fig. 5 The change of specific fluorescence intensity before and after treatment(a. pharmaceutical surplus activated sludge; b. Qinghe surplus activated sludge; c. Gaobeidian surplus activated sludge) |
加碱和超声预处理前后3种剩余污泥TS、VS溶出率的变化如图 6表示.从图中可以看出所有3类污泥在碱+超声联合预处理都比单独碱处理TS、VS溶出率高,说明超声与碱处理都能使TS、VS溶出,有助于污泥的减量化.已有研究证明,采用加碱+超声联合处理剩余污泥,比单独采用超声、碱处理效果更好(杨洁等,2008;苗礼娟,2009).这与本研究结果一致.
![]() |
| 图 6 预处理前后污泥TS、VS溶出率 Fig. 6 The release of TS、VS before and after pretreatment |
高碑店TS、VS在预处理前为最高,为22.70%、13.60%,加碱和加碱超声后TS的溶出率分别为3.10%和3.83%,加碱和加碱超声后VS的溶出率分别为9.52%、9.96%;清河污泥TS、VS在预处理前分别为5.72%和9.26%,加碱和加碱超声后TS的溶出率为18.39%和23.76%,加碱和加碱声后VS的溶出率为26.94%、33.00%;制药污泥TS、VS在预处理前的溶出率分别为0.97%和25.80%,加碱和加碱超声后TS的溶出率为1.89%和2.96%,加碱和加碱超声后VS的溶出率为8.05%、11.09%.清河污泥TS、VS溶出率明显高于其它两种污泥,这是因为经碱处理和超声处理后,清河污泥SCOD和TOC溶出率高,破碎程度高,TS、VS溶出率也高.
4 结论(Conclusions)1)3种剩余污泥的无机磷和有机磷的含量不同,来自生物除磷工艺的城市剩余污泥处理前无机磷的含量最高;加碱超声处理后城市污泥无机磷的释放高于有机磷,而工业污泥的有机磷释放高于无机磷;来自生物除磷工艺的城市剩余污泥无机磷释放率达到47.70%,而有机物的释放率最低,适合进一步开展磷回收.
2)当pH值为12时超声30 min(间歇式,脉冲比为1∶1,声能密度为2 W · mL-1)的条件下,碱和超声预处理均有利于剩余污泥磷和有机物溶出,采用生物除磷和化学除磷工艺的城市剩余污泥的磷和有机物在预处理后增加率最大,但制药污泥预处理后变化最小.因此需要进一步实验以得到合用于制药污泥中磷释放的运行条件.
3)分析三维荧光图谱可知,工业污泥和城市污泥在碱和超声作用下释放的有机物成份不同,碱处理能促进污泥蛋白质类、腐殖酸类和富里酸类有机物的释放,但碱和超声处理不足以改变污泥上清液中有机物的组分.
| [1] | Borowski S, Szopa J S. 2007. Experiences with the dual digestion of municipal sewage sludge [J]. Bioresource Technology, 98(6): 1199-1207 |
| [2] | 陈汉龙, 严媛媛, 何群彪, 等. 2013. 酸碱法预处理低有机质污泥的效果研究及条件优化[J]. 环境科学学报, 33(2): 459-462 |
| [3] | Chen J, Gu B H, Le-Boeuf E J, et al. 2002. Spectroscopic characterization of the structural and functional properties of natural organic matter fractions [J]. Chemosphere, 48(1): 59-68 |
| [4] | Chen W, Westerhoff P, Leenheer J A, et al. 2003. Fluorescence excitation-emission matrix regional integration to quantify spectra for dissolved organic matter [J]. Environmental Science & Technology, 37(24): 5701-5710 |
| [5] | Chen Y G, Liu Y, Zhou Q, et al. 2005. Enhanced phosphorus biological removal from wastewater—effect of microorganism acclimatization with different ratios of short-chain fatty acids mixture [J]. Biochemical Engineering Journal, 27(1): 24-32 |
| [6] | 程振敏, 魏源送, 刘俊新. 2009. 酸碱预处理对常压微波辐射剩余活性污泥磷释放的影响[J]. 环境科学, 30(4): 1110-1114 |
| [7] | 丁文明, 黄霞. 2002. 废水吸附法除磷的研究进展[J]. 环境污染治理技术与设备, 10(3): 23-27 |
| [8] | Doyle J D, Parsons S A. 2002. Struvite formation, control and recovery [J]. Water Research, 36(16): 3925-3940 |
| [9] | 杜连祥. 1992. 工业微生物学实验技术[M]. 天津: 天津科学技术出版社. 38-39 |
| [10] | 郭杰, 曾光明, 张盼月, 等. 2006. 污水处理厂污泥中磷的回收[J]. 环境科学与技术, 29(9): 88-89, 111 |
| [11] | 国家环境保护总局《水和废水监测分析方法》编委会. 2002. 水和废水监测分析方法(第4版)[M]. 北京: 中国环境科学出版社. 105-284 |
| [12] | 郝瑞霞, 曹可心, 邓亦文. 2007. 城市污水处理过程中有机污染物三维荧光特性的变化规律[J]. 分析测试学报, 26(6): 789-792 |
| [13] | LaPara T M, Alleman J E, Pope P G. 2000. Miniaturized closed reflux, colorimetric method for the determination of chemical oxygen demand[J]. Waste Management, 20(4): 295-298 |
| [14] | Liao P H, Mavinic D S, Koch F A. 2003. Release of phosphorus from biological nutrient removal sludges: A study of sludge pretreatment methods to optimize phosphorus release for subsequent recovery purposes [J]. Journal of Environmental Engineering Sciences, 2(5): 369-381 |
| [15] | Liao P H, Wong W T, Lo K V. 2005a. Release of phosphorus from sewage sludge using microwave technology [J]. Journal of Environmental Engineering Sciences, 4(1): 77-81 |
| [16] | Liao P H, Wong W T, Lo K V. 2005b. Advanced oxidation process using hydrogen peroxide microwave system for solubilization of phosphate [J]. Journal of Environmental Science and Health, Part A, 40(9): 1753-1761 |
| [17] | Liu X L, Liu H, Chen J H, et al. 2008. Enhancement of solubilization and acidification of waste activated sludge by pretreatment[J]. Waste Management, 28(12): 2614-2622 |
| [18] | 刘勇, 郝赟, 张书廷. 2009. 低强度超声波与酸、碱协同对污泥溶胞的影响[J]. 环境科学学报, 29(4): 683-688 |
| [19] | Luo K, Yang Q, Li X M, et al. 2013. Novel insights into enzymatic-enhanced anaerobic digestion of waste activated sludge by three-dimensional excitation and emission matrix fluorescence spectroscopy [J]. Chemosphere, 91(5): 579-585 |
| [20] | 苗礼娟. 2009. 超声和碱联合预处理剩余污泥的厌氧消化及余热利用研究[D]. 哈尔滨: 哈尔滨工业大学 |
| [21] | Morse G K, Brett S W, Guy J A, et al. 1998. Review: Phosphorus removal and recovery technologies [J]. The Science of the Total Environment, 212(1): 69-81 |
| [22] | Ni B J, Fang F, Xie W M, et al. 2009. Characterization of extracellular polymeric substances produced by mixed microorganisms in activated sludge with gel-permeating chromatography, excitation-emission matrix fluorescence spectroscopy measurement and kinetic modeling [J]. Water Research, 43(5): 1350-1358 |
| [23] | 欧阳二明, 张锡辉, 王伟. 2007. 城市水体有机污染类型的三维荧光光谱分析法[J]. 水资源保护, 23(3): 56-59 |
| [24] | Pardo P, Rauret G, López-Sànchez J F. 2004. Shortened screening method for phosphorus fractionation in sediments: A complementary approach to the standards, measurements and testing harmonized protocol [J]. Analytica Chimica Acta, 508(2): 201-206 |
| [25] | Patel-Sorrention N, Mounier S, Benaim J Y. 2002. Excitation-emission fluorescence matrix to study pH influence on organic matter fluorescence in the Amazon basin rivers [J]. Water Research, 36(10): 2571-2581 |
| [26] | Saktaywin W, Tsuno H, Nagare H, et al. 2005. Advanced sewage treatment process with excess sludge reduction and phosphorus recovery [J]. Water Research, 39(5): 902-910 |
| [27] | Sheng G P, Yu H Q. 2006. Characterization of extracellular polymeric substances of aerobic and anaerobic sludge using three-dimensional excitation and emission matrix fluorescence spectroscopy [J]. Water Research, 40(6): 1233-1239 |
| [28] | 宋晓明, 杨健, 王萍. 2003. 废水除磷研究进展[J]. 福建环境, 20(6): 33-35 |
| [29] | 王晓霞, 邱兆富, 范吉, 等. 2009. 超声波处理剩余污泥有机物、氮和磷的释放特性研究[J]. 环境污染与防治, 31(3): 66-69 |
| [30] | 王晓霞. 2010. 剩余污泥减量化处理中细胞物质的释放特性与磷回收研究[D]. 上海: 华东理工大学 |
| [31] | 王晓霞, 吕树光, 邱兆富, 等. 2010. 超声波处理、热处理及酸碱调节对剩余污泥溶解效果的对比研究[J]. 环境污染与防治, 32(8): 56-61 |
| [32] | 王怡, 刘潘, 彭党聪. 2010. 超声及碱处理促进剩余污泥水解的试验研究[J]. 中国给水排水, 26(15): 29-31 |
| [33] | Wang Z W, Wu Z C, Tang S J. 2009. Characterization of dissolved organic matter in a submerged membrane bioreactor by using three-dimensional excitation and emission matrix fluorescence spectroscopy [J]. Water Research, 43(6): 1533-1540 |
| [34] | Wolfe A P, Kausal S S, Fulton J R, et al. 2002. Spectrofluorescence of sediment humic substances and historical changes of lacustrine organic matter provenance in response to atmospheric nutrient enrichment [J]. Environmental Science & Technology, 36(15): 3217-3223 |
| [35] | Wong W T, Chan W I, Liao P H, et al. 2006. Exploring the role of hydrogen peroxide in the microwave advanced oxidation process: solubilization of ammonia and phosphates [J]. Journal of Environmental Engineering Sciences, 5(6): 459-465 |
| [36] | 肖本益, 刘俊新. 2006. 污水处理系统剩余污泥碱处理融胞效果研究 [J]. 环境科学, 27(2): 319-323 |
| [37] | 徐洪斌, 马勇光. 2008. 磷资源合理利用及回收[J]. 安全与环境工程, 15(3): 62-64 |
| [38] | Xu H C, He P J, Gu W M, et al. 2012. Recovery of phosphorus as struvite from sewage sludge ash [J]. Journal of Environmental Sciences, 24(8): 1533-1538 |
| [39] | 徐静, 王三反. 2009. 超声波预处理改善污泥性能研究[J]. 净水技术, 28(1): 51-53 |
| [40] | 薛涛, 黄霞, 郝王娟. 2006. 剩余污泥热处理过程中磷、氮和有机碳的释放特性[J]. 中国给水排水, 22(23): 22-25 |
| [41] | 杨洁, 季民, 韩育宏, 等. 2008. 污泥碱解和超声破解预处理的效果研究[J]. 环境科学, 29(4): 1002-1006 |
| [42] | 姚璐璐, 涂响, 于会彬, 等. 2013. 三维荧光区域积分评估城市污水中溶解性有机物去除[J]. 环境工程学报, 7(2): 411-416 |
| [43] | 张蕊. 2012. MAP和HAP结晶法除磷工艺研究 [D]. 北京: 北京市环境保护科学研究院 |
| [44] | 中华人民共和国建设部. 2005. CJ/T221—2005. 城市污水处理厂污泥检验方法[S]. 北京: 中国标准出版社 |
| [44] | 周群英, 高廷耀. 2000. 环境工程微生物学[M]. 北京: 高等教育出版社. 26-29 |
2014, Vol. 34







