2. 北京中油瑞飞信息技术有限责任公司油藏IT业务部, 北京 100007
3. 中海油研究总院, 北京 100027
2. CNPC Beijing Richfit Information&Technology Co., Ltd. Reservoir IT Business Department, Beijing 100007, China
3. CNOOC Research Institute, Beijing 100027, China
近年来,石油地球物理技术不断发展和完善,使得频谱分析技术成为利用地震信息进行含油气性预测的有效方法之一,频率衰减是频谱分析技术中的重要属性特征(文瑞霞,2009).席道瑛等(1997)进行了饱和多孔岩石的地震波衰减与孔隙度及饱和度的关系研究;王大兴等(2006)实验研究了地层条件下砂岩含水饱和度对地震波波速衰减的影响;尹陈等(2009)利用弥散系数波动方程定量研究了地震波频率衰减的机制等.地震波衰减是地震波在地下介质中传播时总能量的损失,是介质的内在属性,因此可以利用地震波振幅和频率的衰减信息进行含油气性预测(张固澜,2011).
为了有效利用高频衰减信息,Mitchell等(1996)提出了通过计算吸收系数参数估计所吸收的高频能量的EAA方法,并在近年来得到广泛应用.常规的EAA技术一般采用两点斜率计算方法进行线性曲线拟合,但该方法计算出的吸收衰减梯度准确度不高,尤其对于频谱波动较大的地震信号效果很差,从而导致油气检测的可靠性较低.另一方面,当地震记录中的高频或低频成分受干扰较强时,单一的吸收衰减梯度则不能很好地用于检测油气(孙璞等,2014).笔者将时频聚焦性更好的TP小波变换和子波谱拟合方法引入吸收衰减属性的计算与分析中.首先对TP小波变换时频谱进行子波谱估计获得更平滑、能量聚焦性更好的时频谱,然后分别在低频段和高频段利用最小二乘曲线拟合提取稳定的、准确度较高的低频和高频衰减梯度,两种梯度相互佐证,以期更可靠地指示油气,最后将该方法应用于某盆地侏罗系致密砂岩含气储层段,取得了很好的油气检测效果.
1 基本原理 1.1 三参数小波变换高静怀等(2006)由匹配地震子波的物理小波出发,提出了一类新的分析小波—三参数小波(three-parameter wavelet,简称TP小波),该小波是对地震子波模拟公式的修改得到的,有三个可调参数,对信号做小波分析时有很大的自由度,能够很好地匹配给定的地震子波或有效信号,与最佳匹配地震子波(Best matching seismic wavelet,BMSW)的小波或其他小波相比具有更好的时域局部化性质.其时域表达式为
|
(1) |
式中矢量Λ=(σ,τ,β)表示参数σ,τ,β的一组集合;σ为分析小波的调制频率;τ为能量衰减因子;β为能量延迟因子,(σ,τ,β∈R且σ,τ≥0).通过对(1)式作傅里叶变换,可以得其频域形式(高静怀等,2006).
由式(1)构造的小波函数即为TP小波,将TP小波作为基本小波,对于任意给定的信号s(t)∈L2(R),L2表示平方可积函数空间,s(t)关于分析小波φ(t)的TP小波变换为
|
(2) |
式中,a为尺度因子,b为平移因子,a,b∈R且a≠0,φ*表示取复共轭.
尺度因子a对应于TP小波主频.根据Meyers等(1993)提出的方法,可得到尺度因子与小波主频的关系式为
|
(3) |
式中,f是Fourier频率,ω*为中心频率(平均频率).若使上式对TP小波成立,则须取能量延迟因子β=0.根据定义,令β=0,则可计算出TP小波的平均频率ω*为
|
(4) |
图 1是TP小波与BMSW小波的时-频特性比较,取Λ=(1,0.5,0).对于分析包含快速变化频率及振幅分量的信号,为了在得到最佳时间分辨率的同时还要分离开信号中的各种频率分量,需取较小的σ值.当σ较小时(如σ=1),BMSW小波的模在时-频域会出现多个峰(图 1c,图 1d),用包络是多峰的分析小波作为基本小波对信号进行分析时,会导致信号在多个位置上局部化,这在信号时频分析中会产生一些不期望的假象;而在相同的参数下,TP小波的模仅有一个峰(图 1a,图 1b).由此可见,TP小波在时-频域有更加理想的局部化性质,这使得TP小波不仅适合分析包含慢变频率和幅度分量的信号,也适合分析包含快变分量的信号.
|
图 1 TP小波与BMSW小波的时频特性比较 (a)TP 小波波形;(b)TP 小波的Fourier 振幅谱;(c)BMSW 小波波形;(d)BMSW 小波的Fourier 振幅谱 Figure 1 The comparison of timefrequency characteristics between threeparameter wavelet and BMSW wavelet (a)TP wavelet waveform;(b)TP wavelet’Fourier amplitude spectrum;(c)BMSW wavelet waveform;(d)BMSW wavelet’Fourier amplitude spectrum. |
在应用TP小波变换进行时频分析的过程中,可以通过调节组合参数σ,τ,β,从而调整时频谱的时间分辨率和频率分辨率.由图 2可知,随着σ减小或τ增大,时频谱的时间分辨率增高,频率分辨率降低;反之,则时频谱的时间分辨率降低,频率分辨率增高.
|
图 2 TP 小波的参数σ,τ,β 对时频谱的时频率分辨率的影 (a)σ=4,τ=0. 4,β=0;(b)σ=2,τ=0. 4,β=0;(c)σ=2,τ=4,β=0;(d)σ=0. 5,τ=4,β=0. Figure 2 The effects of TP wavelet'parameters σ,τ,β on timefrequency resolution in the timefrequency spectrum |
在进行瞬时谱分析时,一般利用“低频能量增强,高频能量衰减”的低频异常特性进行油气检测,通过对比分析相应的低频和高频分频剖面,确定有利的含油气性区域.由于该方法要对比图形,相对比较繁琐,而且瞬时谱分析结果显示不直观,为此,引入地层吸收剖面(Xue et al.,2013)来计算低频和高频分频剖面的异常差异值,进行含油气性检测.由于计算过程中需要对分频剖面进行归一化处理,故在本文将其称为归一化地层吸收剖面,提取步骤如下描述:
1) 分别提取合适的低频分频剖面和高频分频剖面,并将各个分频剖面归一化到区间[0,1];
2) 计算归一化后的低频分频剖面和高频分频剖面的差异值,其变化区间为[-1,1],然后将大于零的差异值定义为地层吸收剖面的值,它们表示了油气检测中低频能量的增强和高频能量的衰减.
1.3 地震波频率吸收衰减 1.3.1 子波谱拟合时频谱中不仅包含地震子波的信息,也包含地下地层反射系数的信息,而地层的吸收衰减只会造成子波形态的改变,此时需要消除反射系数的影响,拟合出更加平滑的、能量聚焦更规则的地震子波谱,利于提取稳定的吸收衰减梯度(张繁昌等,2015).Rosa和Ulrych(1991)在研究了子波振幅谱后指出:只要地震子波是光滑的,就可以通过数学方法拟合出来.子波谱的拟合公式为
|
(5) |
式中:H(f)为子波振幅谱;an(n=0,1,2…N)是关于f的多项式系数;k为常数;N为多项式的阶数.由于不同地震信号所对应的振幅谱形状各不相同,所以参数k,N的取值是不确定的,取值会决定子波谱拟合的质量.根据待分析的地震数据,通过试验测试可以给出拟合谱呈现较好形态(或较逼近原始振幅谱形态)时的k,N取值.本文利用TP小波变换时频谱拟合子波振幅谱的过程可概括为:①依据试验确定k,N;②利用最小二乘曲线拟合求an;③将an(n=0,1,2…N)带入式(5)中,即得光滑的子波振幅谱.
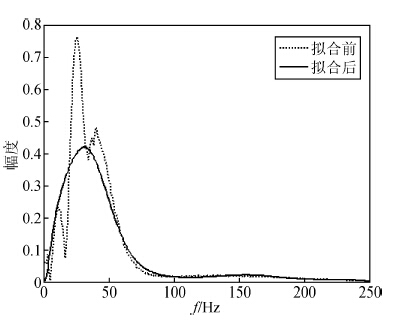
图 3为对时频谱的某一时间点进行子波谱拟合的结果,从图中可以看出,子波谱拟合前的频谱(点线)不够光滑,这将会导致吸收衰减梯度提取不稳定;而子波谱拟合后的频谱(实线)很平滑,这有利于提取稳定的吸收衰减梯度属性.
|
图 3 子波谱拟合前、后的振幅谱 Figure 3 Amplitude spectrum before and after applying wavelet spectrum fitting |
地震波频率吸收衰减梯度对于储层的预测与描述,特别是气藏的预测是一个非常重要的参数.常规的吸收衰减梯度技术采用两点斜率计算方法进行曲线拟合,这种方法对于频谱不平滑或频谱波动较大的地震信号效果较差.为了保证吸收衰减梯度的准确性,本文采用最小二乘法进行曲线拟合,分别求取拟合谱的低频段和高频段指数衰减系数,步骤如下:
(1) 利用TP小波变换对某一地震道记录进行时频分解,获得时频谱.
(2) 对时频谱的某一时间点(ti时刻)进行子波振幅谱拟合,得到点谱,如图 4所示.
|
图 4 计算吸收衰减梯度示意图 Figure 4 The sketch map of calculating absorption attenuation gradient |
(3) 在点谱上计算出峰值振幅Amax及其对应的峰值频率fmax,根据预先定义的低频段起始和结束门槛值αl1,αl2和高频段起始和结束门槛值αh1,αh2,计算得到αl1Amax,αl2Amax,αh1Amax,αh2Amax及其各自对应的fl1,fl2,fh1,fh2,然后分别在低频段(fl1-fl2)和高频段(fh1-fh2)利用最小二乘曲线拟合求出低、高频吸收衰减梯度值.
(4) 选取下一时刻ti+1,循环步骤(2)-(3),至该道结束.(5)选取下一地震道记录,循环步骤(1)-(4),直至最后一道.步骤(3)中,当处理实际地震资料时,可根据地震资料品质和研究目标,调节计算频率衰减梯度的频率范围,以得到更加准确的吸收衰减梯度值.
2 基于TP小波变换的储层含气性检测某盆地侏罗系砂岩地层埋藏深,储层非均质性强,而且该区西一段(简称X1段,为产气目的层段)顶部发育的沼泽相煤系地层,分布面积和厚度比较大,形成强反射,煤层强阻抗分界面对下部储层有屏蔽作用,导致下部砂岩地层的地震反射较弱,砂体难以准确描述;同时由于地震数据分辨率低,含气储层段薄,直接利用地震资料预测储层含气性比较困难.本文将时频聚焦性更好的TP小波变换与子波谱拟合方法引入吸收衰减属性的计算与分析中,通过提取准确度较高的、稳定的低频和高频吸收衰减梯度,以期更好地进行砂岩含气薄储层段的油气检测.
2.1 实际单道记录谱分析图 5是某区块的实际叠后地震剖面(标有井位),黑色实线为W1井位置,实钻结果显示该区含气层段位于煤层强反射轴下面.首先对该地震剖面的过W1井地震道记录(如图 6a所示)进行了不同方法的时频谱对比分析.图 6b、图 6c、图 6d分别是利用STFT、Morlet小波变换和广义S变换得到的时频谱,从图中可以看出,这三种时频谱的时间分辨率较低,2.60~2.65 s之间的时频谱黏连在一起区分不开,不容易检测到该范围内的含气薄层位置.而TP小波通过适当调节三个参数,可明显提高时频谱的时间分辨率,有利于含气薄层的识别,如图 6e所示,这显示了其对实际地震数据分析的有效性及优越性.
|
图 5 原始地震剖面 Figure 5 The original seismic profile |
|
图 6 不同时频分析方法的时频谱效果对比 Figure 6 (a)实际单道记录;(b)短时傅里叶变换;(c)Morlet 小波变换;(d)广义S 变换;(e)TP 小波变换 (a)The real singletrace seismic record;(b)STFT;(c)Morlet wavelet transform;(d)Generalized S transform;(e)TP wavelet transform. |
针对该区目标层段的特殊地质状况,将TP小波变换、子波谱拟合和最小二乘曲线拟合计算吸收衰减梯度相结合,逐道求取目的层段时频谱分布,得到时频域能量衰减梯度数据体.其中W1井为含气井,钻井结果显示在X1段的2.62~2.64 s部位有含气显示.图 7c为利用TP小波变换得到的瞬时主频分布图,从图中可见,含气层对应的频率明显降低.图 7a和图 7b分别为高频吸收衰减梯度和低频吸收衰减梯度剖面,对比可见,两种剖面都是稳定的,且整体形态基本相似,在含气目的层段(黑色椭圆内)均呈现出明显的吸收衰减增大的趋势,与瞬时主频的突然降低吻合很好,能很好地指示油气部位.由于TP小波变换在低频段具有较高的频率分辨率,高频段具有较高的时间分辨率,因此吸收衰减梯度剖面中低频段吸收衰减梯度指示的油气范围比高频段吸收衰减梯度大.图 7d是根据TP小波变换瞬时谱分析提取的归一化地层吸收剖面,该剖面同样能够清晰、准确地刻画出含气储层段的位置(黑色椭圆内),与吸收衰减梯度分析结果一致.
|
图 7 利用TP 小波变换得到的时频属性剖面 (a)高频吸收衰减梯度;(b)低频吸收衰减梯度;(c)瞬时主频分布图;(d)归一化地层吸收剖. Figure 7 The different timefrequency attributes with TP wavelet transform (a)Absorption attenuation gradient of high frequency;(b)Absorption attenuation gradient of low frequency; (c)The instantaneous frequency distribution;(d)The normalized formation absorption profile. |
|
图 8 沿X1 段顶分别下沿2、4、10、12 ms 的吸收衰减梯度属性切片 The absorption attenuation gradient slices of decurrent 2 ms,4 ms,10 ms and 12 ms along X1 formation Figure 8 (a)下沿2 ms 的切片;(b)下沿4 ms 的切片;(c)下沿10 ms 的切片;(d)下沿12 ms 的切片 (a)The decurrent 2 ms slice;(b)The decurrent 4 ms slice;(c)The decurrent 10 ms slice;(d)The decurrent 12 ms slice. |
图 8a至图 8d分别为沿X1段顶下沿2、4、10、12 ms的高频吸收衰减梯度属性切片,主要描述了W1井处的产气层段的响应.从X1段顶下沿4 ms开始至10 ms结束,大约为12.5 m,厚度与深度均与实测井资料一致,进一步证实了本文方法在薄层油气检测方面的有效性.
3 结论与认识3.1 TP小波变换通过调节三个参数,可以明显提高时频谱的时间分辨率,对识别含气薄层有很大优势.实际单道记录测试验证了TP小波变换时频谱相较于SFTF、广义S变换和Morlet小波变换时频谱的高分辨率优势.
3.2 将时频聚焦性更好的TP小波变换与子波谱拟合方法引入吸收衰减属性的计算与分析中,通过对TP小波变换时频谱进行子波谱估计,获得更平滑、能量聚焦性更好的时频谱,然后利用最小二乘曲线拟合分别在低频段和高频段提取较高准确度的、稳定的吸收衰减梯度,对致密砂岩含气储层段进行了应用分析.实际资料处理效果与真实情况吻合很好,不论是低频还是高频吸收衰减梯度,均能清晰、准确地显现砂岩含气层段的位置,刻画其空间展布;而且与基于瞬时谱分析提取的归一化地层吸收剖面的分析结果一致,为本区致密砂岩含气储层段的预测提供了一套有效可行的技术方案.
3.3 在利用基于TP小波变换的吸收衰减梯度进行油气检测时,更应该与层速度分析及其他属性进行综合解释,减少假象,提高油气检测的准确性.
致谢 感谢审稿专家提出宝贵的修改意见和编辑部老师的帮助.| [1] | Chen X H, He Z H, Huang D J, et al.2009. Low frequency shadow detection of gas reservoirs in time-frequency domain[J]. Chinese Journal of Geophysics (in Chinese), 52 (1) : 215–221. |
| [2] | Dong N, Yang L Q.2008. Application of absorption and attenuation based on wavelet transform for prediction of reservoir in tahe oilfield[J]. Progress in Geophysics (in Chinese), 23 (2) : 533–538. |
| [3] | Fu Y Y, Qin Q R, Xu F, et al.2012. Estimation of seismic wave energy attenuation gradient based on WVD and STFT[J]. Xinjiang Petroleum Geology (in Chinese), 33 (3) : 353–356. |
| [4] | Gao J H, Wan T, Chen W C, et al.2006. Three parameter wavelet and its applications to seismic data processing[J]. Chinese Journal of Geophysics (in Chinese), 49 (6) : 1802–1812. DOI:10.3321/j.issn:0001-5733.2006.06.028 |
| [5] | Meyers S D, Kelly B G, O'Brien J J.1993. An introduction to wavelet analysis in oceanography and meteorology: With application to the dispersion of Yanai waves[J]. Monthly Weather Review, 121 (10) : 2858–2866. DOI:10.1175/1520-0493(1993)121<2858:AITWAI>2.0.CO;2 |
| [6] | Mitchell J T, Derzhi N, Lichma E, et al. 1996. Energy absorption analysis: A case study[C]. //66th SEG Annual International Meeting. Denver, Colorado: SEG, 1785-1788. |
| [7] | Rosa A L R, Ulrych T J.1991. Processing via spectral modeling[J]. Geophysics, 56 (8) : 1244–1251. DOI:10.1190/1.1443144 |
| [8] | Sun P, Gui Z X, Gao G, et al.2014. Reservoir prediction in tight gas sand with combined frequency attenuation gradient[J]. Journal of Oil and Gas Technology (Journal of Jianghan Petroleum Institute) (in Chinese), 36 (11) : 78–82. |
| [9] | Wang D X, Xin K F, Li Y M, et al.2006. An experimental study of influence of water saturation on velocity and attenuation in sandstone under stratum conditions[J]. Chinese Journal of Geophysics (in Chinese), 49 (3) : 908–914. DOI:10.3321/j.issn:0001-5733.2006.03.037 |
| [10] | Wen R X.2009. Frequency attenuation for gas potential prediction of the volcanic reservoirs in Qingshen gas field[J]. Natural Gas Industry (in Chinese), 29 (8) : 26–28. |
| [11] | Xi D Y, Qiu W L, Cheng J Y, et al.1997. Relation between attenuation and porosity or saturation of rock[J]. Oil Geophysical Prospecting (in Chinese), 32 (2) : 196–201. |
| [12] | Xue Y J, Cao J X, Wang D X, et al.2013. Detection of gas and water using HHT by analyzing P- and S-wave attenuation in tight sandstone gas reservoirs[J]. Journal of Applied Geophysics, 98 : 134–143. DOI:10.1016/j.jappgeo.2013.08.023 |
| [13] | Yin C, He Z H, Huang D J.2009. The analysis of seismic attenuation and time delay based on the Diffusivity-Viscosity wave equation[J]. Chinese Journal of Geophysics (in Chinese), 52 (1) : 187–192. |
| [14] | Zhang F C, Li C C, Xu W L.2015. Identification of carbonate karst caves using modified Stockwell transform method: a case study of Ordovician karst caves in Ordos Basin[J]. Acta Petrolei Sinica (in Chinese), 36 (2) : 182–187. |
| [15] | Zhang G L.2011. Low-frequency absorption attenuation gradient detection based on improved generalized S transform[J]. Chinese Journal of Geophysics (in Chinese), 54 (9) : 2407–2411. DOI:10.3969/j.issn.0001-5733.2011.09.024 |
| [16] | Zhang G L, He Z H, Zhang Y B, et al.2010. Detection of low-frequency shadow based on improved generalized S-transform[J]. Progress in Geophysics (in Chinese), 25 (6) : 2040–2044. DOI:10.3969/j.issn.1004-2903.2010.06.020 |
| [17] | 陈学华, 贺振华, 黄德济, 等.2009. 时频域油气储层低频阴影检测[J]. 地球物理学报, 52 (1) : 215–221. |
| [18] | 董宁, 杨立强.2008. 基于小波变换的吸收衰减技术在塔河油田储层预测中的应用研究[J]. 地球物理学进展, 23 (2) : 533–538. |
| [19] | 付勋勋, 秦启荣, 徐峰, 等.2012. 基于Wigne-Ville分布和短时傅里叶变换时频分布计算地震波衰减梯度[J]. 新疆石油地质, 33 (3) : 353–356. |
| [20] | 高静怀, 万涛, 陈文超, 等.2006. 三参数小波及其在地震资料分析中的应用[J]. 地球物理学报, 49 (6) : 1802–1812. DOI:10.3321/j.issn:0001-5733.2006.06.028 |
| [21] | 孙璞, 桂志先, 高刚, 等.2014. 组合频率衰减属性预测致密含气砂岩储层[J]. 石油天然气学报(江汉石油学院学报), 36 (11) : 78–82. |
| [22] | 王大兴, 辛可锋, 李幼铭, 等.2006. 地层条件下砂岩含水饱和度对波速及衰减影响的实验研究[J]. 地球物理学报, 49 (3) : 908–914. DOI:10.3321/j.issn:0001-5733.2006.03.037 |
| [23] | 文瑞霞.2009. 用频率衰减属性预测庆深气田火山岩储层含气性[J]. 天然气工业, 29 (8) : 26–28. |
| [24] | 席道瑛, 邱文亮, 程经毅, 等.1997. 饱和多孔岩石的衰减与孔隙率和饱和度的关系[J]. 石油地球物理勘探, 32 (2) : 196–201. |
| [25] | 尹陈, 贺振华, 黄德济.2009. 基于弥散-黏滞型波动方程的地震波衰减及延迟分析[J]. 地球物理学报, 52 (1) : 187–192. |
| [26] | 张繁昌, 李灿灿, 徐旺林.2015. 改进Stockwell变换法识别碳酸盐岩溶洞—以鄂尔多斯盆地奥陶系溶洞发育段为例[J]. 石油学报, 36 (2) : 182–187. |
| [27] | 张固澜.2011. 基于改进的广义S变换的低频吸收衰减梯度检测[J]. 地球物理学报, 54 (9) : 2407–2411. DOI:10.3969/j.issn.0001-5733.2011.09.024 |
| [28] | 张固澜, 贺振华, 张彦斌, 等.2010. 基于改进的广义S变换的低频阴影检测[J]. 地球物理学进展, 25 (6) : 2040–2044. DOI:10.3969/j.issn.1004-2903.2010.06.020 |
2016, Vol. 31

