军事地球物理探测如微震侦察和区域地震传感器监控网络等应用需要在关心的区域布设高密度的地震传感器(刘光鼎和刘代志,2003;刘代志等,2006),并要求这些地震传感器不但具有较好的仪器性能,还要价格便宜、体积小巧,满足流动观测的要求(陆其鹄等,2009).随着可控震源探测技术(王洪体等,2009),以及无缆存储式地震仪和无线遥测式地震仪的不断发展(郭建和刘光鼎,2009;李怀良等,2013),借助人工地震主动探测地下介质结构变得更加方便(赵春蕾等,2013),地震数据的采集、存储和发送也变得更为便捷,但是在地震信号的拾取方面,仍然缺少适用于这些应用的性能优良,安装简单的便携式地震传感器.
常用的地震传感器可分为电磁式地震检波器和地震计(陈瑛和宋俊磊,2013).其中地震检波器作为一种单分向的地震传感器可广泛应用于地球物理勘探领域,具有构造简单、价格低廉和结实耐用等优点.但这种地震传感器带宽较窄、温度稳定性差,且灵敏度较低,微弱的区域地震信号一般难以提取,因此在较为精确的地震观测中很少采用地震检波器(Wiel and t, 2002;王喜珍和滕云田,2010).在全球地震台网和中国数字地震观测网络这类精确的地震观测中,往往采用频带宽、灵敏度高和仪器噪声低的长周期地震计(Havskov and Alguacil, 2005;刘瑞丰等,2008;郑秀芬等,2009),但这种地震计的安装较为复杂、不适于长途运输、价格昂贵且便携性较差,很难应用于大规模和高密度的临时布设(滕吉文,2009).所以说,地震检波器和地震计均不能满足流动地震观测的要求,需要进一步研制高性能的便携式地震计.
近年来,采用结构紧凑、体积小巧的电磁式地震检波器作为换能器,并引入电子反馈来提升仪器性能是一个实现高性能和小型化地震计的研究方向.这种方法最早由德国学者Lippmann提出(1984),他将检波器接入了一个输入电阻为负值的前置放大器,利用它所提供的过阻尼反馈,可有效拓展检波器的带宽,但这种方法会减小换能系统的增益,并降低地震计的灵敏度.1999年,挪威学者在检波器的输出端构造了两个对称的过阻尼前置放大器,提升了仪器的线性度,并将这种改进的Lippmann式地震计应用于当地的地震观测研究(Fedorenko et al., 2008),以及低成本的校园地震观测项目Seis-School中(Filatov et al., 2003;Husebye et al., 2003),但是由于检波器线圈电阻存在温度漂移,在实际的观测中,地震计的温度稳定性较差,不适合长期的地震观测.
综上可知,现有的基于检波器的地震计主要存在如下两个问题:
(1)温度稳定性差,检波器线圈的电阻率会随温度变化而改变,使地震计的传递函数随温度变化发生较大漂移.
(2)灵敏度低,地震计的过阻尼前置放大器工作在较稳定的深度负反馈状态时,不能同时获得较高的前置放大器增益,导致地震计的灵敏度较低.
针对这些不足,在不改变前置放大器反馈深度和传递特性的情况下,本文对这种地震计提出改进.改进的地震计通过温度补偿电路和改进的高增益前置放大器,使地震计在较大温度范围内获得较好的一致性和较高的灵敏度.
1 基于检波器的Lippmann式短周期地震计 1.1 检波器动圈式地震检波器是一个“质量块-弹簧-阻尼”系统.其结构如图 1所示,中央部分为永磁体和磁靴,在外壳和永磁体之间,两组绕向相反的线圈和线圈架构成等效质量块、线圈架的上下有两个支撑的弹簧片.当外壳振动的时候,线圈和磁场发生相对运动,电磁感应产生易于检测的感生电动势 Ug [V]:

其中X ·(s)[m·s-1]为质量块相对于外壳的运动速度的拉普拉斯变换,s为复频率,G [V/(m·s-1)]为线圈的机电常数.
检波器工作原理如图 2所示.等效质量块经弹簧和阻尼器同地面相连,其中阻尼器的作用是由于线圈架内部的感生电流引起,那么质量块受到弹簧弹力Fk、阻尼力Fμ和电磁力FL的作用,根据牛顿第二运动定律,质量块和外壳的相对运动速度X ·(s)和地动加速度Y · ·(s)[m·s-2]的比值为

![]() | 图 2 检波器的工作原理示意图 Fig. 2 Schematic drawing of a geophone’s working principle |
其中ω0[rad/s]为系统的谐振频率:

h为阻尼系数:

k [N/m]为弹簧弹性系数,m [kg]为质量块的质量,D [N/(m·s-1)]为固有阻尼常数,Rcoil [Ω]为线圈电阻、Rpreamp [Ω]为接入检波器的前置放大器的输入电阻.
前置放大器增益A为输出电压Uout [V]与Ug的比值为

综合式(1)、式(2)和式(5),可求解基于检波器的地震传感器的传递函数H(s),输出电压与地动加速度的比值为

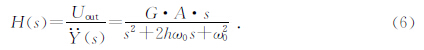
由式(6)可知,检波器实际上是由对加速度敏感的摆体质量块,对速度敏感的阻尼器和对位移敏感的弹簧构成一个二阶系统,它具有带通特性,品质因数Q=1/(2h),带宽Δf =ω0/(2πQ).阻尼系数h表明了系统的工作状态:当h小于1时,系统处于欠阻尼的状态,摆体的单位冲击响为能量衰减的周期震荡;h等于1时,系统处于临界阻尼状态,摆体的单位冲击响应为能量衰减的运动,运动不具有周期性;h大于1时,系统处于过阻尼状态,摆体的单位冲击响应迅速回到平衡位置.
以表 1中所示的美国ION公司SM-6型检波器为例,图 3为不同阻尼系数下该检波器关于地动加速度的传递特性.可以看出在谐振频率4.5 Hz处,幅频响应最大值,并且随着系统阻尼系数的增加,仪器带宽随阻尼系数的增加而增加,但传感器的灵敏度随之减小.
|
|
表 1 SM-6检波器参数 Table 1 Properties of SM-6 geophone |
![]() | 图 3 检波器在不同阻尼系数下的输出特性 Fig. 3 Sensitivity to ground acceleration curves of a geophone of different damping factors |
根据上述分析可知,增大检波器的阻尼系数可有效拓展其机械系统的带宽.根据式(4)中阻尼系数的表达式,系统的阻尼主要包括机械系统提供的固有阻尼,以及线圈受到的电磁力所提供的电子阻尼.其中电子阻尼的作用等同于机械阻尼器,它可以电子反馈的方式作用于检波器的机械系统,并可通过减小环路电阻Rcoil +Rpreamp来增大系统的阻尼系数,从而拓展地震计的带宽.但环路电阻的取值受限于检波器的线圈电阻.此时若构造前置放大器为反向放大器,其输入电阻Rpreamp=0 Ω,阻尼系数为2.5,地震计的带宽仅为22.5 Hz(0.9~23.4 Hz),仍然不能达到短周期地震计的观测要求,需要进一步增大阻尼系数.
Lippmann式短周期地震计采用负电阻反馈技术拓展地震计的带宽.它将输入电阻为负电阻的前置放大器接入检波器,其两端的电压和电流的大小满足欧姆定律,但电压方向与电流方向相反,所以输入电阻特性为负电阻.这种前置放大器可对检波器的拾震系统提供额外的电子反馈,这种反馈以电子阻尼的方式影响拾震系统的特性,拓展地震计的带宽.
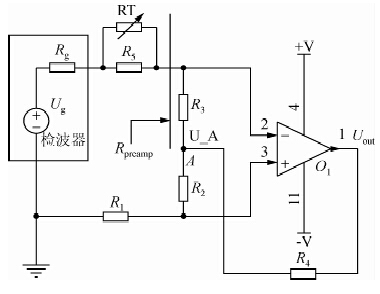
图 4为Lippmann式短周期地震计的电路原理图,运算放大器O1,电阻R1、R2和R3构成前置放大器,输入电阻为负值.Lippmann式地震计利用负电阻负载来拓宽检波器的带宽,检波器等效为内阻为Rg的理想电压源,并且Rg=Rcoil.前置放大器中,Rg和R3构成负反馈分压网络,R1和R2构成正反馈分压网络.正反馈系数γp≡R1/R2,负反馈系数γn≡Rg/R3.根据运算放大器虚短、虚断模型,Lippmann式地震计的前置放大器增益A为

输入电阻为

理想情况下,调节R1、R2和R3,可使Rpreamp取任意负值,从而提供较大的电子阻尼.可以令Rpreamp=-235 Ω,h=10,此时地震计在0.2 Hz至90.2 Hz的带宽内获得平坦输出,满足短周期地震计的带宽的要求.
![]() | 图 4 Lippmann式短周期地震计设计原理图 Fig. 4 Schematic design of the lippmann seismometer |
基于检波器的Lippmann式短周期地震计采用负电阻反馈技术,可实现短周期地震计的小型化要求,但是这种地震计仍然存在一些不足.首先,Lippmann式地震计对温度具有很强的依赖性,检波器的线圈由铜丝绕制,铜的电阻率随温度变化而变化.野外地震观测环境温差较大,当温度变化范围为-10~50 ℃时,检波器内阻变化范围达到±10%,这将导致仪器的传递特性发生较大的变化,对地震信号的后处理造成较大影响.并且这种地震计不能获得较高的灵敏度,为了使前置放大器工作在稳定的深度负反馈状态,应确保负反馈系数大幅度大于正反馈系数,并且根据式(7),这样的电路取值将限制了前置放大器增益的大小,地震计将难以获得较高的灵敏度.
2 改 进 2.1 原 理检波器线圈电阻随温度变化的规律可描述为

其中,T为开尔文温度,Rcoil0为T0时线圈的电阻值,α g=0.34%/℃为检波器线圈的温度系数.Rcoil在-10~50 ℃时的变化范围为±10.2%.
图 5是改进的基于检波器的短周期地震计的原理图,为了降低地震传感器对温度的依赖,可以使用R5和RT并联的温度补偿电路对线圈电阻加以补偿,RT为负温度系数的热敏电阻:

RT(T0)为T0时热敏电阻电阻值,B [K]为热敏电阻的材料常数,其电阻率随温度增加而减小(Altenburg et al., 2001).RT和R5并联构成了温度补偿电阻(图 5),R5为保护电阻,检波器等效内阻Rg为

![]() | 图 5 改进的基于检波器的短周期地震计原理图 Fig. 5 Schematic design of the improved seismometer |
采用这样的温度补偿措施,在-10~50 ℃时,补偿后的检波器内阻变化范围由±10.2%缩小到±0.5%.
改进的前置放大器同样具有Rg和R3构成负反馈分压网络和R1和R2构成正反馈分压网络.同样的,正反馈系数γp=R1/R2,负反馈系数γn=Rg/R3.前置放大器的输入电阻依然为式(8).在输出端引入增益电阻R4,前置放大器的增益改进为

KA为前置放大器增益放大系数:

改进后的前置放大器增益比Lippmann式地震计的前置放大器增益大KA(KA>1)倍.保证地震计的稳定性同时,可令负反馈系数尽可能的大于正反馈系数.增大增益电阻R4的取值,使前置放大器获得更高的增益,弥补所损失的系统灵敏度.所以,改进后的基于检波器的短周期地震计可以同时获得较好的稳定性和较高的灵敏度.
2.2 对 比表 2为Lippmann式地震计和改进的地震计的参数(25 ℃),两地震计具有相同负反馈系数、相同的阻尼系数和相同的带宽,并且在不改变系统阻尼系数和前置放大器电路稳定性的前提下,通过增加增益电阻,使前置放大器的增益由-59增加到-135,并且在一定功耗范围内,还可增加增益电阻的值,保证地震计具有较高的灵敏度.
|
|
表 2 改进前后的地震计参数表(25 ℃) Table 2 Properties of lippmann seismometer and improved seismometer(25 ℃) |
图 6和图 7分别为地震计在改进前后在-10~50 ℃温度变化下阻尼系数和前置放大器的变化规律.阻尼系数的设计值为10,当温度变化时,Lippmann式地震计的阻尼系数的变化范围为8.25~14.42,改进后的阻尼系数变化范围为9.73~10.01.改进前地震计前置放大器增益的设计值为-59,随温度变化前置放大器增益的变化范围为-86~-47,改进后的地震计前置放大器增益的设计值为-135,变化范围为-130~-136.Lippmann式地震计在-10 ℃、25 ℃和50 ℃的幅频响应如图 8所示,改进后的地震计在响应温度下的的幅频响应如图 9所示.改进前的地震计的带宽随着温度的升高而降低,通带灵敏度的波动范围达到4.8 dB(1.7倍),不符合地震信号后处理的要求(波动范围不大于±2.5%,即0.43 dB).改进后的地震计通带灵敏度变化范围为0.18 dB(1.02倍),满足地震观测需求.改进后的地震计的传递函数的波动相对于Lippmann式地震计降低了4.62 dB,保证地震计在较大温度范围内具有较好的一致性.
![]() | 图 6 阻尼系数随温度变化图 Fig. 6 Damping factor versus temperature |
![]() | 图 7 前置放大器增益A随温度变化图 Fig. 7 Gain of the pre-amplifier versus temperature |
![]() | 图 8 不同温度下Lippmann式地震计的幅频响应 Fig. 8 Curves of the seismograph sensitivity versus frequency in different temperature |
![]() | 图 9 不同温度下改进的基于检波器的地震计的幅频响应 Fig. 9 Curves of the seismograph sensitivity versus frequency in different temperature |
改进后的基于检波器的短周期地震计综合考虑了检波器线圈的温度补偿、系统稳定性和增益的问题:利用温度补偿电阻来平衡检波器线圈随温度的变化,提升了传感器系统的温度稳定性,使仪器的通带灵敏度的温度波动范围满足精确地震观测的需求,有效保证了地震信号后处理的精确性;重新设计了前置放大器,首先令电路系统工作在稳定的深度负反馈状态,并可通过调节增益电阻增加放大器的增益,提升了地震计的灵敏度.所以说,改进后的基于检波器的短周期地震计具有温度依赖性低,稳定性好,灵敏度高等优点.
致 谢 西北核技术研究所核查技术研究室为本文提供了研究支持.感谢西北核技术研究所郑学锋高级工程师对本文提出的改进意见.感谢审稿专家和编辑老师对本文的审阅和修改.
| [1] | Altenburg H, Mrooz O, Plewa J, et al. 2001. Semiconductor ceramics for NTC thermistors: the reliability aspects [J]. Journal of the European Ceramic Society, 21(10-11): 1787-1791. |
| [2] | Chen Y, Song J L. 2013. Review of the development history and present situation on seismographs [J]. Progress in Geophysics (in Chinese), 28(3): 1311-1319,DOI:10.6038/pg20130324. |
| [3] | Fang B. 2009. Research of the performance improvement of coil-moving geophone [Master thesis]. Jilin: Jilin University. |
| [4] | Fedorenko Y V, Husebye E S, Matveeva T. 2008. A2-D seismic signal detector for stand alone 3-component stations [A]. // Husebye E S, ed. Earthquake Monitoring and Seismic Hazard Mitigation in Balkan Countries. Berlin: Springer Publishing, 171-187. |
| [5] | Filatov P V, Fedorenko Y V, Husebye E S. 2003. Seisschool: Norway project: Equipment, network operation, data acquisition, and processing system [J]. Seismological Research Letters, 74(5): 574-479. |
| [6] | Guo J, Liu G D. 2009. Current situation and expectation of cable-less seismic acquisition system [J]. Progress in Geophysics (in Chinese), 24(5): 1540-1549,DOI:10.3969/j.issn.1004-2903.2009.05.001. |
| [7] | Havskov J, Alguacil G. 2005. Instrumentation in Earthquake Seismology [M]. Berlin: Springer. |
| [8] | Husebye E S, Beketova E B, Fedorenko Y V. 2003. School Yard Seismology [J]. Journal of Geoscience Education, 51(3): 329-355. |
| [9] | Li H L, Tuo X G, Liu M Z. 2013. Key techniques of wireless telemetry digital seismograph [J]. Chinese Journal of Geophysics (in Chinese), 56(11): 3673-3682,DOI:10.6038/cjg20131108. |
| [10] | Lippmann E. 1984. Elektrodynamisches Seismometer [P]: DE, 3307575 A1. |
| [11] | Liu D Z, Huang S Q, Qian C S. 2006. Developing military geophysics, making contribution for national safety —— review on the inaugural meeting and the first symposium of geophysical special committee for national safety and military[J]. Progress in Geophysics (in Chinese), 21(1): 248-250. |
| [12] | Liu G D, Liu D Z. 2003. On military geophysics[J]. Progress in Geophysics (in Chinese), 18(4): 576-582. |
| [13] | Liu R F, Gao J C, Chen Y T, et al. 2008. Construction and development of digital seismograph networks in China [J]. Acta Seismologica Sinica (in Chinese), 30(5): 533-539,DOI: P315.78. |
| [14] | Lu Q H, Wu T B, Lin J. 2009. A research report on development of instrument science for geophysics [J]. Progress in Geophysics (in Chinese), 24(2): 750-758,DOI:10.3969/ j.issn.1004-2903.2009.02.053. |
| [15] | Teng J W. 2009. Specific proposals with regard to set up a “Zhang Heng Project”: for research development and industrialization of Geophysical instruments of China [J]. Progress in Geophysics (in Chinese), 24(4): 1155-1166,DOI:10.3969/j.issn.1004-2903.2009.04.001. |
| [16] | Wang H T, Zhuang C T, Xue B, et al. 2009. Precisely and actively seismic monitoring [J]. Chinese Journal of Geophysics (in Chinese), 52(7): 1808-1815,DOI:10.3969/j.issn.0001-5733.2009.07.015. |
| [17] | Wang X Z, Teng Y T. 2010. New technology of seismic sensors and its development[J]. Progress in Geophysics (in Chinese), 25(2): 478-485,DOI:10.3969/j.issn.1004-2903.2010.02.014. |
| [18] | Wielandt E. 2002. Seismic sensors and their calibration [A]. // Bormanm P, ed. New manual of seismological observatory practice (NMSOP). Potsdam: GeoForschungsZentrum. |
| [19] | Zhao C L, Lu C, Hao T Y, et al. 2013. A study of the high-precision modular lightweight small vibrator [J]. Chinese Journal of Geophysics (in Chinese), 56(11): 3690-3698,DOI:10.6038/cjg20131110. |
| [20] | Zheng X F, Ouyang B, Zhang D N, et al. 2009. Technical system construction of Data Backup Centre for China Seismograph Network and the data support to researches on the Wenchuan earthquake[J]. Chinese Journal of Geophysics (in Chinese), 52(5): 1412-1417,DOI:10.3969/j.issn.0001-5733.2009.05.031. |
| [21] | 陈瑛, 宋俊磊. 2013. 地震仪的发展历史及现状综述[J]. 地球物理学进展, 28(3): 1311-1319,DOI:10.6038/pg20130324. |
| [22] | 郭建, 刘光鼎. 2009. 无缆存储式数字地震仪的现状及展望[J]. 地球物理学进展, 24(5): 1540-1549,DOI:10.3969/j.issn.1004-2903.2009.05.001. |
| [23] | 李怀良, 庹先国, 刘明哲. 2013. 无线遥测式数字地震仪关键技术[J]. 地球物理学报, 56(11): 3673-3682,DOI:10.6038/cjg20131108. |
| [24] | 刘代志, 黄世奇, 钱昌松. 2006. 发展军事地球物理, 为国家安全作贡献——国家安全与军事地球物理专业委员会成立大会暨首届学术研讨会综述[J]. 地球物理学进展, 21(1): 248-250. |
| [25] | 刘光鼎, 刘代志. 2003. 试论军事地球物理学[J]. 地球物理学进展, 18(4): 576-582. |
| [26] | 刘瑞丰, 高景春, 陈运泰,等. 2008. 中国数字地震台网的建设与发展[J].地震学报, 30(5): 533-539,DOI: P315.78 . |
| [27] | 陆其鹄, 吴天彪, 林君. 2009. 地球物理仪器学科发展研究报告[J]. 地球物理学进展, 24(2): 750-758,DOI:10.3969/ j.issn.1004-2903.2009.02.053. |
| [28] | 滕吉文. 2009. 关于设立“张衡计划”的建议——为中国地球物理仪器研发和产业化[J]. 地球物理学进展, 24(4): 1155-1166,DOI:10.3969/j.issn.1004-2903.2009.04.001. |
| [29] | 王洪体, 庄灿涛, 薛兵,等. 2009. 精密主动地震监测[J]. 地球物理学报, 52(7): 1808-1815,DOI:10.3969/j.issn.0001-5733.2009.07.015. |
| [30] | 王喜珍, 滕云田. 2010. 地震传感器的新技术与发展[J]. 地球物理学进展, 25(2): 478-485,DOI:10.3969/j.issn.1004-2903.2010.02014. |
| [31] | 赵春蕾, 卢川, 郝天珧,等. 2013. 高精度组合式轻便小型可控震源的研究[J]. 地球物理学报, 56(11): 3690-3698,DOI:10.6038/cjg20131110. |
| [32] | 郑秀芬, 欧阳飚, 张东宁,等. 2009. “国家数字测震台网数据备份中心”技术系统建设及其对汶川大地震研究的数据支撑[J]. 地球物理学报, 52(5): 1412-1417,DOI:10.3969/j.issn.0001-5733.2009.05.031. |
2014, Vol. 29










