| 氟化物熔盐共电沉积制备Gd-Zr-Mg合金的研究 |
与铝合金相比,迅猛发展的第三大结构材料镁合金的耐热、耐蚀差,抗拉强度等力学性能仍偏低[1],为此人们在合金化与加工方法方面做了大量的工作.添加锆能获得非常好的细晶强化与固溶强化效果[2-3];而稀土元素则可细化合金组织、降低合金在液态和固态下的氧化倾向,减少有害杂质元素,提升传统镁合金强度、塑性、耐磨性、耐蚀性等.
为提高合金化效果及其元素的回收率,实践中一般采用锆镁、稀土镁中间合金加入.目前制备Mg-Zr中间合金的方法主要有锆粉与镁对掺、镁还原ZrCl4和镁还原K2ZrF6等方法,其均存在偏析严重,夹渣,成本较高等不足;而通过氯化物、氟化物熔盐电解能制备Mg-Y、Mg-Nd、Mg-Ce和Mg-Ymm、Mg-Ndmm、Mg-Cemm等[4-8],本研究拟采用氟化物熔盐共电沉积稀土镁中间合金工艺,添加ZrO2到Gd2O3、MgO混合物料中,通过工艺的优化,一步法制备含Zr较高的Gd-Zr-Mg中间合金.
1 实验原料:LiF(工业纯,≥99 %),新余市赣锋锂业有限公司;BaF2(工业纯,≥99 %),河北雄威化工股份有限公司;MgO (工业纯,≥99.8 %),青岛裕祥氧化镁厂;GdF3(工业纯,≥99.5 %)和Gd2O3(工业纯,99.5 %),江西定南县南方稀土有限责任公司;ZrO2 (工业纯,≥99.5 %),天津市福晨化学试剂厂.
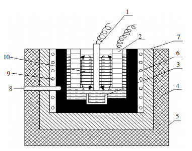
设备:电解直流电源:500 A/0-24 V可控硅整流器,额定电压24 V,额定电流600 A,赣州虔龙整流器厂;电解槽:Φ(150/130 mm)×280 mm-Φ(200/180 mm)× 280 mm的石墨坩埚(外加铁套);阴极:Φ13 mm钨棒,阳极:石墨筒,尺寸随电解槽与试验参数要求变化;电解槽体采用具有自动控温系统的电阻炉加热并控温,试验装置示意图见图 1.
![]() |
| 1.钨质阴极;2.石墨阳极;3.钼坩埚;4.保温材料;5.电解槽外壳;6.石墨坩埚;7.导电板;8.热电偶温度计;9.硅碳棒;10.熔体 图 1 试验装置示意图 |
在电解槽中,以钨作阴极,石墨作阳极,熔融的GdF3-LiF-BaF2为电解质,Gd2O3、MgO及ZrO2混合氧化物为原料,在直流电场作用下,溶解在电解质中的Gd3+、Zr4+、Mg2+在阴极附近被还原成单质金属,并立即合金化形成Gd-Zr-Mg液体沿阴极落入承接钼坩埚中;O2-在阳极表面被氧化为O2,并与石墨反应生成CO2及CO气体.实验电极反应式:
阴极:
|
阳极:
|
用打弧机起弧,加入一定比例的电解质升温至正常电解温度后,撤去打弧机,插入阴极,通直流电,连续均匀加入上述混合氧化物原料,电解50 min后出炉浇铸,待冷却后剥去熔盐,称量分析所得合金.
2 实验结果 2.1 电解温度对Gd-Mg-Zr合金中Zr含量、电流效率的影响电解过程中采用电解质成分GdF3:LiF:BaF2= 80:15:5,混合氧化物比例Gd2O3:ZrO2:MgO=65:20:15(重量比),阴极电流密度12 A/cm2,通过改变电阻炉加热功率调节电解温度,考察电解温度对电解电流效率及所得产物中间合金中Zr含量的影响,见图 2.
![]() |
| 图 2 电解温度对电解电流效率及所得Gd-Mg-Zr中间合金Zr含量的影响 |
可见,随着电解温度升高,电解电流效率先增加后减小,当温度为1050 ℃时,电流效率最大为57.02 %;而所得产物Gd-Mg-Zr中间合金中Zr含量在试验温度范围内随温度升高始终增加,当温度大于1050 ℃后,产物Gd-Mg-Zr中间合金中Zr含量增幅较小.电解温度升高,增强了电解质对氧化物的溶解能力使Gd、Zr、Mg离子浓度增大,同时增强了其扩散能力,促进离子放电,使电流效率增加,同时所得合金由于有较高的合金化温度促使Zr含量增加;但当温度超过1050 ℃后,电解质熔体对金属的溶解能力增强,熔体搅动剧烈,使各种金属及其离子在电场的作用下的移动更加迅速,电解出来的金属来不及合金化,就被带到阳极附近,发生氧化,二次作用加剧,降低了电流效率;温度在1050 ℃以上时,合金中Zr含量依然增大,其原因可能是所得合金液中Mg易分层上浮(在试验中常能发现有镁的漂浮与燃烧),使含少量Gd的Mg二次作用剧烈,使合金中Mg、Gd的含量降低,而Zr的含量稍有升高.
2.2 电流密度对电解电流效率及所得Gd-Mg-Zr合金中Zr含量的影响图 3为电解质成分GdF3:LiF:BaF2= 80:15:5,混合氧化物比例Gd2O3:ZrO2:MgO=65:20:15,电解温度1050 ℃,阴极电流密度2~14 A/cm2对电解电流效率及所得Gd-Mg-Zr合金中Zr含量的影响.
![]() |
| 图 3 阴极电流密度对电解电流效率及所得Gd-MgZr合金中Zr含量的影响 |
当电流密度低于12 A/cm2,电解电流效率与所得合金中Zr含量均随阴极电流密度的增加而增加,电流密度为12 A/cm2时,电流效率最大,为57.02 %,合金中Zr含量最高10.37 %;而电流密度超过12 A/cm2后,电流效率和合金中Zr含量同时下降.较大的电流密度能有利于电解质的循环,促进熔体中各种离子的传质及各种离子的放电,使电解电流效率增加;但当电流密度过大时,电解质的循环过于剧烈及阴极区过热会使电流效率降低.所得Gd-Mg-Zr合金中Zr含量与共电沉积过程中Zr、Mg、Gd合金化速率有关[9],阴极电流密度较小(小于12 A/cm2),Zr与Mg、Gd合金化速率大于Zr的沉积速率,导致合金中Zr含量增加;电流密度较大(超过12 A/cm2),Zr与Mg、Gd合金化速率小于Zr的沉积速率,合金Zr含量则有所降低.
2.3 混合氧化物中ZrO2含量对Gd-Zr-Mg合金电解影响在电解质成分GdF3:LiF:BaF2= 80:15:5,阴极电流密度为10 A/cm2,电解温度1060 ℃的实验条件下,采用混合氧化物原料Gd2O3:ZrO2:MgO =70:10:20,65:15:20,60:20:20,55:25:20,考察原料中ZrO2含量对电流效率、电解所得Gd-Mg -Zr合金中Zr含量的影响,实验结果见图 4.
![]() |
| 图 4 混合氧化物中ZrO2含量与电流效率及所得Gd-Mg-Zr中间合金Zr含量的关系 |
混合氧化物原料中ZrO2含量对电流效率和所得Gd-Mg-Zr中间合金Zr含量影响很大,电流效率随混料中ZrO2含量的增加大幅降低,这主要是因为ZrO2在电解质中的溶解度有限,增大混料中ZrO2含量,导致大量ZrO2不能溶解,下沉在炉底,影响了熔体的循环传质使得电流效率下降;合金中Zr含量随混料中ZrO2含量的增加而增大,可能是ZrO2以颗粒形式较多地存在于熔体中有利于及时补充熔体中放电的Zr离子浓度,从而提高了电解所得合金中Zr的含量,但Zr的含量增加很小,混合原料中ZrO2含量25 %时,Gd-Zr-Mg合金中Zr含量能达到11.48 %.
3 结论采用GdF3-LiF -BaF2为电解质熔体,Gd2O3、ZrO2、MgO混合氧化物为原料,以电解电流效率及所得产物合金中Zr含量为主要考核指标,考察了电解温度、阴极电流密度及混合氧化物原料中ZrO2的影响,结论如下:
(1)电流效率随温度和电流密度增加均先增加后减小,而随混合氧化物原料ZrO2含量始终减小,最大电流效率可达57 %;
(2)电解得Gd-Zr-Mg合金中Zr含量随电解温度和混合氧化物原料ZrO2含量的增加而增加,随阴极电流密度的增加先增后减,Zr含量能达到10 %~ 11 %.
| [1] |
王渠东, 吕宜振, 曾小勒. 镁合金在电子器材壳体中的应用[J].
材料导报, 2000, 14(6): 22–25.
|
| [2] |
张静, 潘复生, 郭正晓, 等. 含锆镁合金系中的合金相[J].
兵器材料科学与工程, 2002, 25(6): 50–56.
|
| [3] |
Ma Qian, St Johna D.H., Frost M.T.. Heterogeneous Nuclei Size in Magnesium – zirconium Alloys[J].
Scripta Materialia, 2004, 50(8): 1115–1119. DOI: 10.1016/j.scriptamat.2004.01.026. |
| [4] |
杨庆山, 陈建军, 谢建秋, 等. 氟化物熔盐体系中电解制备镁-钕中间合金[J].
稀有金属, 2007, 31(专辑): 45–48.
|
| [5] |
贺圣, 李宗安, 颜世宏, 等. YF3-LiF熔盐体系中氧化物电解共沉积钇镁合金的阴极过程研究[J].
中国稀土学报, 2007, 25(1): 120–123.
|
| [6] |
邓伟平, 曾兴蒂, 池向东. 熔盐电解制取镁钇合金和金属钇[J].
稀土, 1997, 2(14): 52–55.
|
| [7] |
唐定骧.
第3届中日双边熔盐化学和技术讨论会议文案[M]. 北京大学出版社, 1990: 131-162.
|
| [8] |
赵敏寿.
中国科学院长春应用化学研究所集刊[M]. 北京: 科学出版社, 1982: 245-269.
|
| [9] |
陈增. 熔盐电解法制备镁锂和镁锆合金研究[D]. 哈尔滨: 哈尔滨工业大学, 2008.
|
2011, Vol. 2





