| 废石胶结条柱连续分条采矿法试验研究 |
金山金矿属于贫硫化物蚀变岩型和石英脉型变质——热液矿床, 包括湾家坞、大坞、水泽坞和阳山等4个矿段, C +D级矿石量895.8万t, 平均品位6.05g/t, 金属量54 224kg。
阳山矿段属缓倾斜极薄石英脉型矿体(V4、V5矿体), 赋存在韧性剪切带上的千枚岩中, 标高为+200~ +50m。矿体顺层产出, 由分布在同一层位内的多个石英透镜体构成, 透镜体长几米至几十米, 厚几厘米至几十厘米, 平均厚0.5m以内。矿体倾向NE ~ NW, 倾角5 ~ 28°, 矿石储量29.6万t, 平均品位17.95g/t, 金属量5 314kg。矿体的上下盘围岩由硅化砂质千枚岩、凝质千枚岩、含碳千枚岩、杂质矿岩、变质安山玄武岩组成。矿岩界线明显, 近矿围岩平均含金品位0.47g/t。矿岩普氏系数f =8~ 10。受成矿后多组张性剪切断裂的破坏, 矿岩稳固性较差, 局部地段层理、裂隙发育, 容易发生片帮冒顶。
2 采矿方法模糊优选 2.1 采矿方法初选根据阳山矿段矿体开采条件, 参考国内外类似矿山的采矿方法, 提出6种备选采矿方法, 其开采技术条件和主要经济指标见表 1。
| 表 1 6种备选采矿方法和金山金矿阳山矿段的开采技术条件及主要经济指标 |
![]() |
| 点击放大 |
根据表 1所列各项指标建立方案集, 采用线性函数法求其隶属度。以金山金矿阳山矿段为固定样本, 用海明距离确定各方案与固定样本的相似程度。计算海明距离用下式:
|
式中:d(Ai, B)——i方案与固定样本的海明距离;
μA(μij)——i方案j因素的隶属度;
μB(μj)——固定样本j因素的隶属度;
n——因素数量。
计算结果如表 2所示。
| 表 2 各方案与固定样本的海明距离 |
![]() |
| 点击放大 |
由表 2可见, A1、A2、A6方案与金山金矿固定样本的海明距离较小, 初选结果为A1、A2、A6方案。
2.2 多目标模糊决策终选采矿方法考虑到采矿方法选择中有许多不定量因素, 具有模糊性。因此, 运用模糊数学的多目标决策法进行综合评判[1], 结合阳山矿段的具体情况, 影响采矿方法选择的主要因素有安全状况、通风条件、采矿成本、采切比、矿石损失率和贫化率、工班效率、生产能力等。上述各因素中定量指标参考国内外类似矿山选取, 定性指标由专家按9级标准评出, 见表 3。
| 表 3 各方案主要因素指标 |
![]() |
| 点击放大 |
上述指标单位不同, 为具有可比性, 首先需无量纲化, 其中对定量指标采用线性函数法, 对定性指标采用9级赋值标准给出评定值。因此, 可得评价模糊矩阵
|
采用层次分析法确定各因素权重, 最后采用加权平均模型对各方案进行评价。计算得评价矩阵:
|
根据最大隶属度原则, A6方案即全粒级废石胶结条柱连续分条采矿法最优。
3 采矿方法工业试验 3.1 试验方案试验采场位于阳山矿段75m中段负302线附近, 矿脉走向N55°W, 倾向35°, 倾角5~ 25°, 脉厚0.1 ~ 0.55m, 平均厚0.29m。
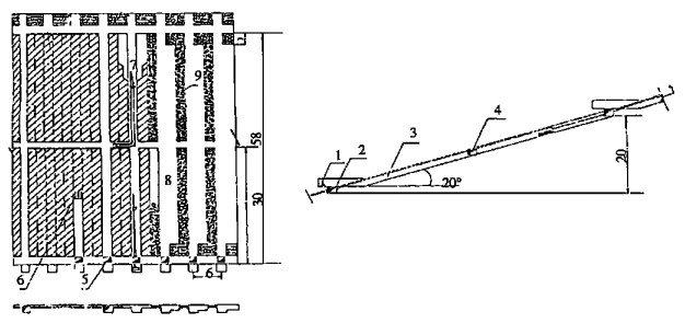
采场沿走向布置, 走向宽30m、中段高20m、倾斜长58m。阶段高度内又划分为2个分段, 分段垂高8m, 倾斜长21~ 26m;采场沿走向也划分为若干垂直走向的分条, 每个分条掘一上山联通上、下中段沿脉巷道。采矿方法标准方案见图 1所示。
![]() |
| 1.电耙硐室; 2.沿脉巷道; 3.上山; 4.分段巷道; 5.平溜口; 6.掘进炮孔; 7.回采分条; 8.充填分条; 9.胶结条柱 图 1 全粒级废石胶结条柱连续分条采矿法示意图 |
3.2 采场结构参数优化及采切工程布置
为了寻求最优的采场结构参数和回采顺序, 采用三维有限元数值模拟进行优化选择。
以分条宽度为最主要的结构参数, 分别按5m、6m、7m、8m建立4个模型。回采顺序则按各分条上山两侧矿体一次回采连续推进、两步骤回采连续推进和各分条间隔回采建立3个模型。每个模型均按8个回采步骤进行计算, 每步骤采完一个分条, 算出采区周围岩体和未采分条内的拉应力、压应力、剪应力及等效应力。比较各应力极值、拉应力和受拉破坏范围(见图 2), 并结合现场施工条件, 分条宽度以6m为优, 回采顺序推荐采用各分条上山两侧矿体一次回采连续推进。采准、切割工程布置如图 3所示。
![]() |
| 图 2 采空区顶板拉应力和受拉破坏区 |
![]() |
| 1.75m中段平巷; 2.集矿漏斗; 3.探矿上山; 4.块石砂浆柱; 5.沿脉分段平巷; 6.分条采准上山; 7.90m水平沿脉; 8.全粒级废石胶结充填条柱; 9.回风联络道; 10.崩矿炮眼 图 3 试验采场采切工程布置 |
3.3 回采工艺
分条回采以采准上山为自由面, 自上而下扩帮回采, 浅眼崩矿。上山两侧各扩2m, 分两次扩帮, 每次扩1m。由于扩帮时只采矿石, 采幅严格控制在0.8m以内, 形成“T”字形采空区, 同时要求崩落的矿石有一定块度, 以减少粉矿量。为此, 对影响爆破效果的3个主要参数(最小抵抗线、孔间距、装药系数)通过正交试验进行优化选择[2]。
正交试验按三因素三水平L9(33)共进行9次试验。试验中以炮孔利用率、超挖系数、块矿产出率为爆破效果评价指标。根据试验结果, 采用极差分析方法对试验数据进行分析, 得出最优的凿岩爆破参数为:孔间距0.86m、最小抵抗线0.7m、装药系数0.44。在此条件下, 炮孔利用率达92%, 采幅超挖系数控制在0.25以内, 块矿产出率平均85 %。
3.4 采场顶板管理为了维护顶板稳定, 保证生产安全, 采取了严格控制分条宽度、各分条连续顺序回采、全粒级废石胶结条柱支撑、局部锚杆护顶及木立柱临时支护等综合顶板管理措施。
选用楔管式锚杆, 长度1.8m, 网度(0.9~ 1)m × (0.9~ 1)m, 主要用在采切工程交叉处及矿岩层理裂隙发育地段。试验证明, 这一综合顶板管理措施是行之有效的。
3.5 充填工艺由于金山金矿目前没有建立充填系统(阳山矿段储量仅占矿区的3.3%, 且矿体分布较广), Ø故采用人工搅拌全粒级废石胶结充填。充填骨料采用采场内掘进和削底的全粒级废石, 胶结剂为425#普通硅酸盐水泥。充填料配比为:水泥:废石:水=1 : 16 :1, 水泥用量为125kg/m3。
充填前, 先将分条内矿碴清理干净, 以免损失高品位粉矿和影响充填质量; 再沿上山充填侧自下而上分段架设木立柱和木模板(立柱直径Ø12 ~ 14cm, 间距1.5~ 2m, 木板厚3cm), 并要求模板之间及其两端接头处无缝隙, 以免漏浆。
充填时, 将拌合均匀的混凝土用人工自下而上分段注入采空区, 同时, 分散抛入适量的大块废石, 并边浇注边捣实。在浇注到离顶板0.3 ~ 0.4m时, 用铁锹由里而外浇注并捣实接顶。
3.6 主要技术经济指标试验共完成了5个分条的回采和充填工作, 采出矿石760t, 胶结充填246m3。主要技术经济指标见表 4。
| 表 4 主要技术经济指标 |
![]() |
| 点击放大 |
4 结语
(1) 全粒级废石胶结条柱连续分条采矿法工艺简单、设计新颖, 成功地解决了赋存条件复杂的缓倾斜极薄矿脉的回采问题, 实现了无矿石矿柱连续回采, 取得了显著的经济效益和社会效益。
(2) 单采矿石形成“T”字形采空区, 就地削取全粒级废石胶结充填, 形成低矮胶结条柱支撑顶板的回采工艺, 具有独创性, 较大地降低了贫化率, 减少了充填量。
(3) 采用模糊数学优选采矿方法, 三维有限元数值模拟优化采场结构参数和回采顺序, 为试验研究的成功奠定了科学理论的基础。
(4) 用正交试验优化凿岩爆破参数, 取得了较好的爆破效果。
(5) 顶板综合管理措施技术可靠, 低矮的全粒级废石胶结条柱稳定性好, 充填量小, 能够满足回采作业的安全需要, 起到支撑顶板、控制采空区顶板下沉的作用。
| [1] |
刘华生. 层次分析在采矿方法选择中的应用[J].
有色金属, 1991(8): 17–21.
|
| [2] |
吴翊.
应用数理统计[M]. 长沙: 国防科技大学出版社, 1995.
|
2000, Vol. 14



