| GLJ型流量控制仪 |
在稀土、化工、冶金、矿山、制药等工业中, 需要使用控制酸碱等腐蚀性液体的流量控制仪, 以便定量的给出液体。如稀土萃取分离工艺需要准确控制料液的流量, 用于控制液体流量的设备俗称为给料装置, 给料装置是稀土萃取分离生产中的关键设备之一。给料的准确与否直接影响到稀土产品的质量和生产工艺的稳定。我国稀土萃取生产厂家控制料液流量采用多种形式, 有圆盘式给料机、电磁阀、滋流控制液面给料机、转子流量计以及特种流量控制仪等, 但其中用的较多的是圆盘式给料机[1]。
圆盘式给料机由交流电机变速驱动, 其构成主要有液位控制机构和液体定量机构。在液位控制机构中采用杠杆式结构, 一端为随液位上下起伏的浮体, 另一端为进液口的堵塞; 在液体定量机构中由电机带动的圆盘上装有若干个固定的料液斗。工作时, 液位控制机构中的浮体随着液位变化而上下起伏, 此动作由杠杆传递到另一端的堵塞以控制进液口的大小或关闭, 实现液位的控制; 液体定量机构中圆盘上的若干个固定的料液斗随着圆盘的转动逐个从槽体低处装入液体, 同时逐个旋转到高处将液体倒入接料盘, 然后通过出液口流出, 实现定量供液。圆盘式给料机虽然能控制液体的流量, 也存在一些问题, 主要是液位控制机构因其结构关系不能保证进液口可靠堵死, 常出现“溢槽”现象; 液体定量机构受液位高低的影响甚大, 造成流量不准; 因电机转速不能改变, 液体的流最不易调节, 当需改变流量时, 只能靠调节圆盘上固定料液斗的角度来实现, 故难于达到准确的所需流量。
CLJ型流量控制仪采用独特的液面控制机构和定量轴流传递机构, 液面恒定、给料准确, 可克服“溢槽”现象, 是一种新型液体流量精密控制仪。下面介绍该流量控制仪的液位控制机构和流量控制机构, 以及现场应用的测试数据。
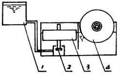
1 液位控制机构高位储液桶通过管道连接给料机(如图 1所示)。在计算作用在堵塞上的压力时, 因管道压力损失甚小, 故忽略不计[2]。
![]() |
| 1.高位储液桶;2.堵塞;3.浮体;4.转轮。 图 1 给料机安装示意图 |
当堵塞关闭液体出口时, 液体作用在堵塞上的压力F 1为:
F1= ρhs
式中:ρ-液体密度;
h-高位储液桶液面距堵塞的高度;
s-堵塞面面积。
F1的大小取决于h的变化, h一般为0.5~3m, 不超过5m。
浮体作用在堵塞上的力F2为:
F2=ρv
式中:v-堵塞关闭出液体口体时浮体排开液的体积。
因而, 堵塞关闭出液口时的压力F为:
F=F1+F2
为保证液位控制机构的正常工作, 浮体的重量W必须满足下列关系:
F1max<W<F2max
式中:
F1max-F1在h为最大时的压力;
F2max-F2在整个浮体浸在液体中的浮力。
以上关系式为设计液位控制机构提供了依据。
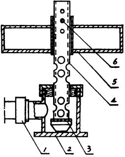
1.1 机械结构图 2为给料机的液位控制机构示意图。液位控制机构中的浮体中心有一通孔,液拉控制杆由空心管和堵塞焊接而成,在空心管下部靠近堵塞处有进液孔,中部有出液孔,上部有液位调节孔,空心管管径略小于浮体中通孔直径。
![]() |
| 1.活接头;2.液位控制器;3.密封垫;4.液位控制杆;5.浮体;6.液位调节螺栓。 图 2 液位控制机构示意图 |
因浮体和液位控制杆由调位螺栓联成一体,而浮体随着箱体内液体量的增减发生变化,故液位控制杆与浮体一起上下运动。当液体减少液位下降时,浮体带着液位控制杆朝下运动,控制杆上的进液孔开启,加大进液孔即增加进液量; 反之,当液体增多液位上升时,浮体带着液位控制杆朝上运动,上升到一定高度堵塞和控制环将密封垫压紧,关闭进液孔。
2 轴流式流量控制机构给料机的流量稳定, 必须使每转的流量值稳定, 以便控制流量。为此设计了一种轴流式流量控制机构:给料斗每次盛装一定液体, 能全部排出; 给料斗垂直装液体不受液面变化的影响可每次装满, 倒出液体时能缓慢倾斜且全部倒在一个接料容器里[3]。
2.1 机械结构图 3为给料机的轴流式流量控制机构示意图。
![]() |
| 1.给料斗;2.斗轴;3.定位杆;4.转轴;5.转轮。 图 3 轴流式流最控制机构示意图 |
在流量控制机构中, 转轮由空心轴、锥体以及隔板将两个大小一致的圆盘焊为一体, 这些隔板把两圆盘间分成若干等积的似扇形体的空间, 在锥体尖部那边的圆盘中心处开有大于空心轴径的圆孔, 开口处的外面焊接一嗽叭口, 转轮内部的锥体和外部的嗽叭口都是为了便于扇形腔内的液体从中心排出。在转轮中, 圆盘上被隔板分成的每个扇形区均开有安装斗轴的圆孔和定位杆的槽孔, 定位杆的安装位置可根据给料斗的大小来调节, 在转轮中每个扇形腔中装有定位杆、斗轴以及能绕着斗轴转动的给料斗。
2.2 流量控制过程给料斗在转动过程中, 因给料斗是自由转动的, 当未被定位时, 受其本身重力作用垂直悬挂, 转到低处时可垂直装满液体; 当转到一定高度时, 被定位杆挡住并随转轮转动倾斜而不断连续倒出液体, 并从转轮扇形叶片和锥体面流向轴心开口处到嗽叭口排出。
3 流量控制仪工作原理如图 1所示, 给料机工作时, 给料机箱体的液体通过进液管和出液管进出。浮体随着液位高低变化而上下动作, 并带着液位控制杆上下运动。当给料机箱体内液体减少液位下降时, 进液量增加; 当液体增多液位上升时则反之。整个液位控制机构能保持进出液体的平衡,一旦液面上升到最高液面时,关闭进液孔。平衡液位和最高限制液位可根据需要调节。转轮在电机的驱动下, 给料斗绕着斗轴转动。当给料斗旋转到转轴水平以下时,在重力作用下保持垂直状态, 每个给料斗在液面之下均可装满液体; 转轮继续运转使其逐步倾斜把液体倒在转轮的角形体腔内, 从转轮轴心排出。使用这种液体流量控制方式,液体可在较大的角度范围内缓慢地从给料斗中倒出, 而且随时有多个给料斗在倾倒液体, 从而保证了流出的流量均匀、连续。
4 测试数据和数据分析该控制仪分别在江西信丰稀土冶炼厂、广东阳江稀土冶炼厂、江西地矿局等生产现场应用, 均取得了较好的效果。表 1为在江西信丰稀土冶炼厂应用时测试的数据。
| 表 1 测试流量数据 mL/min |
![]() |
| 点击放大 |
由表 1数据可计算得到:每一种转速的相对误差分别为0.3%、0.3%、0.5%、0.5%、0.4%、0.3%、0.3%、0.2%、0.2%、0.2%、0.2%, 在所需控制的转速范围, 最大相对误差为0.5%, 同时可计算出线性误差为1.2%
5 结语CLJ型流量控制仪具有以下几个特点。
(1) 液面最高位可设定和调节。
(2) 进液孔关闭时液体不泄漏, 克服了一般给料机经常发生的“溢槽”现象。
(3) 给料机给料时,液位变化影响较小。
现场应用表明, 该控制仪适用于各种液体的流量控制和计量,尤其适用于各种酸碱等腐蚀性液体流量的控制和计量, 可广泛应用于稀土、化工、冶金、矿山、制药等领域。
| [1] |
禾辑.
机械工程师进修大学刊授教材(7)[M]. 北京: 机床杂志出版社, 1985: 243.
|
| [2] |
李富成.
流体力学及流体机械[M]. 北京: 冶金工业出版社, 1998: 10-283.
|
| [3] |
周亨达.
工程流体力学[M]. 北京: 北京钢铁学院出版社, 1981: 253-254.
|
1998, Vol. 12



