文章信息
- 杜新喜, 杨浩, 袁焕鑫, 闫琰, 胡文进, 王新
- DU Xinxi, YANG Hao, YUAN Huanxin, YAN Yan, HU Wenjin, WANG Xin
- 新疆国际会展中心屋面张弦桁架铸钢节点承载性能试验
- Experimental study of cast steel joint in truss string structure of Xinjiang International Convention and Exhibition Center
- 武汉大学学报(工学版), 2017, 50(6): 801-806
- Engineering Journal of Wuhan University, 2017, 50(6): 801-806
- http://dx.doi.org/10.14188/j.1671-8844.2017-06-001
-
文章历史
- 收稿日期: 2017-06-13
2. 中信建筑设计研究总院有限公司, 湖北 武汉 430014
2. CITIC General Institute of Architectural Design and Research Co., Ltd., Wuhan 430014, China
新疆国际会展中心屋面总建筑面积约为20万m2,由抗震缝划分为5个分区.会展中心屋盖所有张弦桁架均采用铸钢节点作为支座节点.本文试验主要针对左、右展厅屋盖滑动支座处节点.左、右展厅屋盖采用张弦桁架结构体系,由11榀张弦桁架(主桁架)、4榀纵向垂直支撑桁架和上弦面水平支撑组成.张弦桁架榀距为18 m,单榀桁架跨度121.55 m,跨中最大截面高度为13 m(高跨比约为1/9),一端为固定铰支座,另一端为单向滑动支座,单榀桁架布置如图 1所示.
|
| 图 1 张弦桁架标准榀布置图(单位:mm) Figure 1 Layout drawing of one standard roof in truss string structure (unit:mm) |
铸钢节点在大跨空间钢结构中的应用逐渐广泛[1, 2],相对于其他形式的节点而言,主要优点有:1)铸钢节点在工厂内整体浇筑,相对于焊接球节点与焊接钢管相贯节点,可免去相贯线切割及重叠焊缝引起的应力集中.2)铸钢节点具有良好的适应性,节点设计的自由度大.3)在局部高应力区形成圆角和圆滑过渡的截面,既避免了应力集中,又具有美观的流线外形.然而由于浇筑工艺对铸钢节点的性能影响较大,且目前多用于大型工程的复杂节点部位,工程应用尚不多,统计性不足,且在某些情况下有限元分析不足以完全说明问题.国内外的学者对不同形式铸钢节点的受力特点、承载性能进行了研究[3-6],对大型工程的铸钢节点进行了相关的节点试验[7-10].
《铸钢节点应用技术规程》(CECS 235:2008)[11]规定,铸钢节点属于下列情况之一时,宜进行节点试验:1)设计或建设方认为对结构安全至关重要的节点;2)8度、9度抗震设防时,对结构安全有重要影响的节点;3)在使用过程中将发展较大程度塑性的节点;4)铸钢节点与其他构件采用复杂连接方式的节点.为检验新疆国际会展中心铸钢节点在最不利设计荷载工况组合下的承载性能,本文对铸钢节点的1/2缩尺试件进行了加载试验和有限元分析.
1 铸钢节点 1.1 试件 1.1.1 铸钢节点尺寸新疆国际会展中心2期工程左、右展厅滑动下弦支座处铸钢节点为拉索锚固节点,该铸钢节点包含1个内径为630 mm、外径750 mm的空心球和连接在该球节点上的7根圆截面杆件.最大杆件外径为650 mm,最小外径为300 mm,下弦杆厚度在100~120 mm之间渐变.
根据所取试件尺寸,足尺试件的试验规模大,对试验设备和试验经费要求较高.规程CECS 235:2008[11]第4.4.3~4.4.4条文规定:用作试件的铸钢节点应采用与实际铸钢节点相同的加工制作参数,并在试验前按实际铸钢节点的检验要求进行检验;铸钢节点试验应采用足尺试件,当试验设备无法满足时,可采用缩尺试件,缩尺比例不宜小于1/2.由于试验室试验设备场地及经费等条件的限制,拟采用原型节点的1/2缩尺试件开展加载试验.节点缩尺试件剖面图如图 2所示.
|
| 图 2 节点缩尺试件剖面图(单位:mm) Figure 2 Sectional drawing of cast steel joint with 1/2 scale (unit:mm) |
实际工程中,与足尺铸钢件相连的杆件中,受力最大的是张弦桁架下弦杆,因此选取下弦杆压力最大的荷载作用组合(1.2倍重力荷载代表值+1.3倍水平地震+0.5倍竖向地震),作为铸钢件设计和试验的控制组合,荷载作用组合见表 1.忽略构件较小次应力(弯矩)效应,只列出构件轴力(拉为正)和下弦杆弯矩.
| 支座反 力/kN |
拉索轴 力/kN |
下弦杆 轴力/kN |
下弦杆 弯矩 /(kN·m) |
撑杆1、2 轴力/kN |
撑杆3、4 轴力/kN |
| -7 079 | 14 138 | -12 435 | -182 | -1 822 | -227 |
缩尺试件与足尺试件需满足几何相似、质量相似、荷载相似、应力应变相似、边界条件相似、初始条件相似等条件,由此确定一系列相似常数.
荷载相似要求缩尺试件和足尺试件在各对应点所受荷载方向一致,荷载大小成比例,集中荷载相似常数Sp:
(1)
式中:Pm/Pp为模型与原型荷载相似常数;Am/Ap为模型与原型面积相似常数;Sl为几何长度相似系数;Sσ为应力相似常数.
若缩尺试件的应力分布与足尺节点相同,则Sσ=1,本试验缩尺比例取1/2,则荷载相似常数为Sp=Sl2=0.25.规程CECS 235:2008[11]第4.2.5条文规定:对于非足尺铸钢节点试件,考虑到尺寸效应,将破坏承载力提高15%,即应不小于设计荷载值的2.3倍.铸钢节点1/2缩尺试件试验荷载取值如表 2所示.
| 设计荷载 倍数/倍 |
下弦杆轴 力/kN |
下弦杆弯矩 /(kN·m) |
撑杆1、2 轴力/kN |
撑杆3、4 轴力/kN |
| 1 | -3 109 | -22.75 | -456 | -57 |
| 2.3 | -7 150 | 52.33 | -1 048 | -130 |
在浇注铸钢节点过程中预留同批次的铸钢试块,机械加工成4组标准圆棒材性试样.根据GB/T 228.1-2010[12]对铸钢节点材性试样进行单轴拉伸试验,由应力-应变关系整理得到每根材性试样的试验结果,取数字平均值列于表 3中.其中E0为弹性模量,σy为屈服强度,σu为抗拉强度,A为试样断后伸长率.
| E0/MPa | σy/MPa | σu/MPa | A/% |
| 197 100 | 335.8 | 518.4 | 24 |
考虑到铸钢节点试件轴力较大,剪力和弯矩相对较小,轴力起控制作用,除了下弦杆端施加偏心轴力之外,其余杆件所受弯矩忽略不计.
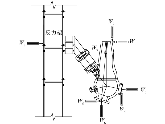
在尽可能模拟节点处于实际受力状态的前提下,结合现有的试验条件,分别对支撑1~4施加轴向压力;根据下弦杆所受弯矩和轴力,对下弦杆施加偏心距为7.3 mm的偏心轴向压力;支座端采用滑动铰支,拉索锚固端放置于球铰支座上,图 3为试验加载边界条件示意图.
|
| 图 3 加载系统及加载边界条件示意图 Figure 3 Schematic diagram of test setup and test boundary condition |
节点试件下弦杆采用10 000 kN液压千斤顶施加轴向压力;支撑1、2采用2 000 kN液压千斤顶施加压力;支撑3、4采用600 kN拉压千斤顶施加压力;支座处采用万向铰支座固定,固定时保证拉索平面与螺栓连接反力架的斜面贴紧;拉索锚固端直接固定在反力架上.节点加载装置示意图如图 3所示.
节点加载试验在武汉大学土木建筑工程结构试验大厅进行.试验用5个千斤顶施加荷载,通过加载系统协同控制实现等比例同步加、卸载,加载过程按荷载分级加载,分33级加载到3.3倍的设计荷载,卸载过程分为5级卸载到0.图 4为试验加载系统的现场照片.
|
| 图 4 试验加载系统 Figure 4 Test setup |
铸钢节点试件上共布置29个应变花,分别布置在4个支撑、拉索锚固端、支座倒角处、下弦杆与球面相贯处、拉索孔附近、球内部.此外,在下弦杆上部和两侧布置了12个单向应变片,量测下弦杆弯矩值.应变测点布置如图 5所示.
|
| 图 5 应变测点布置 Figure 5 Arrangement of strain gages |
共布置8个数字位移计量测节点加载时可能发生的偏心、滑移、扭转等变形.在下弦杆端、支座、拉索端分别布置水平和竖向的位移计,测量加载中节点各部位的绝对位移;在节点一侧布置位移计,测量下弦杆端与拉索端的相对位移;在反力架柱连接辅助件处布置水平位移计,监测反力架的变形程度.位移测点布置示意图如图 6所示.
|
| 图 6 位移测点布置 Figure 6 Arrangement of displacement gages |
铸钢节点试件在整个加、卸载过程中未发现任何明显破坏形态,卸载后没有明显的残余变形.位移测点数据均较小,故不列出.
每个应变花测点获得3个方向线应变值,计算得到最大、最小主应变,取主应变中绝对最大值为横轴,以设计荷载工况的倍数为纵轴,绘制如图 7所示的设计荷载倍数-应变曲线.
|
| 图 7 部分测点处的设计荷载倍数-应变曲线 Figure 7 Design load multiple versus strain curves |
图 7(a)给出了位于下弦杆中部拉索孔处的设计荷载倍数-应变曲线,其中应变与设计荷载倍数均成线性关系.加载过程中,测点应力始终处于弹性阶段内.下弦杆腹部开有拉索孔,局部截面削弱,在下弦杆拉索孔侧应力较大处另取6个测点,设计荷载倍数-应变曲线如图 7(b)所示,表明在加载过程中均处于弹性阶段.
为观察中心球在加载过程的应变变化,在中心球上布置了3个应变花,测得设计荷载倍数-应变关系如图 7(c)所示,表明该区域在加载过程中未进入塑性.
下弦杆与中心球连接处倒角布置4个应变花,设计荷载倍数-应变曲线如图 7(d)所示.由设计荷载倍数-应变关系可知,4个测点处的荷载-应变关系接近于直线,显示良好的弹性特征.
根据以上数据分析结果,在试验加载过程中达到3.3倍设计荷载时,节点测点仍处于弹性阶段,因此,节点试件满足设计承载力要求.
2 有限元分析根据铸钢节点缩尺试件的实测几何尺寸,在CATIA软件中建立精细化的三维实体模型,导入ABAQUS通用有限元分析软件,建立数值分析模型,如图 8所示.
|
| 图 8 节点试件有限元模型 Figure 8 Finite element method model of joint |
试验测得各应变花测点应变值,根据变形条件和广义胡克定律计算得出Von Mises应力.以试验荷载作为荷载取值进行有限元分析,提取结果中测点位置的Von Mises应力值与试验结果进行对比. 典型测点设计荷载倍数-应力曲线对比如图 9所示.
|
| 图 9 部分测点Von Mises应力的试验值与计算值的对比 Figure 9 Comparison of Von Mises stress between the numerical experimental results |
设计荷载倍数-应力曲线对比表明,有限元计算结果与试验结果吻合良好,有限元计算结果是可靠的.根据有限元计算分析,得出节点试件设计荷载倍数-位移曲线如图 10所示,可知节点的极限承载力为设计荷载工况的4.7倍.在极限承载力作用下节点有限元计算云图如图 11所示,此时节点大部分区域已进入屈服,支座处出现全截面屈服,完全丧失承载能力.
|
| 图 10 节点试件有限元计算设计荷载倍数-位移曲线 Figure 10 Design load multiple versus displacement curves from finite element analysis |
|
| 图 11 在4.7倍设计荷载工况下节点应力分布云图 Figure 11 Nephogram of stress distribution of joint under 4.7 times design load |
1) 对新疆国际会展中心屋面张弦桁架支座铸钢节点的1/2缩尺试件进行了加载试验.结果表明,在3.3倍设计荷载下,测点Von Mises应力均未达到材料的屈服强度.加载全过程中,荷载与应力成线性关系,表明节点试件仍处于弹性阶段,满足规程规定的破坏承载力不小于荷载设计值的2.3倍的要求.试件加载过程中,节点试件的绝对变形和中心球与相连杆件之间的相对变形都极其微小,可忽略不计.
2) 根据实测尺寸,建立精细化的铸钢节点缩尺试件有限元模型.有限元计算结果与试验结果吻合良好,表明有限元计算模型的可靠性.
3) 有限元计算分析可对铸钢节点的极限承载能力作进一步评估.根据材性试验得到的材料力学性能指标,弹塑性有限元分析得到缩尺节点极限承载力为设计荷载工况的4.7倍,表明铸钢节点试件具有足够的安全储备,可以满足规范设计和工程应用的要求.
| [1] |
刘锡良, 林彦. 铸钢节点的工程应用与研究[J].
建筑钢结构进展, 2004, 6(1): 12–19.
Liu Xiliang, Lin Yan. The engineering application and research of cast steel joints[J]. Progress in Steel Building Structures, 2004, 6(1): 12–19. |
| [2] |
施刚, 罗翠, 王元清, 等. 网壳结构十字形铸钢节点承载性能试验[J].
建筑结构, 2010, 40(11): 5–9.
Shi Gang, Luo Cui, Wang Yuanqing, et al. Experiments on the behavior of cross-shaped cast steel joints in reticulated shell structures[J]. Building Structure, 2010, 40(11): 5–9. |
| [3] |
戴国欣, 李万伟, 邢世建, 等. 重庆江北国际机场新航站楼大跨钢桁架铸钢节点性能研究[J].
建筑结构学报, 2005, 26(4): 70–75.
Dai Guoxin, Li Wangwei, Xing Shijian, et al. Experimental study on cast steel joint of large span steel truss of Jiangbei International Airport in Chongqing[J]. Journal of Building Structures, 2005, 26(4): 70–75. |
| [4] | Tong L W, Zheng H Z, Chen Y Y. Comparison between a cast steel joint and a welded circular hollow section joint[J]. Materials Science and Technology, 2007, 23(4): 460–465. DOI:10.1179/174328407X176938 |
| [5] | Nussbaumer A, Haldimann-sturm S C, Schumacher A. Fatigue of bridge joints using welded tubes or cast steel node solutions[J]. Welding in the World, 2006, 50: 56–63. |
| [6] | Wu L J, Zhou W G, Su Y L, et al. Experimental and operational thermal studies on blast furnace cast steel staves[J]. Ironmaking and Steelmaking, 2008, 35(3): 179–182. DOI:10.1179/174328108X284570 |
| [7] |
陈海洲, 王洪军, 张其林. 杭州湾观光塔铸钢节点试验研究[J].
建筑结构, 2009, 39(8): 88–90.
Chen Haizhou, Wang Hongjun, Zhang Qilin. Experimental study on cast-steel joints of Hangzhou Bay Tower[J]. Building Structure, 2009, 39(8): 88–90. |
| [8] |
郑鸿志, 童乐为, 陈以一, 等. 哈尔滨会展体育中心屋架铸钢节点性能研究[J].
工业建筑, 2005, 35(11): 35–38.
Zheng Hongzhi, Tong Lewei, Chen Yiyi, et al. Behavior of cast steel joints in roof trusses for Exhibitions and Sports Center of Harbin[J]. Industrial Construction, 2005, 35(11): 35–38. |
| [9] |
王永泉, 郭正兴, 罗斌, 等. 复杂铸钢节点受力性能试验研究[J].
东南大学学报(自然科学版), 2009, 39(1): 47–52.
Wang Yongquan, Guo Zhengxing, Luo Bin, et al. Experimental study on mechanical performance of complex cast steel joint[J]. Journal of Southeast University (Natural Science Edition), 2009, 39(1): 47–52. |
| [10] |
赵宪忠, 王冠男, 陈以一, 等. 北京奥运会老山自行车馆柱脚铸钢节点试验研究[J].
建筑结构学报, 2008, 29(1): 10–15.
Zhao Xianzhong, Wang Guannan, Chen Yiyi, et al. Experimental study on the structural behavior of cast steel joint of the Laoshan Velodrome for Beijing Olympics[J]. Journal of Building Structures, 2008, 29(1): 10–15. |
| [11] |
中国工程建设标准化协会. CECS 235: 2008铸钢节点应用技术规程[S]. 北京: 中国计划出版社, 2008: 53-56.
China Association for Engineering Construction Standardization. CECS 235: 2008 Technical Specification for Application of Connections of Structural Steel Casting[S]. Beijing: China Planning Press, 2008: 53-56. |
| [12] |
中华人民共和国国家质量监督检验检疫总局, 中国国家标准化管理委员会. GB/T 228. 1-2010金属材料拉伸试验第1部分: 室温试验方法[S]. 北京: 中国标准出版社, 2011: 6-36.
General Administration of Quality Supervision, Inspection and Quarantine of the People's Republic of China, Standardization Administration of the People's Republic of China. GB/T 228. 1-2010 Metallic Materials-Tensile Testing-Part 1: Method of Test at Room Temperature[S]. Beijing: Standards Press of China, 2011: 6-36. |
2017, Vol. 50



