绿原酸是植物体在有氧呼吸过程中经莽草酸途径产生的一种苯丙素类化合物,广泛存在于杜仲、金银花等植物中[1],具有抗菌抗病毒、抑制肿瘤、保肝利胆等生物活性[2],在医药保健、日用化工和食品行业均有重要用途[3]。有机溶剂提取法是绿原酸提取和纯化最常用的方法之一[4],乙醇为最常用的溶剂[5]。为了控制工业生产中晶体产品的质量,掌握结晶介稳区的基础数据非常关键,目前尚未见绿原酸结晶介稳区研究的报道,故本文采用激光装置测定绿原酸分别在乙醇和水中的溶解度曲线以及不同温度、降温速率和搅拌速率下的超溶解度曲线[6~8],根据绿原酸的结晶介稳区特性优化介稳区宽度最大化的结晶条件,为产品的洗涤、纯化等过程提供基础数据。
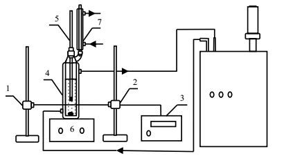
2 实验材料和方法 2.1 试剂与装置试剂:绿原酸 (长沙一科生物科技有限公司,纯度98.8%),乙醇 (天津市风船化学试剂科技有限公司,纯度99.7%),实验用水为实验室自制去离子二次蒸馏水;装置:由溶解釜 (郑州中原玻璃仪器制造有限公司,50mL)、冷凝管、CH1015型超级恒温槽 (上海衡平仪器仪表厂)、CLJ2000型磁力搅拌器 (天津市兰力科化学电子高技术有限公司) 和精密温度计 (0~50.0℃和50.0~100.0℃) 五部分组成如图 1所示,称量采用BS124S型电子天平 (北京赛多利斯仪器系统有限公司)。
|
图 1 溶解-结晶测定装置 Fig.1 Schematic diagram of the experimental setup for solubility and crystallization studies 1. laser generator 2. photoelectric transformer 3. recorder 4. dissolver 5. thermometer 6. magnetic stirrer 7. crystallizer 8. super-thermostatic bath |
采用连续动态法测定溶解度曲线和超溶解度曲线。准确称取定量绿原酸和溶剂加入溶解釜中,启动磁力搅拌器使固液两相混合,激光发射器的激光束从溶解釜的一侧透射到另一侧被光电转化器接收,转换成电信号显示在记录仪上,恒温系统和冷却装置使体系温度以2℃⋅h-1的速率缓慢上升,透射光强随着固体的溶解逐渐增加至最大值,此时记录仪指示的温度即为体系平衡温度,其测量误差为±0.05 K;将体系温度升高5℃并恒速搅拌30 min以确保固体完全溶解,然后以一定速率降温至激光强度突然下降且溶解釜中出现大量晶核,此时温度与平衡温度之差即为介稳区宽度。进行三次以上平行实验以确保数据的准确性,最终得到绿原酸在不同溶剂,一定降温速率和搅拌速率条件下的介稳区宽度数据。
3 结果与讨论一个特定物系的溶解度曲线只有一条,而超溶解度却会受降温速率,搅拌速率,有无晶种,晶种大小及量的多少等因素影响,本实验选取温度,降温速率和搅拌速率三个因素分别研究其对介稳区宽度的影响规律。实验测定了降温速率12℃⋅h-1,搅拌速率300 r⋅min-1;降温速率12℃⋅h-1,搅拌速率500 r⋅min-1;降温速率6℃⋅h-1,搅拌速率300 r⋅min-1三种条件下绿原酸分别在乙醇和水中的超溶解度数据。溶质的质量分数实验值在溶解和结晶过程分别用xsoluexp和xsuperexp表示,使用简化的Apelblat方程
| 表 1 Apelblat方程拟合数据 Table 1 Fitting results obtained with Apelblat equation |
| 表 2 绿原酸在不同条件下的介稳区宽度 Table 2 Metastable zone width of chlorogenic acid under different conditions |
绿原酸分别在乙醇和水中的溶解度曲线和超溶解度曲线如图 2和3所示,此时固定条件为降温速率12℃⋅h-1和搅拌速率300 r⋅min-1,显然溶解度和超溶解度曲线大致平行,绿原酸在乙醇中介稳区宽度为3.7~6.3℃,较水中3.7~8.0℃稍窄,其溶解和结晶规律为绿原酸分别在乙醇和水中的溶解度和超溶解度均随温度的升高而增大,但同一物系在高温区介稳区变窄,这主要由温度升高后绿原酸分子热运动加剧使其碰撞成核几率增大所致。
|
图 2 乙醇中绿原酸的溶解度与超溶解度曲线 Fig.2 Solubility and super-solubility profiles of chlorogenic acid in ethanol ▽▲ experimental points — correlated results by using the modified Apelblat equation |
|
图 3 水中绿原酸的溶解度与超溶解度曲线 Fig.3 Solubility and super-solubility profiles of chlorogenic acid in water |
实验设定搅拌速率300 r⋅min-1测定了降温速率分别为6和12℃⋅h-1条件下的超溶解度数据见表 2,两条件下介稳区宽度差在乙醇中约为1.3℃,水中约为0.1℃,由图 4和图 5可知绿原酸分别在乙醇和水中的超溶解度随降温速率不同而变化的规律一致,即介稳区宽度随体系降温速率的增大而变宽,这是由于降温速率增大时过饱和度较大,不利于结晶成核而致使介稳区变宽[10]。总体来说,乙醇中绿原酸介稳区受降温速率影响较水体系稍大。
|
图 4 乙醇中绿原酸介稳区与降温速率的关系 Fig.4 Metastable zone width of chlorogenic acid in ethanol as a function of cooling rate ▽◆△ experimental points — correlated results by using the modified Apelblat equation |
|
图 5 水中绿原酸介稳区与降温速率的关系 Fig.5 Metastable zone width of chlorogenic acid in water as a function of cooling rate |
根据图 3和4对比设定降温速率为12℃⋅h-1,分别测定了搅拌速率300和500 r⋅min-1时的超溶解度数据见表 2,两条件下介稳区宽度差在乙醇中约为2.7℃,水中约为2.0℃,由图 6和7可见绿原酸在乙醇和水中的介稳区宽度随搅拌速度的增加逐渐变窄。经典成核理论认为,高速搅拌碰撞成核概率变大,同时传热速率增大有利于结晶过程中热量的扩散,因此使得过饱和度减小,有利于结晶成核致使介稳区宽度变窄[11]。乙醇中绿原酸介稳区受搅拌速度的影响较水体系稍大。
|
图 6 乙醇中绿原酸介稳区与搅拌速率的关系 Fig.6 Metastable zone width of chlorogenic acid in ethanol as a function of stirring rate ▽◆△ experimental data — fitting results with modified Apelblat equation |
|
图 7 水中绿原酸介稳区与搅拌速率的关系 Fig.7 Metastable zone width of chlorogenic acid in water as a function of stirring rate |
(1) 采用连续动态法测定了绿原酸分别在乙醇和水中的溶解度和超溶解度数据,得到绿原酸的溶解度曲线和不同降温速率、搅拌速率时的超溶解度曲线。
(2) 绿原酸分别在乙醇和水中的溶解度和超溶解度均随温度的升高而增加,介稳区宽度随温度降低,降温速率增大及搅拌速率减小而变宽。在降温速率12℃⋅h-1,搅拌速率300 r⋅min-1条件下,绿原酸在乙醇中介稳区宽度为3.7~6.3℃,而水中为3.7~8.0℃。
(3) 实验结果显示绿原酸在分离和结晶纯化时,选用乙醇为溶剂,降温速率12℃⋅h-1和搅拌速率300 r⋅min-1条件下介稳区较宽有利于产品的洗涤与纯化。
| [1] | LI Yu-shan(李玉山). Advances in technology and distribution purified extract of chlorogenic acid in natural plant(绿原酸在天然植物中的分布和提取纯化工艺研究进展)[J]. Pharmaceutical Journal of Chinese People's Liberation Army(解放军药学学报) , 2012, 28(4): 355-359. |
| [2] | WU Jiang-tao(吴江涛). The biological activity of chlorogenic acid and its application(绿原酸的生物活性及其应用)[J]. Modern Agricultural Science and Technology(现代农业科技) , 2009(19): 349-350. DOI:10.3969/j.issn.1007-5739.2009.19.242. |
| [3] | XI Li-sha(席利莎), MU Tai-hua(木泰华), SUN Hong-nan(孙红男). Progresses in the research of chlorogenic acids(绿原酸在天然植物中的分布和提取纯化工艺研究进展)[J]. Journal of Nuclear Agricultural Sciences(核农学报) , 2014, 28(2): 292-301. DOI:10.11869/j.issn.100-8551.2014.02.0292. |
| [4] | HUANG Lin(黄林), TANG Ju-li(唐菊利), HUANG Jing(黄静), et al. Advances in extraction of chlorogenic acid and applicationst(绿原酸提取与应用研究进展)[J]. Work Research of University Laboratory(高校实验室工作研究) , 2012, 113(3): 114-117. |
| [5] | CHEN Yuan(陈媛), TANG Tie-xin(唐铁鑫), CHEN Jin-long(陈金龙), et al. Preparation of highly pure chlorogenic acid from lonicera confusa(高效率高纯度绿原酸制备工艺研究)[J]. Natural Product Research and Development(天然产物研究与开发) , 2014, 26(9): 1503-1509. |
| [6] | Wang L C, Wang H Y, Zhao J H, et al. Solubility of dimethyl fumarate in methanol, ethanol, 1-propanol, 2-propanol, 1, 2-propanediol, and water from (289.95 to 347.15) K[J]. Journal of Chemical and Engineering Data , 2011, 56(2): 356-357. DOI:10.1021/je100964a. |
| [7] | Wang L C, Wang F A. Solubility of niacin in 3-picoline plus water from (287.65 to 359.15) K[J]. Journal of Chemical and Engineering Data , 2004, 49(1): 155-156. DOI:10.1021/je034165+. |
| [8] | Wang L C, Ding H, Zhao J H, et al. Solubility of isonicotinic acid in 4-methylpyridine plus water from (287.65 to 361.15) K[J]. Journal of Chemical and Engineering Data , 2008, 53(11): 2544-2546. DOI:10.1021/je800352u. |
| [9] | Apelblat A, Manzurola E. Solubilities of o-acetylsalicylic, 4-aminosalicylic, 3, 5-dinitrosalicylic, and p-toluic acid, and magnesium-DL-aspartate in water from T=(278 to 348) K[J]. Journal of Chemical Thermodynamics , 1998, 31(1): 85-91. |
| [10] | ZHU Lu-jia(朱路甲), JIN Jian-long(靳建龙), LIU Ying(刘颖). Research on solubility and crystallizing metastable area of xylitol(木糖醇溶解度和结晶介稳区的研究)[J]. China Food Additives(中国食品添加剂) , 2005, 35(2): 35-36. |
| [11] | LIN Jing(林晶), DANG Ya-gu(党亚固), FEI De-jun(费德君), et al. Research on crystallization metastable zone of ammonium dihydrogen phosphate(磷酸二氢铵结晶介稳区的研究)[J]. Inorganic Chemicals Industry(无机盐工业) , 2007, 39(10): 21-23. DOI:10.3969/j.issn.1006-4990.2007.10.007. |


