扩展功能
文章信息
- 杨济匡, 孔成, 肖志
- YANG Ji-kuang, KONG Cheng, XIAO Zhi
- 高速公路双波护栏对客车碰撞的防护性能仿真研究与改进
- Simulation and Improvement of Protective Performance of Expressway W-beam Guardrail against Bus Collisions
- 公路交通科技, 2014, 31(10): 134-140
- Journal of Highway and Transportation Research and Denelopment, 2014, 31(10): 134-140
- 10.3969/j.issn.1002-0268.2014.10.022
-
文章历史
- 收稿日期:2014-2-12
我国现有的高速公路护栏主要是按照1994年颁布的《高速公路交通安全设施设计及施工技术规范》(JTJ 074—1994)而设置的[1],而交通部于2006年颁布实施的《公路交通安全设施设计规范》(JTG/TD81—2006)[2]中规定的护栏在部件厚度和局部细节上与文献[1]有所不同,值得研究。
前人对护栏的耐撞性做了大量的研究,最初是采用实车足尺寸护栏碰撞试验[3]和缩尺寸模型试验[4]。随着计算机技术的发展,后人逐渐使用计算机仿真分析方法对护栏的耐撞性进行分析,Miller和Carney III[5]介绍了使用LS-DYNA程序模拟在重型车和轻型车的高速碰撞下,碰撞衰减系统NCIAS的吸能特性。其后,黄红武、雷正保等人先后研究了轿车或货车与护栏碰撞的安全性[6,7,8]。毛娟娟使用简化的客车模型进行了客车与护栏碰撞耦合问题的研究[9],而后针对客车碰撞的护栏研究缺少。
近几年,高速公路上客车发生重大交通事故仍然屡见不鲜。针对这一现象,本文利用有限元分析方法,建立了两种双波护栏和现代某客车有限元模型,并对模型进行了验证,根据《公路交通安全设施设计规范》设置一定碰撞条件,得出客车的加速度曲线[10]、运行轨迹、能量以及护栏的动态位移图[11]。研究分析D81法规中两种护栏的防护性能,探究护栏存在的不足,并分别对A级和B级护栏进行了结构改进设计,以求最大限度地降低客车与护栏碰撞的人员伤亡和财产损失。 1 有限元模型的建立 1.1 车辆模型建立
客车模型如图 1所示。客车模型参数如下:
(1)本客车长宽高分别为:10 490 mm×2 550 mm×3 600 mm。
(2)车体整备质量为:9 856 kg。
(3)只考虑了骨架结构,对蒙皮的影响不予考虑,材料采用Q235碳素钢。
(4)发动机、车桥、油箱、变速箱、转向机构、悬架、乘员和座椅等,都以集中质量的形式,布置在相应部位上。
(5)模型的网格大小为20 mm,这样既保证了精度,又节约了运算时间。
(6)客车分为735个部件(骨架杆件和轮胎等),由395 011个网格,341 503个节点构成。
|
| 图 1 客车模型 Fig. 1 Bus model |
护栏按照JTG/TD81—2006标准建立模型。护栏的结构参数如表 1所示。
| 防撞等级 | 波梁 | 防阻块/托架 | 立柱 |
| A | 310×85×4 | 196×178×200×4.5 | Φ140×4.5 |
| B | 310×85×3 | 300×70×4.5 | Φ114×4.5 |
构造模型过程:运用Pro/ENGINEER软件建立几何模型,生成*.iges文件,导入HyperMesh平台中建立有限元模型。护栏单元类型采用*SECTION-SHELL四节点壳体单元,选用BWC(Belytschko-Wong-Chiang)单元算法。模型采用*MAT_PIECEWICE _LINEAR_PLAS-TICITY(24号)弹塑性材料类型,护栏材料参数为:密度P=7.865×103 kg/m3,弹性模量E=2.0×105 MPa,泊松比 μ=0.27,屈服应力σs=310 MPa,剪切模量G=763 MPa,应变率参数C=40,P=5。护栏整体长度为80 m,总共20跨,立柱间距为4 m,且波梁作为一个整体部件来连接。同时,立柱、防阻块或托架、波梁之间均采用beam单元的焊点连接,并定义焊点所承受的轴向力破坏极限值和剪切力破坏极限值NrrF,NrsF分别为70 kN和45 kN[5]。护栏模型见图 2。
|
| 图 2 护栏模型(单位:mm) Fig. 2 Guardrail models(unit:mm) |
地面以刚性墙(rigid wall)为代表,轮胎与地面之间的摩擦系数为0.7。护栏和车体均设置了自接触,自接触的静态摩擦系数和动态摩察系数均设为0.2,护栏上使用的beam焊点设置了点对面接触(*CONTACT_TIED_SHELL_EDGE_TO_SURFACE)。护栏和车体间设置了面对面接触(*CONTACT_AUTOMATIC_SURFACE_TO_SURFACE),摩擦系数设为0.15[7]。 2 模型可靠性的验证
通过对客车在侧翻情况下的能量、立柱加速度曲线分析和护栏的冲击载荷下的数据对比分析,来分别验证客车模型和护栏模型的可靠性。 2.1 客车能量和立柱加速度分析
图 3是客车侧翻仿真的能量曲线,图 4是客车侧翻仿真与《客车侧翻试验及评价方法研究》中第二立柱加速度试验曲线的对比图。
|
| 图 3 侧翻能量曲线 Fig. 3 Rollover energy curves |
|
| 图 4 侧翻仿真与试验中第二立柱加速度曲线 Fig. 4 Curves of acceleration of 2nd column in rollover simulation and experiment |
从图 3可以得出,客车FE模型的沙漏能明显在总能量的3%以内。沙漏变形的大量出现会使结果无效,限定总体沙漏能不超过模型总体能量的3%可保证仿真模型的可靠性。同时,将客车模型进行质量缩放为《客车侧翻试验及评价方法研究》中的客车模型质量7.6 t,进行相同法规[12]的侧翻仿真,得到图 4的加速度曲线。由图 4可见:二者的第二立柱加速度曲线走势一致,最大加速度值发生在40 ms之前,最大值误差为2.6%,在120 ms后加速度值基本收敛趋于零值[12]。这进一步说明了客车模型是可信的。 2.2 护栏模型的验证
建立A级护栏冲击载荷试验的有限元模型,如图 5所示。其中护栏设置参数同上,加载头使用刚体单元(*MAT 20)模拟。加载头的质量为17.758 kg,以4 m/s的速度冲击护栏中部,护栏立柱的底部用全约束固定,以模拟在混泥土中的固定端支座情况[4]。
|
| 图 5 A级护栏冲压有限元模型 Fig. 5 FE model of guardrail A under impact |
得出护栏的吸能随加载头位移变化的仿真和试曲线如图 6所示。通过分析图 6可知:护栏模型冲压有限元仿真所得吸能结果与参考文献[4]的试验结果接近。护栏吸能最大值在145 J左右,与试验的147 J近似。而且曲线的走势也基本相同,因而认为护栏模型可靠。B级护栏的材料、属性及参数设置与A级护栏一致,故其可靠性同A级护栏相近。
|
| 图 6 试验与仿真的护栏吸能对比曲线 Fig. 6 Comparison curves of guardrail energy absorption between experiment and simulation |
综上所述,客车及护栏模型均进行了验证,且都证明了其可靠性。
3 仿真分析 3.1 仿真条件
按照《公路交通安全设施设计规范》的要求,建立护栏碰撞条件如表 2所示,且客车与护栏的初始碰撞位置取在护栏中部的相邻两立柱中间。
| 防撞等级 | 碰撞速度/ (km·h-1) | 车辆质量/t | 碰撞角度/ (°) | 碰撞能量/ kJ |
| B | 40 | 10.0 | 20 | 70 |
| A | 60 | 10.0 | 20 | 160 |
根据安全法规[11]的描述,车体三个方向的加速度值可以作为评价车内乘员防护性能的指标,当车体三个方向加速度数值均小于或等于20g时,不会对车内乘员造成严重伤害。车体加速度采样频率为10 Hz[13],仿真加速度结果曲线经滤波处理。得到两种护栏碰撞下的车体加速度曲线见图 7。
|
| 图 7 客车与护栏碰撞的加速度曲线 Fig. 7 Acceleration curves of bus collision to guardrail |
从图 7可以测得,客车与B级护栏相撞后的X,Y,Z三轴加速度最大值分别为:8.21g,1.52g和1.04g,客车与A级护栏相撞后的X,Y,Z三轴加速度最大值分别为:11.61g,-3.466g和-1.31g,均满足法规要求,故两种护栏在保护乘员方面均有所改善。同时,与A级护栏相撞后,客车的各向加速度均比与B级护栏相撞的加速度大。这是因为一方面A级护栏的整体刚度比B级护栏的刚度强。另一方面客车与A级护栏的碰撞速度更大。能量更大,因而碰撞力也更大,根据牛顿第一定律,加速度和作用力成正比,可证客车与A级护栏相撞的各向加速度都大于与B级护栏相撞的各向加速度是合理的。 3.2.2 客车运行轨迹及能量分析
客车与护栏碰撞后,容易发生骑跨、冲出护栏、侧翻等危险情况,因此法规中明确规定了车辆运行轨迹是判断护栏对大型车辆防护能力的重要评价指标之一。图 8为不同时刻客车分别与两种护栏碰撞的运行轨迹图。
|
| 图 8 不同时刻客车分别与两种护栏碰撞的运行轨迹图 Fig. 8 Trajectories of bus collision to 2 types of guardrail in different time |
在客车与两种护栏的碰撞过程中,护栏保持了很好的完整性,客车没有与护栏发生骑跨阻绊或冲出护栏的现象,客车转向平滑,这显示了护栏对客车的良好防护能力和导向能力[14]。图 8可以分析出客车与A级护栏的碰撞速度较快,护栏变形大,而且在整个碰撞过程中,客车基本紧贴护栏,受到护栏的良好防护,在800 ms左右,客车与护栏形成平行角度,随后继续发生被动转向,最终发生车尾的二次碰撞。而客车与B级护栏的碰撞速度较慢,护栏变形较小,在碰撞时间为800 ms左右,客车前部的碰撞处就基本和护栏发生分离,并导致尾部最终未与护栏发生二次碰撞。但与A级护栏相比,客车与B级护栏碰撞后车头碰撞处变形明显更严重,如图 9所示。针对B级护栏对客车前部变形严重的现象,进一步对护栏及车辆的吸能进行研究。
|
| 图 9 客车与A,B级护栏碰撞后前部变形图 Fig. 9 Deformations of front of bus collided with guardrail A and guardrail B |
图 10的曲线显示的是客车分别与A,B级护栏碰撞的吸能曲线。可以得到客车分别与A,B级护栏相撞的最大吸能值为28.5 kJ和63.5 kJ,由于客车的吸能靠的是变形吸能,所以这个数据很好地解释了客车与B级护栏碰撞变形更大的原因。其次,图 10还得到了A,B级护栏的吸能分别为166.7 kJ和47.7 kJ,占各自总吸能的84.8%和41.4%。
|
| 图 10 客车与护栏碰撞的吸能曲线 Fig. 10 Energy absorption curves of bus in collision with guardrail |
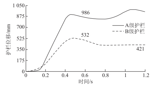
护栏的最大动态变形量也是评价护栏防护性能的一个重要指标,由于客车具有质量大、惯性大的特点,与护栏相撞往往会使护栏产生大变形甚至冲出护栏,这些对客车的危害是相当巨大的。如图 11所示,仿真分析得到两种护栏的最大动态变形量分别为532 mm和986 mm。两种护栏的最大动态变形量均小于法规规定的1 000 mm,但A级护栏的最大变形量逼近法规允许值,防护性能较差。A级护栏的位移曲线有两个波峰,是因为客车的车头和车尾分别与护栏发生了碰撞。
|
| 图 11 A,B级护栏动态位移曲线图 Fig. 11 Dynamic displacement curves of guardrail A and guardrail B |
从吸能对比可以得出A级护栏的吸能能力强,具有很好的保护客车及其乘员的防护性能;而B级护栏的吸能能力弱,不能很好的保护客车及其乘员的安全。B级护栏由于其波梁厚度较薄、托架结构不利于吸能、立柱直径小等特性,决定了其吸能能力偏弱,因此建议增加防阻块结构(与A级护栏结构相似),这样才能真正起到切实地保护客车及其乘员安全的作用。
而A级护栏与客车相撞后的最大动态位移达到了986 mm,与法规值1 000 mm十分接近。这种沿护栏垂直方向的大变形往往伴随着护栏防护高度的下降,这一方面增加了客车发生骑跨现象的危险,另一方面增加了客车发生绊翻的几率。所以希望通过改进A级护栏结构,以此提高A级护栏结构强度,更好地防止客车冲出护栏或发生侧翻造成更严重的损伤。为了减小护栏最大动态变形量,国内外目前普遍采用的方法是减小立柱间距(如2 m)、设置双条波梁等,这些方法虽然都增加了护栏的刚度,但刚度过大对于护栏的吸能是不利的,于是提出采用与B级立柱嵌套的新型护栏方法(图 12)。这种结构借鉴于钢板弹簧的变刚度设计,可以让护栏前期刚度较软利于吸能,后期刚度较硬防止倒伏而绊翻客车。这种结构不用增加防阻块及螺栓的使用,并运用已有的B级护栏立柱型号,降低了成本和安装的时间,具有很高的实用性。B级护栏改进前后的吸能曲线及A级护栏改进前后的动态位移曲线分别如图 13所示。
|
| 图 12 改进后A级护栏模型 Fig. 12 Improved model of guardrail A |
|
| 图 13 改进前后B级护栏吸能曲线 Fig. 13 Energy absorption curves of guardrail B pre and post improvement |
由图 13可以明显看出,B级护栏吸能从先前的47.67 kJ增加到了68.32 kJ,吸能能力提高了43.33%。说明增加防阻块结构可以大大增加护栏的吸能能力,从而防止护栏对客车的破坏作用,起到很好的保护车内人员的作用。
图 14显示,改进后的护栏最大动态变形量为898 mm,小于改进前的986 mm,表明改进后的A级护栏可以有效减少最大动态变形量,这样可以降低客车发生骑跨和绊翻等危险现象的概率。图中还显示,在0.1~0.3 s,改进后护栏的位移变化速率大于改进前护栏的速率,这表明前期改进后的护栏刚度较低,有利于变形吸能;而在0.3~0.45 s,改进后的护栏位移变化速率小于改进前的,这就说明后期改进后的护栏刚度明显增加,有效防止客车发生骑跨和绊翻。这克服了设计护栏时的最大矛盾:既希望护栏利于变形吸能,又希望护栏有足够的刚度防止护栏倒伏引起的骑跨和绊翻。这对减小碰撞事故中的人员损伤和财产损失是十分有利的。
|
| 图 14 改进前后A级护栏动态位移曲线图 Fig. 14 Dynamic displacement curves of guardrail A pre and post improvement |
通过对《高速公路交通安伞设施设计及施工技术规范》中的两种双波护栏在客车碰撞中的防护性能仿真和改进分析,得出以下结论:
(1)法规中的A,B级护栏的防护性能均存在一定的不足。B级护栏的吸能能力较弱,不能很好地吸收碰撞的能量,造成客车车头的变形损坏大;A级护栏的结构强度偏软,产生的最大变形量较大,增加了客车发生骑跨现象和绊翻现象的风险。
(2)对B级护栏增加防阻块结构后,其吸能特性明显改善,有利于保证客车的完整性和车内人员的生存空间。
(3)对A级护栏采用新型组合式立柱的改进结构,不仅改善了护栏评价指标中的最大动态变形量,而且有利于护栏的前期吸能和避免后期阻绊或骑跨现象的发生,对双波护栏的防护性能改进有着重要作用。
| [1] | JTJ 074—94, 高速公路交通安全设施设计及施工技术规范[S]. JTJ 074—94, Specification for Design and Construction of Expressway Safety Appurtenances [S]. |
| [2] | JTG/T D81—2006, 公路交通安全设施设计细则[S]. JTG/T D81—2006, Guidelines for Design of Highway Safety Facilities [S]. |
| [3] | 王康臣,张颖,吕洪燕.新型中央分隔带波形梁护栏研究[J].公路,2003,6(8):40-45. WANG Kang-chen, ZHANG Ying, LV Hong-yan. Research of New W-beam Guardrail at Medium Strip [J]. Highway, 2003,6(8):40-45. |
| [4] | 赵甲荐,魏德敏,唐立群.冲击荷载下高速公路护栏的实验研究和优化分析[J].华南理工大学学报,2005, 33(11): 98-103. ZHAO Jia-jian, WEI De-min, TANG Li-qun. Experimental Investigation and Optimized Analysis of Highway Guardrails under Impact Loads [J]. Journal of South China University of Technology:Natural Science Edition, 2005, 33(11): 98-103. |
| [5] | 雷正保.大变形结构的耐撞性[D]. 长沙:中南大学, 2004: 13,24-34. LEI Zheng-bao. Crashworthiness of Structure with Large Displacement and Large Deformation [D].Changsha: Central South University, 2004:13, 24-34. |
| [6] | 黄红武,莫劲翔,杨济匡,等.影响护栏防护性能的相关因素研究[J].湖南大学学报:自然科学版,2004,31(2):45-47,59. HUANG Hong-wu, MO Jin-xiang, YANG Ji-kuang, et al. Research on Correlative Factors of the Protective Performance of W-Beam Guardrail [J]. Journal of Hunan University:Natural Science,2004,31(2):45-47,59. |
| [7] | 雷正保,杨兆.汽车-护栏碰撞系统的安全性研究[J].汽车工程,2006,28(2):152-158,180. LEI Zheng-bao, YANG Zhao. A Study on the Safety in Vehicle-guardrail Impact [J]. Automotive Engineering, 2006,28(2) :152-158,180. |
| [8] | 黄红武,刘正恒,钟志华,等.汽车与高速公路护栏碰撞的计算机仿真[J].机械工程学报,2003,39(11):130-135. HUANG Hong-wu, LIU Zheng-heng, ZHONG Zhi-hua, et al. Computer Simulation on Car-highway Barriers Impact[J]. Chinese Journal of Mechanical Engineering,2003,39(11):130-135. |
| [9] | 毛娟娟.客车与半刚性护栏碰撞的有限元分析与模拟[D].大连:大连理工大学,2008. MAO Juan-juan. Numerical Simulation and Analysis of Semi-rigid Guardrail When Crashed with Bus [D]. Dalian:Dalian University of Technology, 2008. |
| [10] | 乔希永,张国胜,王成虎,等.基于车辆-护栏碰撞的乘员风险评价方法[J].公路交通科技,2013,30(4):155-158. QIAO Xi-yong, ZHANG Guo-sheng, WANG Cheng-hu, et al. A Method of Occupant Risk Evaluation Based on Vehicle-guardrail Impact [J]. Journal of Highway and Transportation Research and Development, 2013,30(4):155-158. |
| [11] | JTG/T F83—01—2004,高速公路护栏安全性能评价标准[S]. JTG/T F83—01—2004, The Evaluation Specification for Highway Safety Barriers [S]. |
| [12] | 卢强,方锡邦.客车侧翻试验及评价方法研究[J].客车技术,2006(5):25-29. LU Qiang, FANG Xi-bang. The Research of the Bus Roll-over Test and Evaluation Methods [J]. Bus Technology, 2006(5): 25-29. |
| [13] | 刘建勋,唐辉,张翼峰,等.半刚性双波护栏与双条半刚性护栏防撞性能仿真对比[J]. 重庆交通大学学报:自然科学版,2012,31(2):281. LIU Jian-xun, TANG Hui, ZHANG Yi-feng, et al. Crashworthiness Simulation Comparison between Semi-rigid Double-wave Guardrails and Double-bar Semi-rigid Guardrail[J]. Journal of Chongqing Jiaotong University:Natural Science Edition,2012, 31(2): 281. |
| [14] | TANG H, MEN Y, GUO Q, et al. Passengers' Safety Evaluation Research Based on Vehicle with Freeway Guardrail Impact[C] //The FISITA 2012 World Automotive Congress. Heidelberg: China & Foreign Highway Press, 2013: 733-74. |
2014, Vol. 31
