在我国,家用空调每年消耗1 000亿度电,在夏天消耗30%的用电高峰的电量. 换热器(蒸发器和冷凝器)作为空调系统中的关键部件之一,实现不同温度流体间热量传递,其中,蒸发器是直接产生冷量的部件,蒸发器的改进在提高空调能效中扮演着重要角色,具有巨大的节能潜力.
目前,普通蒸发器存在前段蒸发区域制冷剂干度过低和后段蒸发区域制冷剂干度过高的现象,造成换热效率低以及传热恶化,因此很多研究都在探索如何控制制冷剂干度来提高蒸发器的传热效率[1-4].
Peng等[5-9]基于冷凝提出一种气液分离、中间排液的强化传热新思路. 通过合理设计换热器管程,利用多孔分液隔板漏液阻气技术,使得进入每个流程的制冷剂干度都得到控制,从而达到强化传热的目的,且能提高流量分配的均匀性.
本文提出一种气液分离、干度调控的强化蒸发传热思路. 将整个换热区域分为前、中、后三段区域,利用气液分离作用来提高蒸发前段区域内的制冷剂干度、保持蒸发中段高效换热的制冷剂干度、降低蒸发后段区域内的制冷剂干度,达到扩大高效换热区域的目的,从而提高蒸发器的整体换热效率,并且通过流量分配来提高换热的均匀性和降低压降. 本文设计了一种分液蒸发器,在其两侧联箱内设计具有气液分离作用的分液隔板. 通过分液作用控制蒸发区域内制冷剂干度,使高效换热区域扩大从而提升蒸发器的换热系数;通过分液作用和管程分布,使流量分配均匀从而降低压降,最终达到提高蒸发器整体性能的效果. 通过对该蒸发器进行仿真模拟,并进行实验验证,利用所建立的模型分析管程分布对于分液蒸发器性能的影响.
1 计算模型及设计流程图 1.1 假设条件(1) 假设制冷剂在管内流动是一维、稳定状态.
(2) 制冷剂流量分配均匀,即相同流程里每根换热管的制冷剂质量流速相等.
(3) 假定每一流程的分液效果良好,大部分液体通过分液隔板滴落到联箱下部,使每一流程的制冷剂入口干度均可控.
1.2 数学模型| $\frac{{{a_r}}}{{{a_l}}} = {C_1}{\left( {{C_0}} \right)^{{c_2}}}{\left( {25F{r_l}} \right)^{{C_5}}} + {C_3}{\left( {{B_0}} \right)^{{C_4}}}{F_{fl}}.$ | (1) |
| ${a_l} = 0.023{\left( {\frac{{g\left( {1 - x} \right){D_i}}}{{{\mu _l}}}} \right)^{0.8}}\frac{{Pr_l^{0.4}{\lambda _l}}}{{{D_i}}}.\quad\quad$ | (2) |
| ${C_0} = {\left( {\frac{{1 - x}}{x}} \right)^{0.8}}{\left( {\frac{{{\rho _g}}}{{{\rho _l}}}} \right)^{0.5}}.\quad\quad\;\quad\quad\quad\quad$ | (3) |
| ${B_0} = \frac{q}{{gr}}.\quad\quad\quad\quad\quad\quad\quad\quad\quad\quad\quad\quad$ | (4) |
| $F{r_l} = \frac{{{g^2}}}{{9.8\rho _l^2{D_i}}}.\quad\quad\quad\;\;\quad\quad\quad\quad\quad\quad$ | (5) |
其中Ffl是取决于制冷剂性质的无量纲数,当制冷剂为R22时,Ffl值取2.2;Frl是液相弗劳德数;ar是管内蒸发两相表面传热系数,W/(m2·K);al是液相单独流过管内的表面传热系数,W/(m2·K);g是质量流率,kg/(m2·s);q是按管内表面计算的热流密度,W/m2;B0是沸腾特征数;r是潜热,J/kg;x是制冷剂干度;ρg是气相密度,kg/m3;ρl是液相密度,kg/m3;Di是管内直径,m;μl是液相动力黏度,Pa·s;λl是液相热导率,W/(m·K);Prl是液相普朗特数;C0为对流特征数,C1、C2、C3、C4和C5为常数,它们的值取决于C0的大小,当C0<0.65时,C1=1.136、C2=–0.9、C3=667.2、C4=0.7、C5=0.3;当C0>0.65时,C1=0.668 3、C2=–0.2、C3=1 058.0、C4=0.7、C5=0.3.
制冷剂在管内流动时,总的流动阻力Δp0包括沿程阻力Δpn及局部阻力Δpm两部分[12-13],即
| ${\rm{\Delta }}{p_0} = \Delta {p_n} + {\rm{\Delta }}{p_m}.\quad\quad\quad\quad\;\;\;\quad\quad$ | (6) |
| ${\rm{\Delta }}{p_n} = \psi \Delta {P_{{\rm{Sat}}}}.\quad\quad\;\quad\quad\quad\quad\quad\quad$ | (7) |
| $\Delta {P_{{\rm{Sat}}}} = \xi \left( {\frac{l}{{{D_i}}}} \right)\frac{1}{2}{\left( {{u_{{\rm{Sat}}}}} \right)^2}{\rho _{{\rm{Sat}}}}.\quad\quad\quad$ | (8) |
| $\xi = \frac{{0.316\;4}}{{{{\left( {R{e_{{\rm{Sat}}}}} \right)}^{0.25}}}}.\quad\quad\quad\quad\quad\quad\quad\quad$ | (9) |
| $R{e_{{\rm{Sat}}}} = \frac{{{u_{{\rm{Sat}}}}{D_i}}}{{{v_{{\rm{Sat}}}}}}.\quad\quad\quad\quad\quad\quad$ | (10) |
| ${u_{{\rm{Sat}}}} = \frac{{4{q_m}}}{{{\rho _{{\rm{Sat}}}}{Z_m}\left( {\pi D_i^2} \right)}}.\quad\quad\quad\quad$ | (11) |
| $\Delta {p_0} = 2.5\Delta {p_n}.\quad\quad\quad\quad\quad\quad$ | (12) |
其中ΔPSat是制冷剂饱和蒸气流动时的沿程阻力,Pa;ξ是沿程阻力系数;l是传热管长度,m;uSat是制冷剂饱和蒸气的流速,m/s;ρSat是制冷剂饱和蒸气的密度,kg/m3;vSat是制冷剂饱和蒸气的运动黏度,m2/s;qm是制冷剂的质量流量,kg/s;Zm是每流程的平均管数;ReSat是制冷剂饱和蒸气的雷诺数;ψ是两相流动时的阻力换算系数,当制冷剂为R22时,ψ值取0.67.
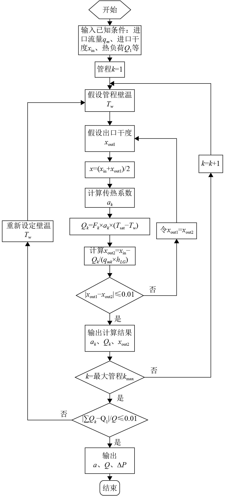
1.3 计算流程分液蒸发器的性能计算流程如图1所示,已知条件有:进口流量qm、进口干度xin、蒸发温度TSat、热负荷Q1、工质物性参数(由蒸发温度确定)以及分液蒸发器的管程分布. 分液蒸发器中的制冷剂截面质量流量和管程间的干度是非连续变化的,因此整个蒸发器的传热系数和压降需划分流程后逐程计算. 首先计算第一管程,令管程数k取1,假设第一管程的出口制冷剂干度值xout1和管壁温度Tw,得出平均干度x、相变潜热hLG和该管程换热面积Fk等参数,再平均分配质量流量计算得到管程中每根管内的工质质量流量qmk. 根据管内蒸发传热公式分别进行计算迭代,得到第一流程的管内平均传热系数ak、换热量Qk、出口干度xout2,如果xout2和xout1的偏差值超出设定的范围,则令xout1取xout2的值并重新进行迭代计算,直到计算的xout2达到预设的偏差范围时,输出xout2为下一个管程的工质进口干度,按同样的方法进行下一管程计算. 当管程数k达到最大值kmax时,如果所有管程的总换热量∑Qk与热负荷Q1的偏差值超出设定的范围,则重新设定壁温后继续迭代计算,直到计算的总换热量达到预设的热负荷偏差时,迭代计算结束,并输出所有管程的总换热量Q、平均传热系数a以及压降ΔP.
|
图 1 分液蒸发器计算流程图 Figure 1 Schematic diagram of vapor-liquid separation evaporator optimization |
分液蒸发器热力性能计算程序界面如图2所示,图中程序界面分为3个部分:制冷剂物性、换热管参数、热力性能计算结果. 其中换热管参数根据蒸发器设计的需要进行输入,制冷剂物性部分则通过关联制冷剂物性软件REFPROP9.1[14]根据初始设定值而获得,热力性能计算部分采用分管程独立计算设计,可按照排列组合的法则穷尽所设定总管数和管程布置来计算分液蒸发器的热力性能,同时管程的制冷剂进口干度可在0.0~1.0之间任意选择.
|
图 2 计算软件界面图 Figure 2 Interface of program |
分液蒸发器主要由换热管、联箱以及百叶窗式翅片3部分构成,联箱中设有多个分液隔板,将不同数目的换热管划分成不同的管程,形成了若干管程串联的分液蒸发器结构,图3为一个12管程的蒸发器结构示意图及实物图.
本文研究的分液蒸发器由24根换热管组成,分成12个管程,每程换热管数目依次为4-3-3-2-2-2-2-2-1-1-1-1. 制冷剂由上侧入口管流进联箱后,分流至第1管程的4根换热管,经过蒸发传热后在另一端的联箱流出,制冷剂重新分配进入第2管程的3根换热管,再依次经过剩余管程,最终流出蒸发器.
|
图 3 分液蒸发器 Figure 3 The vapor-liquid separation evaporator |
图4是空冷式翅片换热器测试平台,测试平台由3个循环构成,分别是制冷剂循环、冷却水循环以及空气测量与处理循环. 当气态制冷剂从压缩机排出,分别经过冷凝器、过滤器、储液罐、过冷器、质量流量计、加热管、电子膨胀阀,随后制冷剂进入测试蒸发器和气液分离器,最后重新回到压缩机. 空气侧为一个恒温恒湿的实验房间, 实验装置主要包括:空气处理机组、加湿器、加热器、循环风机、空气干湿球测温装置、风洞及风量测量装置. 在风量测量的出口位置连接一台变频风机调节风量.
实验条件如表1所示,由于国内商用空调上广泛采用的是R22制冷剂,为了匹配蒸发器相对应的压缩机,实验选用R22为测试工质. 实验开始以及进行过程中,设定空气的目标温度(本研究采用国家家用空调测试标准中的名义工况环境温度),干球温度为35 ℃,湿球温度为24 ℃,并通过空气处理系统调节空气的温度和相对湿度,使恒温室环境保持在设定温度. 本实验分别选用15、20、25、30 g/s作为蒸发器进口质量流量,待工况稳定后进行数据测量.
|
图 4 翅片式换热器测试系统原理图 Figure 4 Schematic diagram of finned tube heat exchanger measurement System |
| 表 1 实验测试参数 Table 1 Test parameter |
考虑实验设备的测量精度,对实验参数进行不确定性分析[15]. 具体测量精度见表2.
| 表 2 实验仪器测量精度 Table 2 Uncertainty of the measuring apparatus |
实验中,蒸发器换热系数a的计算采用公式(13):
| $a = \frac{Q}{{A\left( {{T_{{\rm{Sat}}}} - {T_w}} \right)}}.$ | (13) |
其中,A为换热面积,m2;Q为设定热负荷,W;TSat为制冷剂饱和蒸发温度,℃;Tw为管壁温度,℃;实验中通过红外热成像仪测得的Tw数据如图5所示.
|
图 5 红外成像仪测试数据 Figure 5 The test date of Infrared Thermal Image Instrument |
为验证采用本文所采用的分液蒸发器的模型,比较分液蒸发器传热系数和压降的计算结果与实验数据的差异,选用一个管程分布4-3-3-2-2-2-2-2-1-1-1-1的分液蒸发器,分别考察了质量流量为15、20、25和30 g/s工况下,分液蒸发器的传热系数计算值、压降计算值与实验值之间的偏差情况,结果如图6和图7所示.
|
图 6 换热系数对比图 Figure 6 Comparison of experimental and calculated heat transfer coefficient |
由图6和图7可知,在所研究的质量流速范围内,传热模型计算得到的分液蒸发器的计算值与实验数据的整体规律性及吻合程度较好,传热系数的计算值与实验值的偏差为3.8%~28%,压降的计算值与实验值的偏差为4.0%~29%. 且随质量流量的增加,分液蒸发器的传热系数和压降也增加.
|
图 7 压降对比图 Figure 7 Comparison of experimental and calculated pressure drop |
通过上述计算程序计算对比5种不同管程的蒸发器热力性能,选取8-6-6-4-4-4-4-4-2-2-2-2、8-8-6-6-6-4-4-2-2-2、10-8-8-6-6-4-4-2、14-10-10-6-4-4和16-12-12-8 5种管程. 图8所表示的是5种分液蒸发器在R22的饱和温度为8℃,质量流速范围为15~40 g/s时平均换热系数的比较. 当蒸发器进口的质量流速由35 g/s增至40 g/s时,8-6-6-4-4-4-4-4-2-2-2-2管程、10-8-8-6-6-4-4-2管程和16-12-12-8管程的换热系数分别增加了16.3%、14.7%和12.5%,表明管程较少时,分液蒸发器的换热系数受管程布置影响较小,而管程数增加时受管程布置影响随之增大. 此外当质量流速为40 g/s时,8-6-6-4-4-4-4-4-2-2-2-2管程和10-8-8-6-6-4-4-2管程的换热系数比14-10-10-6-4-4管程的换热系数分别高32.6%和52.8%,当质量流速为20 g/s时,8-6-6-4-4-4-4-4-2-2-2-2管程和10-8-8-6-6-4-4-2管程的换热系数比14-10-10-6-4-4管程的换热系数分别高27.6%和50.2%,表明质量流速增大了分液作用对换热系数的影响.
|
图 8 不同管程的换热系数 Figure 8 Heat transfer coefficient with tube arrangements |
图9所表示的是5种分液蒸发器在R22的饱和温度为8℃,质量流速范围为15~40 g/s时压降的比较. 当蒸发器进口的质量流速由15 g/s增至20 g/s时,8-6-6-4-4-4-4-4-2-2-2-2管程、10-8-8-6-6-4-4-2管程和16-12-12-8管程的压降分别增加了58.7%、60.6%和63.3%,当蒸发器进口的质量流速由35 g/s增至40 g/s时,8-6-6-4-4-4-4-4-2-2-2-2管程、10-8-8-6-6-4-4-2管程和16-12-12-8管程的压降分别增加了22.4%、22.6%和22.7%,表明随着质量流速的增大,质量流速对分液蒸发器压降的影响降低,这是因为联箱的储液作用将过多的制冷剂积累在联箱内,使在换热管内的质量流速降低,使得压降值减小,加上管程间气液分离的作用,减少了进入下一流程的制冷剂,压降进一步减小.
|
图 9 不同管程的压降图 Figure 9 Pressure drop with tube arrangements |
(1) 本文提出一种新型分液蒸发器,通过编程计算并进行实验验证,得到了其管内蒸发平均传热系数和压降,结果表明二者的偏差在30%以内.
(2) 质量流速范围为15~40 g/s时,管程较少时,分液蒸发器的换热系数受管程布置影响较小,而管程数增加时受管程布置影响随之增大. 此外当质量流速变大时,分液作用对换热系数的影响也增大.
(3) 质量流速范围为15~40 g/s时,质量流速对分液蒸发器的压降有较大的影响. 由于联箱的储液和分液作用,质量流速对分液蒸发器的影响随着质量流速的增大而降低.
| [1] | ZHANG X Y, JI C F, YUAN X L. Prediction method for evaporation heat transfer of non-azeotropic refrigerant mixtures flowing inside internally grooved tubes[J]. Applied Thermal Engineering, 2008, 28(14): 1974-1983. |
| [2] | CHOI T Y, KIM Y J, KIM M S, et al. Evaporation heat transfer of R-32, R-134a, R-32/134a, and R-32/125/134a inside a horizontal smooth tube[J]. Heat Mass Transfer, 2000, 43(19): 3651-3660. DOI: 10.1016/S0017-9310(00)00005-3. |
| [3] | BOISSIEUX X, HEIKAL M R, JOHNS R A. Two-phase heat transfer coefficients of three HFC refrigerants inside a horizontal smooth tube, part I: evaporation[J]. International Journal of Refrigeration, 2000, 23(5): 269-283. |
| [4] | CARLI M D, FIORENZATO S, ZARRELLA A. Performance of heat pumps with direct expansion in vertical ground heat exchangers in heating mode[J]. Energy Conversion and Management, 2015, 95(1): 120-130. |
| [5] | PENG X F, WU D, ZHANG Y. Applications and principle of high performances condensers[J]. Chemical Industry and Engineering Progress, 2007, 26(1): 97-104. |
| [6] | CAVALLINIA A, CENSIA G, COLA D D, et al. Condensation inside and outside smooth and enhanced tubes: a review of recent research[J]. Refrig, 2003, 26(4): 373-392. DOI: 10.1016/S0140-7007(02)00150-0. |
| [7] | CHEN Y, HUA N, DENG L S. Performances of a split-type air conditioner employing a condenser with liquid-vapor separation baffles[J]. Refrig, 2012, 735(2): 278-289. |
| [8] | ZHONG T M, CHEN Y, HUA N, et al. In-tube performance evaluation of an air-cooled condenser with liquid-vapor separator[J]. Applied Energy, 2014, 136(1): 4968-978. |
| [9] | CHUNG K, LEE K S, KIM W S. Optimization of the design factors for thermal performance of a parallel-flow heat exchanger[J]. Heat and Mass Transfer, 2002, 45(24): 4773-4780. DOI: 10.1016/S0017-9310(02)00195-3. |
| [10] | LOCKHART R W, MARTINELLI R C. Proposed correlation of data for isothermal two-phase, two-component flow in pipes[J]. Chem Eng Prog, 1949, 45(1): 39-48. |
| [11] | Kandlikar S G. A general correlation for saturated two-phase flow boiling heat transfer inside horizontal and vertical tubes[J]. Journal of Heat Transfer, 1990, 112(1): 219-228. DOI: 10.1115/1.2910348. |
| [12] | HARDIK B K, KUMAR G, PRABHU S V. Boiling pressure drop, local heat transfer distribution and critical heat flux in horizontal straight tubes[J]. International Journal of Heat and Mass Transfer, 2017, 113(1): 466-481. |
| [13] | XU Y, FANG X. A new correlation of two-phase frictional pressure drop for evaporating flow in pipes[J]. Refrig, 2012, 35(7): 2039-2050. DOI: 10.1016/j.ijrefrig.2012.06.011. |
| [14] | HIGASHI Y. NIST thermodynamic and transport properties of refrigerants and refrigerant mixtures (REFPROP)[J]. Netsu Bussei, 2000, 14(4): 1575. |
| [15] | ZHONG T M, CHEN Y, ZHENG W X, et al. Experimental investigation on microchannel condensers with and without liquid-vapor separation headers[J]. Applied Thermal Engineering, 2014, 73(2): 1510-1518. DOI: 10.1016/j.applthermaleng.2014.08.047. |
2018, Vol. 35

